
Overview:
These Altronix CCTV Power Supplies provide 24VAC or 28VAC distributed via four (4) fuse or PTC protected outputs
for powering CCTV cameras, heaters and other video accessories.
Four (4) Output ALTV244 Reference Chart:
Altronix
Model Number
Total
Output
Current
Output
Voltage
Number of
Outputs
PTC Protected
Outputs
Fuse Protected
Output
Output
Current
(max per
output)
Main
Fuse
Ratings
115VAC
50/60Hz
Input
Current
ALTV244 4A 24VAC
4
-P3.5A
5A/250V 0.9A
3.5A 28VAC
ALTV244CB 4A 24VAC P- 2.5A
3.5A 28VAC
ALTV244175 7.25A 24VAC -P3.5A
10A/250V 1.5A
6.25A 28VAC
ALTV244175CB 7.25A 24VAC P- 2.5A
6.25A 28VAC
ALTV244300 12.5A 24VAC -P3.5A
15A/32V 2.7A
10A 28VAC
ALTV244300CB 10A 24VAC P- 2.5A
10A 28VAC
Specifications:
Input:
• 115VAC, 50/60Hz.
Output:
• Four (4) fuse or PTC protected outputs.
• 24VAC or 28VAC supply current.
• Outputs are rated @ 3.5A (fused) or 2.5A (PTC).
• Surge suppression.
Features:
• Secondary fuse rated @ 5A/250V.
• AC power LED.
Features (cont’d):
• Power ON/OFF switch.
• Spare fuses provided.
(all models w/primary and/or secondary fuses).
Enclosure Dimensions:
• ALTV244 and ALTV244CB:
8.5” x 7.5” x 3.5” (215.9mm x 190.5mm x 88.9mm).
• ALTV244175, ALTV244175CB, ALTV244300, and
ALTV244300CB:
8.5” x 7.5” x 3.85” (215.9mm x 190.5mm x 97.9mm).
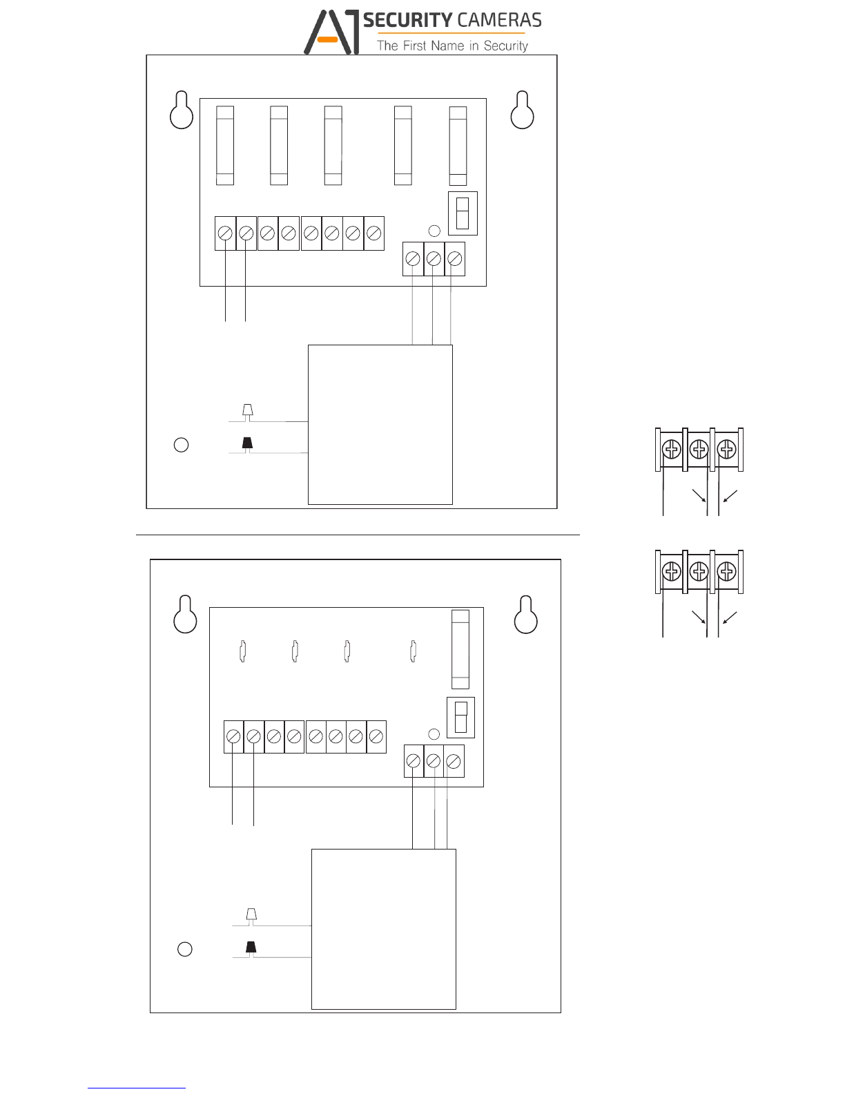
Installation Instructions:
1. Mount unit in the desired location. Mark and predrill holes in the wall to line up with the top two keyholes in the
enclosure. Install two upper fasteners and screws in the wall with the screw heads protruding. Place the enclosure’s
upper keyholes over the two upper screws; level and secure. Mark the position of the lower two holes. Remove the
enclosure. Drill the lower holes and install the fasteners. Place the enclosure’s upper keyholes over the two upper
screws. Install the two lower screws and make sure to tighten all screws (Enclosure Dimensions, pg. 7,8).
Secure enclosure to earth ground.
2. Slide switch SW1 to the OFF position (Models ALTV244 and ALTV244CB) (Fig. 1, pg. 4).
Turn main switch on all other models to the OFF position.
3. All units are factory set for 24VAC operation.
For 28VAC operation adjust unit prior to mounting and applying power as follows: Change the wire position so that
the black wire [28V] is connected to the terminal marked [P] and the yellow wire [24V] is connected to the terminal
marked [S].
4. Connect AC power to the black and white flying lead of the transformer (Fig. 1, pg. 4).
Units with line cord installed skip Step #4.
Use 18 AWG or larger for all power connections (Battery, AC output).
5. Measure output voltage before connecting devices. This helps avoiding potential damage.
- 2 - ALTV244series
Available from A1 Security Cameras