
Page 2of 21 351 Ferrier Street • Markham, ON • L3R 5Z2
PHONE: 416-410-6865 TOLL FREE: 1-866-331-3341 • FAX: 905-752-0186
Index
................................................................................................................................................................................
Revision History ....................................................................................................................................................3
Chapter1 - Introduction ........................................................................................................................................3
1.1 Summary.................................................................................................................................................3
1.2 Features..................................................................................................................................................4
1.3 Application Mode ...................................................................................................................................5
Chapter2 Wiring Diagram .....................................................................................................................................5
2.1 WAC 1D2T MICRO Appearance...............................................................................................................5
2.2 Wiring Diagram.......................................................................................................................................6
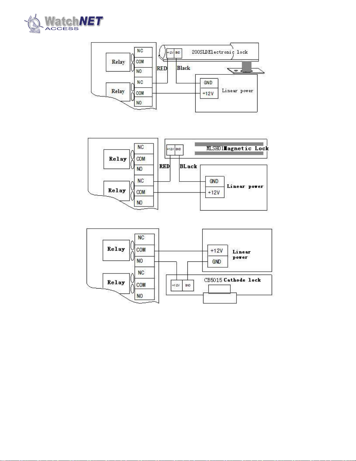
2.3 Lock Wiring Diagram...............................................................................................................................8
2.4 RS485 Net Bus.......................................................................................................................................10
2.5 TCP/IP Network.....................................................................................................................................10
Chapter3 Instructions .........................................................................................................................................12
3.1 Clock Configuration ..............................................................................................................................12
3.1.1 Edit Time ...................................................................................................................................12
3.2 Card Configuration................................................................................................................................13
3.2. 1 Add Card...................................................................................................................................13
3.2. 2 Delete Card...............................................................................................................................14
3.2.3 Del All Cards ..............................................................................................................................15
3.3 System Configuration............................................................................................................................15
3.3.1 Language Setting .......................................................................................................................15
3.3.2 Menu Password.........................................................................................................................16
3.3.3 Reader Settings .........................................................................................................................17
3.3.4 System Info Configuration .........................................................................................................17
3.3.5 Network Configuration..............................................................................................................18
3.3.6 Sleep Time.................................................................................................................................18
3.3.7 Board Info..................................................................................................................................19
3.4 Delete ...................................................................................................................................................19
3.4.1 Clear Event ................................................................................................................................19
3.4.2 Clear Card..................................................................................................................................20
3.4.3 Door Parameter Initialize ..........................................................................................................20
3.4.4 Clear All .....................................................................................................................................20
3.5 Door Open Mode..................................................................................................................................21