
6
VERS. 0816
8.2 INDICAZIONI RELATIVE ALL’USO DEL PANNELLO COMANDI
8.2.1 Avviamento
Prima di effettuare l’avviamento è necessario verificare che il collegamento elettrico e l’allacciamento siano stati realizzati come pre-
visto nei par. 3.3 e 3.4. Manuale d’uso e manutenzione.
E’ inoltre necessaria una pulizia preliminare secondo le modalità descritte nel par. 5.2.1. Manuale d’uso e manutenzione.
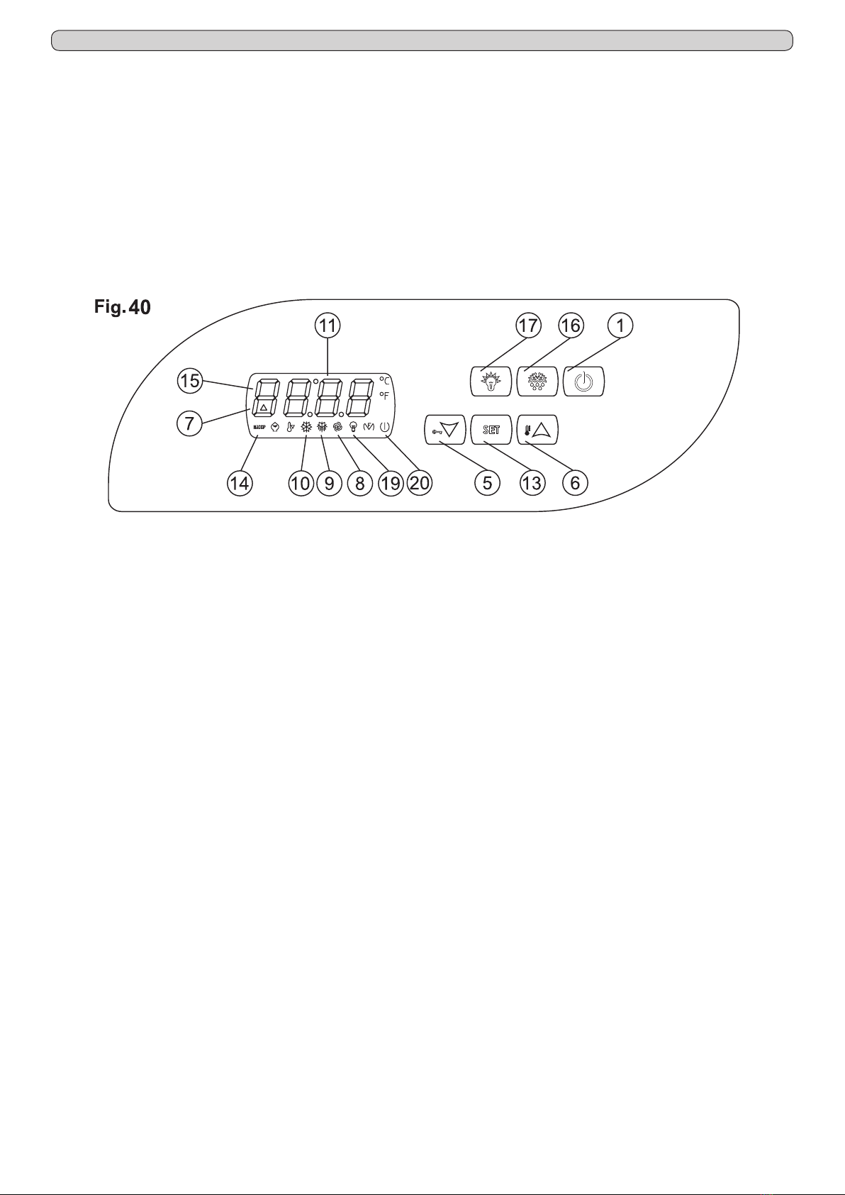
Sequenza d’avviamento (fig.40)
- premere il tasto ON/STANDBY per 5 secondi, il display si accenderà
- attendere che il pannello di comando cessi di lampeggiare
- regolare l’orologio interno sull’ora attuale.
La prima operazione è la regolazione dell’orologio interno all’ora attuale così come segue:
- premere il tasto DOWN per 2 secondi il display visualizzerà “rtC” (real time clock)
- premere il tasto SET, il display visualizzerà yy00 (anno). Premere UP o DOWN per modificarlo
- premere il tasto SET, il display visualizzerà nn01 (mese). Premere UP o DOWN per modificarlo
- premere il tasto SET, il display visualizzerà dd01 (giorno). Premere UP o DOWN per modificarlo
- premere il tasto SET, il display visualizzerà hh00 (ora). Premere UP o DOWN per modificarlo
- premere il tasto SET, il display visualizzerà nn00 (minuti). Premere UP o DOWN per modificarlo poi premere SET.
Terminata la regolazione non operare sullo strumento per 60 secondi e uscirà automaticamente dalla procedura.
8.2.2 Modi di arresto (Fig. 40)
Premere il tasto ON/STANDBY (1) per 5 secondi e il display si spegnerà. In caso l’apparecchio debba rimanere spento per un periodo
prolungato, si raccomanda di rimuovere la spina dalla presa di corrente.
8.2.3 Messa a punto e regolazione
La macchina è impostata, dalla fabbrica, per poter funzionare nei seguenti range di temperatura :
- serie MPR : +2°C / +15°C
- serie LR : 0°C / +15°C
- serie LF : -5°C / -20°C ~ -25°C
- serie LDF : -15°C / -30°C
- serie PDF : -25°C / -40°C
- serie MPRR : +2°C / +15°C (1° vano frigorifero), +2°C / +15°C (2° vano frigorifero)
- serie LCRR : 0°C / +15°C (1° vano frigorifero), 0°C / +15°C (2° vano frigorifero)
- serie LCRF : 0°C / +15°C (vano frigorifero), -5°C / -20°C ~ -25°C (vano congelatore)
Per poter impostare la temperatura di lavoro al valore desiderato, agire come segue (Fig. 40):
- Premere SET (13) e rilasciare. Sul display, se non sono presenti allarmi, apparirà la temperatura impostata.
- Per incrementare la temperatura agire sul tasto UP (6) entro 5 secondi _
- Per abbassare la temperatura agire sul tasto DOWN (5) entro 5 secondi.
Lo strumento memorizza automaticamente l’ultimo valore di temperatura impostato.
8.2.4 Sbrinamento automatico e manuale
La macchina è impostata, dalla fabbrica, per poter effettuare lo sbrinamento automatico ad intervalli prestabiliti.
In caso di necessità, l’utilizzatore può effettuare uno sbrinamento manuale, a seconda delle proprie necessità, agendo come segue
(Fig. 40) :
- premere per oltre 3 secondi, il tasto SBRINAMENTO (16)
Durante il ciclo di sbrinamento automatico e manuale il led DEF rimarrà acceso, al termine del ciclo di sbrinamento l’indicatore si
spegne e la macchina riprende automaticamente il ciclo normale di funzionamento.
8.2.5 Segnalazioni di allarme
Tutti gli allarmi generano, sul termoregolatore, oltre all’accensione del buzzer d’allarme e del led 7, delle segnalazioni per indicare il
tipo d’allarme. Sul display apparirà dunque :
Cod. Allarme Descrizione
Pr1 Allarme sonda vano stoccaggio guasta
Pr2 Allarme sonda evaporatore guasta
Pr3 Allarme sonda condensatore guasta (se presente)
COH Allarme condensatore surriscaldato
DFd Allarme sbrinamento concluso per durata massima
AL Allarme di bassa temperatura
AH Allarme di alta temperatura
PF Allarme interruzione dell’alimentazione elettrica
id Allarme porta aperta
Rtc Errore orologio interno (programmare ora e data nuovamente)
RLS Segnala la presenza di un allarme registrato
LS Cartella allarmi
Il termoregolatore è in grado di memorizzare fino a 3 allarmi (HACCP). Lo strumento fornisce le seguenti informazioni:
- valore critico di temperatura
- data e ora reale di registrazione dell’allarme
- durata dell’allarme (da 1min a 99h e 59min, parziale se l’allarme è in corso)