A03 manual paste/liquid filling machine uses a piston-type structure. All parts of the
machine that in contact with filling material are made of 304 stainless steel and PTFE,
which makes the machine meet food grade standards. The filling rang is 0.17 - 1.7oz
(5 - 50mL), suitable for small doses filling of paste and liquid in laboratory, hospital,
etc.
1. Technical parameters
a) Operation Mode: Manual
b) Filling range: 0.17 - 1.7oz (5 - 50mL)
c) Filling accuracy: ±1%
d) Capacity of hopper: 22lb (10kg)
e) Machine size: 13" ×13" ×30"
f) Machine weight: 26.5lb
2. Operation method
Users can adjust single filling volume as needed according to the following steps:
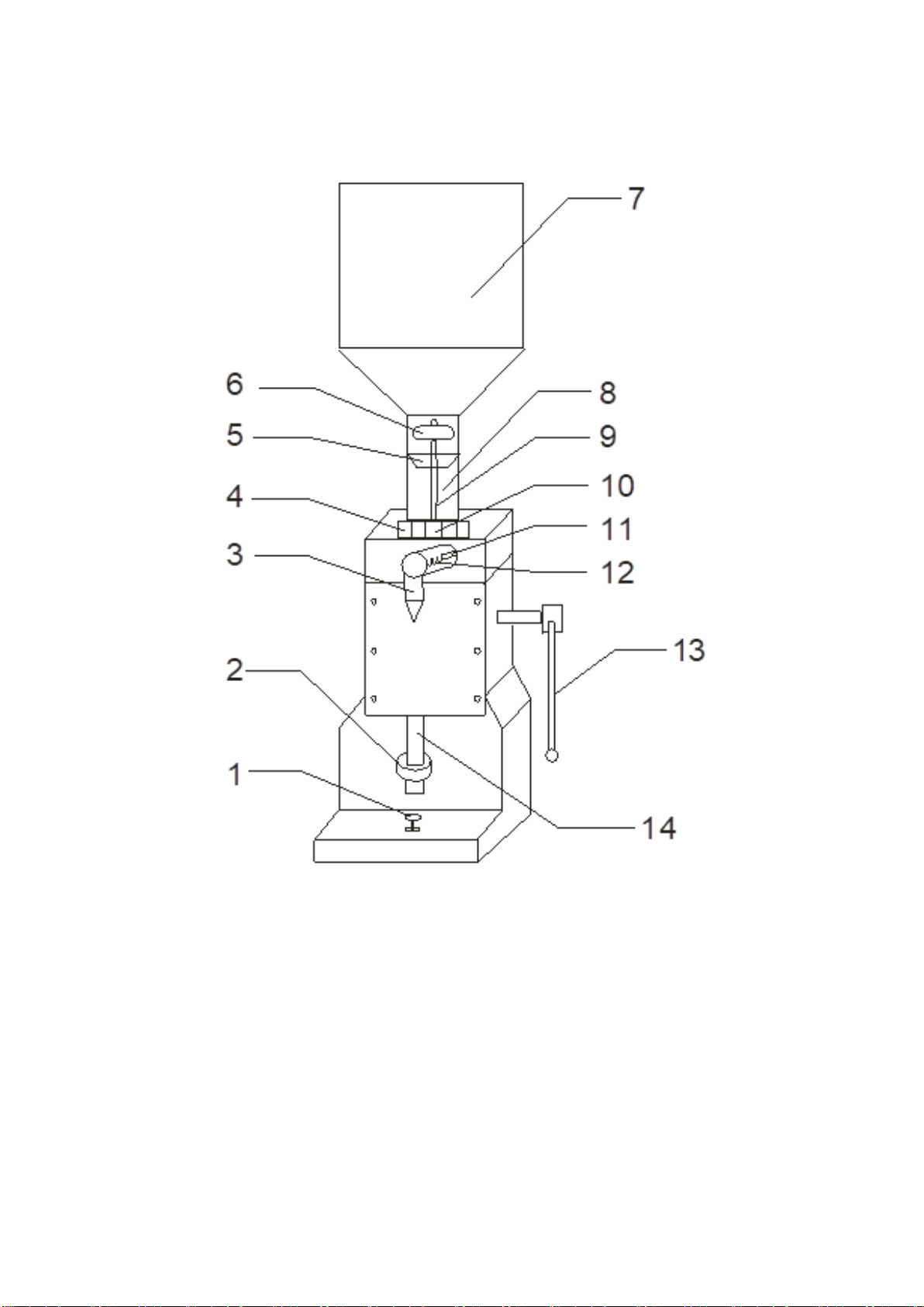
a. Lift Handle (Fig.1-13), loosen Upper Locking Nut (Fig.1-2).
b. Adjust Upper Measure Nut (Fig.1-14): Adjust Upper Measure Nut (Fig.1-14)
clockwise to increase the filling volume; Adjust Upper Measure Nut (Fig.1-14)
counterclockwise to decrease the filling volume.
c. When the appropriate filling volume is adjusted, tighten Upper Locking Nut
(Fig.1-2).
The filling operation is also very simple. Press down Handle (Fig.1-13), the filling
fluid will be discharged out of the Nozzle (Fig.1-3). When this filling process is end,
lift Handle (Fig.1-13).
Make sure that in every filling process, Handle (Fig.1-13) is operated smoothly,
pressed down close to the lowest point and lifted to the highest point, this will make
the filling accuracy high. Otherwise the filling accuracy will be affected.
3. Maintenance
a) When the machine is not used for a long time or used to fill another material,
Hopper (Fig.1-7), Material Cylinder (Fig.1-8), Cone Piston (Fig.1-5), Cone
Piston Cover (Fig.1-6), Piston Rod (Fig.1-9), Cylinder Sealing Ring (Fig.1-10),