
4. Remove unnecessary U060031 Sealant. Remove all sealant surfaces other than the bottom of the
CI2580-200 VHF/GPS Antenna.
5. (Refer to Figure 1, Detail A and View A-A (172), Figure 2, Detail A and View A-A (182), or Figure 3,
Detail A and View A-A (206).) With the four MS24693S53 Screws, install one CI2580-200 VHF/GPS
Antenna in the position where you removed the CI2580-410 VHF/GPS Antenna #2. Do not apply sealant
on top of the antenna mounting screws. (Refer to the applicable maintenance manual, Chapter 23,
Communications - Maintenance Practices.)
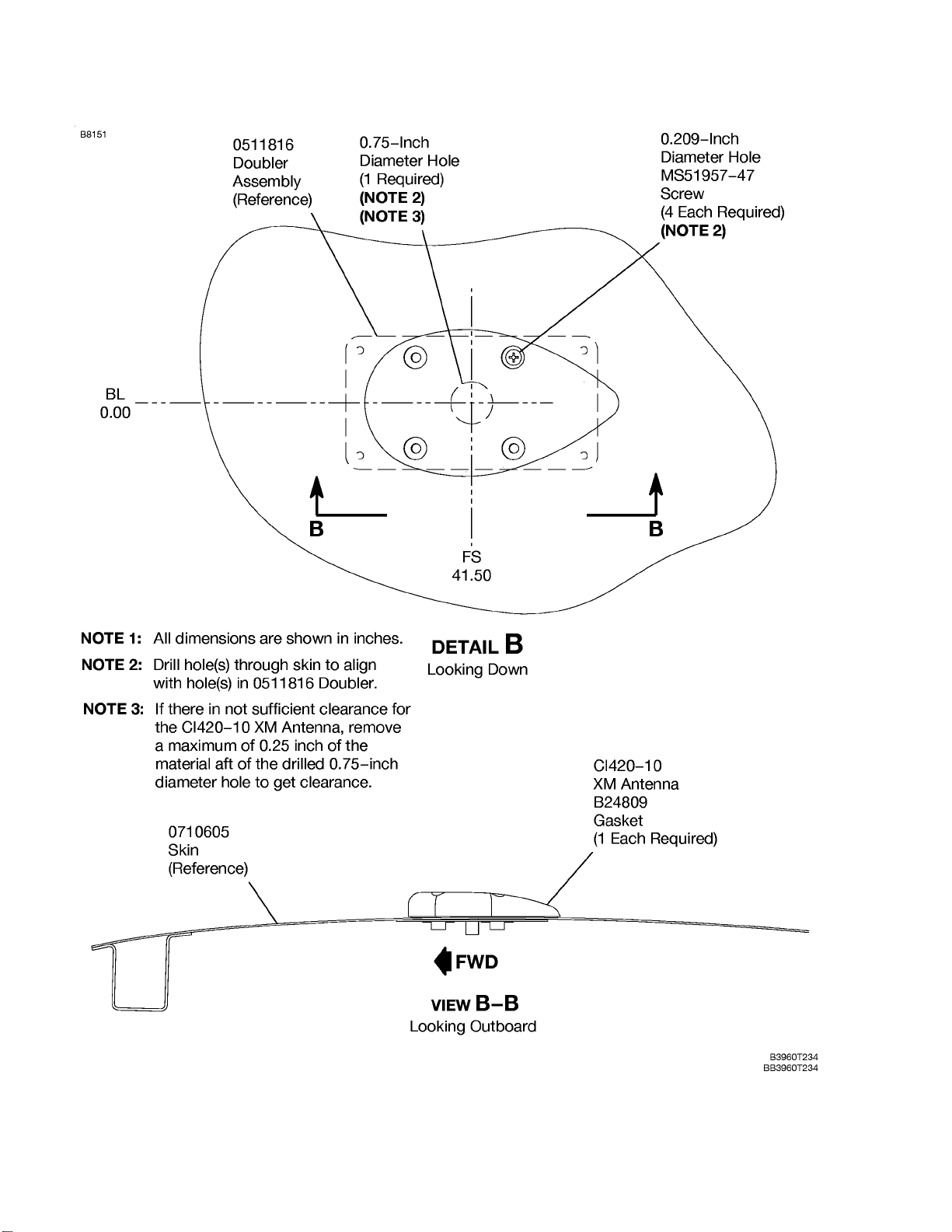
6. (Refer to Figure 1, Detail B and View B-B (172), Figure 2, Detail B and View B-B (182), or Figure 3, Detail
B and View (206).) Install the CI420-10 XM Antenna as follows:
A. Find the factory-installed 0511816 Doubler for the CI420-10 XM Antenna.
B. Use the hole in the center of the 0511816 Doubler to match drill one 0.75-inch diameter hole through
the airplane skin.
C. If there is not sufficient clearance for the CI420-10 XM Antenna, remove a maximum of 0.25 inch of
the material aft of the drilled 0.75-inch diameter hole to get clearance.
D. From the airplane interior, use the four nutplate holes (for the MS51957-47 Screws) in the 0511816
Doubler to match drill four Number 40 (0.098-inch diameter) holes.
E. From the airplane exterior, match drill the four Number 40 (0.098-inch diameter) holes to four
0.209-inch diameter holes.
F. Deburr the holes and apply Alodine to bare metal.
G. Make sure that the area on the skin where you will install the CI420-10 XM Antenna is clean. (Refer
to the applicable wiring diagram manual, Chapter 20, Bonding and Grounding - Maintenance
Practices.)
H. Put the B24809 Gasket and the CI420-10 XM Antenna in position on the fuselage.
I. With the four MS51957-47 Screws, attach the CI420-10 XM Antenna.
7. Make sure that there is a correct electrical bond between the two antennas and the airplane structure
as follows:
A. Remove one screw.
B. With an ohmmeter, measure the electrical resistance from the antenna base metal insert to the
structure at the screw position. The maximum allowable resistance (in ohms) at each of the four
measured positions is 0.0025.
C. Install the screw and remove and install each of the remaining screws in turn as you measure
the electrical resistance at each screw hole.
8. Torque the four MS51957-47 Screws that attach the CI420-10 XM Antenna to 25, +5 or −5 inch-pounds.
NOTE: Do not apply sealant around the CI420-10 XM Antenna.
9. Attach the cable assembly for VHF/GPS to the CI2580-200 VHF/GPS Antenna.
10. Do the routing of the XM antenna cable as necessary, and attach the cable assembly from the GDL-69A
to the CI420-10 XM Antenna.
11. Install the headliner and overhead console as necessary. (Refer to the applicable maintenance manual,
Chapter 25, Interior Upholstery - Maintenance Practices.)
12. Remove maintenance warning tags from battery and external power receptacle and connect the battery.
13. Make sure that the antennas operate correctly as follows:
A. Put the airplane in a position that gives a clear view to the southern horizon for XM.
B. Make sure that all of the necessary circuit breakers are engaged for normal mode startup of the
G1000 System.
C. Put the BAT MASTER switch to the ON position
MK206-34-09
December 13, 2007 Page 3