
Thumb wheel
9
Engine
•Refer to the engine service manual provided with this unit.
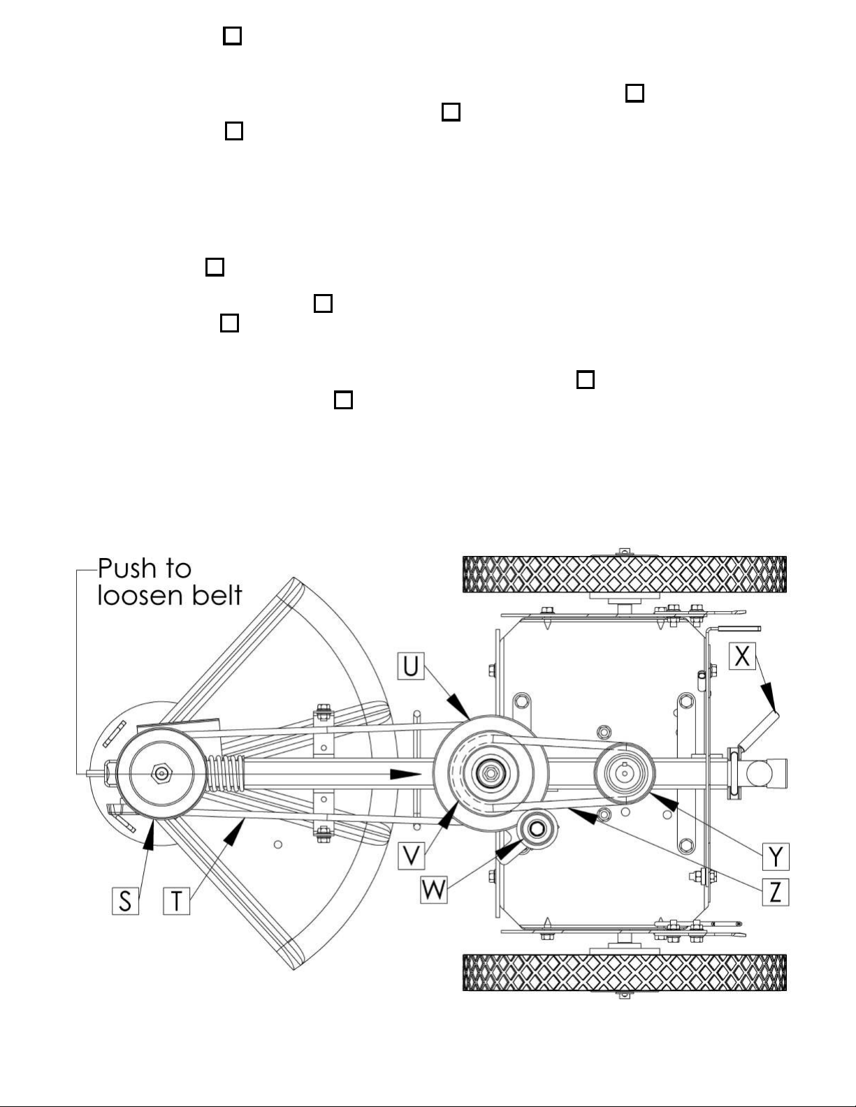
Belts
•Occasionally check the belts for wear. A worn belt should be replaced.
Belt Adjustment
During the first few hours of operation all belts go through a “break-in period” after which the
belts may need to be adjusted using the following instructions. Indications that the belts need to
be adjusted include:
•Loss of power at the trimming head causing the head to spin unusually slow or stop.
•Excessive wear on belt due to slipping.
•The belt between the trimmer head and the double idler pulley has an automatic belt tightener
that automatically adjusts when the head is tilted. If you do not regularly tilt the head on your
trimmer, it is recommended that you loosen the head twice a year (see Edge Trimming).
•The belt used to engage/disengage the trimmer head can be adjusted using the following
instructions:
1. Locate the thumb wheel adjuster on the control cable (see illustration).
2. Release control bail to disengage trimmer head.
3. Rotate thumb wheel a few turns counterclockwise (from normal operating position).
4. Re-engage trimmer head.
5. If trimmer head has not returned to normal operation, repeat steps 2-4.
Important!Do not over tighten cable adjuster. This may cause the cable to break.
Excessive force should NOT be required to fully engage control bail.
Make sure your trimmer is in safe working condition by keeping the following guidelines in mind every time you
use your trimmer.
•Keep trimmer in good operating condition and keep all guards and shields in place. DO NOT operate this
trimmer if any of the shields and guards are missing.
•Check all fasteners for secure fit to keep equipment in safe working order. Make adjustments as necessary.
•To reduce fire hazards, keep engine free of grass, leaves or excessive grease.
•DO NOT operate trimmer with a damaged or missing muffler. DO NOT tamper with exhaust system; this may
cause a fire hazard.
•DO NOT operate engine if air cleaner or the cover over the carburetor air intake is missing. Removal of these
parts could create a fire hazard.
•Before cleaning, making adjustments or repairing the trimmer, STOP engine, disconnect spark plug wire and
allow engine to cool.
•Handle gasoline with care. DO NOT smoke or use open flame near gasoline. Use only approved gasoline
containers. Never fuel or run trimmer in poorly ventilated areas, such as a garage or utility building.
•Always replace fuel tank cap. Be sure to clean up any spilled gasoline.
•Do not change the engine governor settings or over-speed the engine; severe injury or damage may result.
•Never store mower with gasoline in the tank inside a building where fumes may reach an open flame or spark.
Always allow engine to cool before storing.
Trimmer Maintenance
ALWAYS STOP ENGINE AND DISCONNECT SPARK PLUG
WIRE BEFORE PERFORMING ANY ADJUSTMENTS OR SERVICE.
NEVER ADD GASOLINE TO A HOT ENGINE – ALLOW ENGINE TO
COOL BEFORE ADDING GASOLINE.