User's Guide QuadMic © RME 6
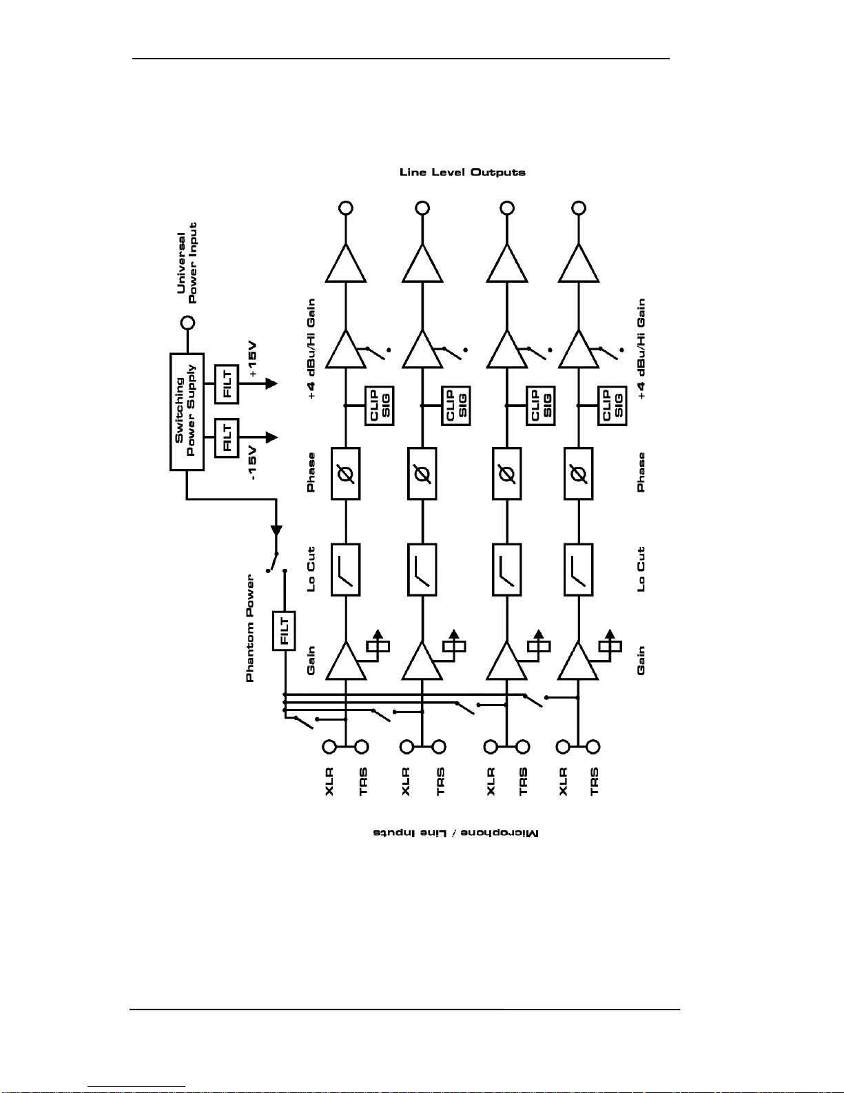
6.2 Mic/Line Inputs
The QuadMic provides 4 balanced Mic and Line inputs via 1/4" TRS (stereo) and XLR jacks.
The electronic input stage is built in a servo balanced design which handles monaural and ste-
reo jacks correctly. When used unbalanced it automatically corrects the gain by 6 dB.
When using unbalanced cables with stereo TRS jacks, the 'ring' contact of the cable's jack
should be connected to pin 1 (ground). Otherwise noise may occur, caused by the uncon-
nected negative input of the balanced input.
The pinout follows international standards. XLR pin 2 + or hot, pin 3 – or cold, pin 1 ground.
TRS tip + or hot, ring – or cold.
6.3 Line Outputs
The 4 short circuit protected, low impedance and servo balanced line outputs are available as
(stereo) 1/4" TRS jacks. The electronic output stage is built in a servo balanced design which
handles monaural and stereo jacks correctly. When used unbalanced it automatically corrects
the gain by 6 dB.
To maintain an optimum level for devices connected to the analog outputs the QuadMic in-
cludes a switch which allows to change the reference level of all 4 outputs simultaneously.
The QuadMic can generate a maximum level of +21 dBu without distortion. However, the CLIP
LED has been designed to act like the OVR LEDs of the ADI-8 series. It lights up 2 dB before
the reference level selected on the back of the unit, plus a headroom of 9 dB, is reached. At Hi
Gain the LED lights up at +17 dBu output level, selecting +4 dBu it lights up at +11 dBu.
This also means that the CLIP LED lights up 4 dB before the QuadMic actually reaches the
maximum level. Such an additional headroom is considered to be useful in real world operation.
Selecting +4 dBu changes not only the threshold of the CLIP LED. In fact the output signal is
attenuated by 6 dB, so for the same output level the amplification has to be increased via GAIN.
With this trick the QuadMic reaches the maximum signal to noise ratio on +4 dBu based inputs
(like our ADI-8 series), because microphone preamps have better EIN values at higher amplifi-
cation. In case of an extreme recording situation, where the gain of the QuadMic is no longer
sufficient, selecting Hi Gain will again provide the highest amplification possible.
The pinout follows international standards. TRS tip + or hot, ring – or cold.
7. Accessories
Part number Description
36000 19“, 1UH Universal rack holder
This 19" rack holder has holes for QuadMic, Digiface and Multiface. Two units can be installed
side by side in any combination. The rack holder also includes holes for nearly all 19" half-rack
units from other manufacturers.
37011 Power supply for HDSP CardBus card
Robust and light weight switching power supply, 100V-240V AC, 12V 1.25 A DC.