
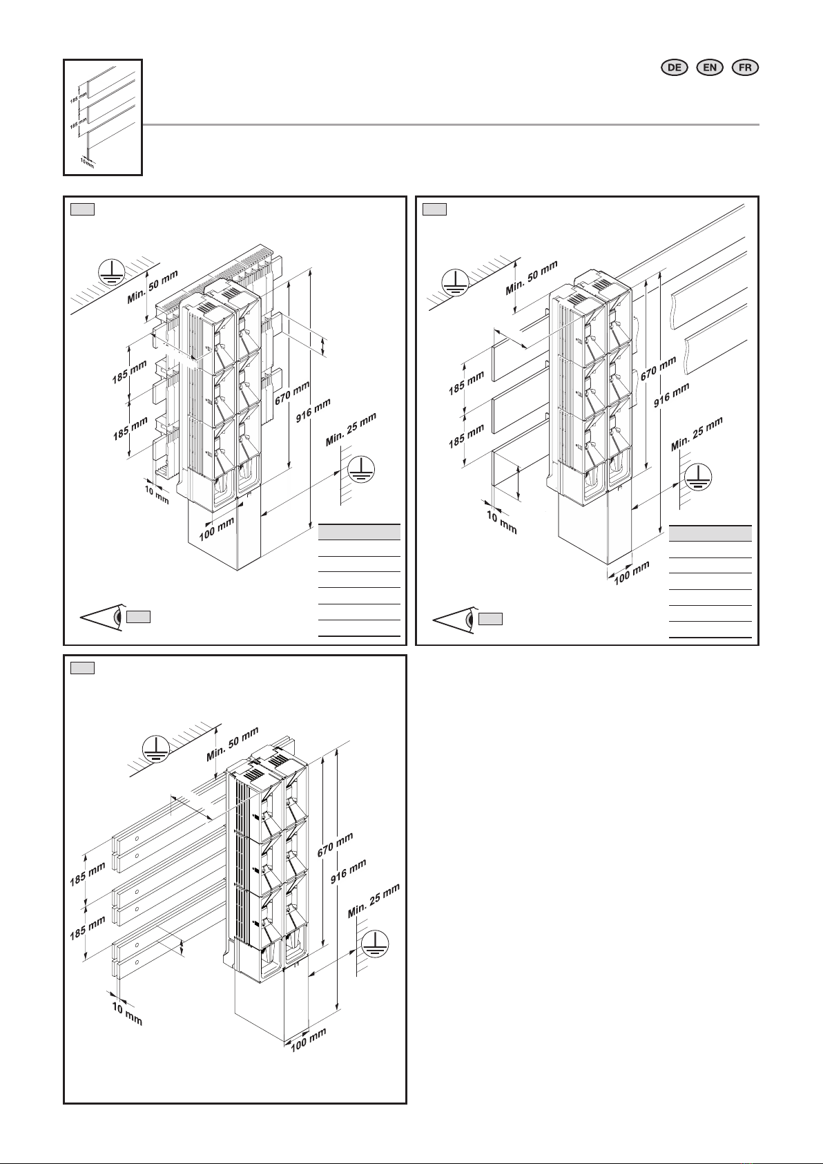
4Ri4Power System 185 mm Montageanleitung/Ri4Power system 185 mm assembly instructions/Ri4Power système 185 mm – Notice de montage
2. Hinweise zur Dokumentation
2. Notes on documentation
2. Remarques relatives à la documentation
3. Sicherheitshinweise
3. Safety notes
3. Consignes de sécurité
Die Montageanleitung richtet sich an alle
Personen, die über eine entsprechende
Fachausbildung verfügen, um Schaltschränke
normgerecht mit elektrischen, elektronischen,
mechanischen und pneumatischen Betriebs-
mitteln auszurüsten bzw. zu montieren und
betriebsfertig anzuschließen.
CE-Kennzeichnung
Die Konformitätserklärung steht als Download
auf der Homepage von Rittal zur Verfügung.
The assembly instructions are aimed at
personnel who have completed correspond-
ing technical training and are thus qualified to
set up enclosures with electrical, electronic,
mechanical and pneumatic equipment in
accordance with applicable standards and to
erect, assemble and connect such enclosures
at the place of use.
CE label
The declaration of conformity is provided for
download on the Rittal website.
La notice de montage s'adresse à toutes
les personnes qui possèdent la formation
technique susante pour le montage, l'instal-
lation sur site et le raccordement d'armoires
électriques selon les normes électriques,
électroniques, mécaniques et pneumatiques
en vigueur.
Certification CE
La déclaration de conformité peut être
téléchargée depuis le site Internet de Rittal.
Verwendete Symbole
Beachten Sie folgende Sicherheits- und sons-
tige Hinweise in der Anleitung:
Symbol für eine Handlungsanweisung:
◾ Der Blickfangpunkt zeigt an, dass Sie eine
Handlung durchführen sollen.
Sicherheits- und andere Hinweise:
Gefahr!
Unmittelbare Gefahr für Leib
und Leben.
Achtung!
Mögliche Gefahr für Produkt
und Umwelt.
Beachten!
Symbols used
Observe the following safety and other notes
in the instructions:
Symbol identifying required actions:
◾ The bullet point indicates an action to be
performed.
Safety and other notes:
Danger!
Immediate danger to life and
limb.
Caution!
Potential threat to the product
and its environment.
Note!
Symboles utilisés
Tenir compte des consignes de sécurité et
autres directives contenues dans cette notice :
Symbole indiquant une action à eectuer :
◾ Le pictogramme en caractère gras indique
que vous devez exécuter une action.
Consignes de sécurité et
autres directives :
Danger !
Risque de blessure grave, voire
mortelle.
Attention !
Danger éventuel pour le produit
et l'environnement.
Attention !
Vor Installation- oder Service-
arbeiten Stromversorgung
unterbrechen, um Unfälle zu
vermeiden. Die Geräte müssen
in einem passenden Gehäuse
eingebaut und gegen Ver-
schmutzung geschützt werden.
Inbetriebsetzung und Wartung
nur durch Fachpersonal!
To prevent electric shock,
disconnect from power source
before installing or servicing.
Install in suitable enclosure.
Keep free from contaminants.
To be commissioned and
maintained only by qualified
personnel!
Avant le montage et la mise en
service, couper l'alimentation
secteur afin d'éviter tout
accident. Prevoir une mise en
coret ou armoire appropriée,
protéger le produit contre les
environnements agressifs. Mise
en service et entretien :
seulement par du personnel
spécialisé !