
RTL8188CE, RTL8188CEAU
User s Manual
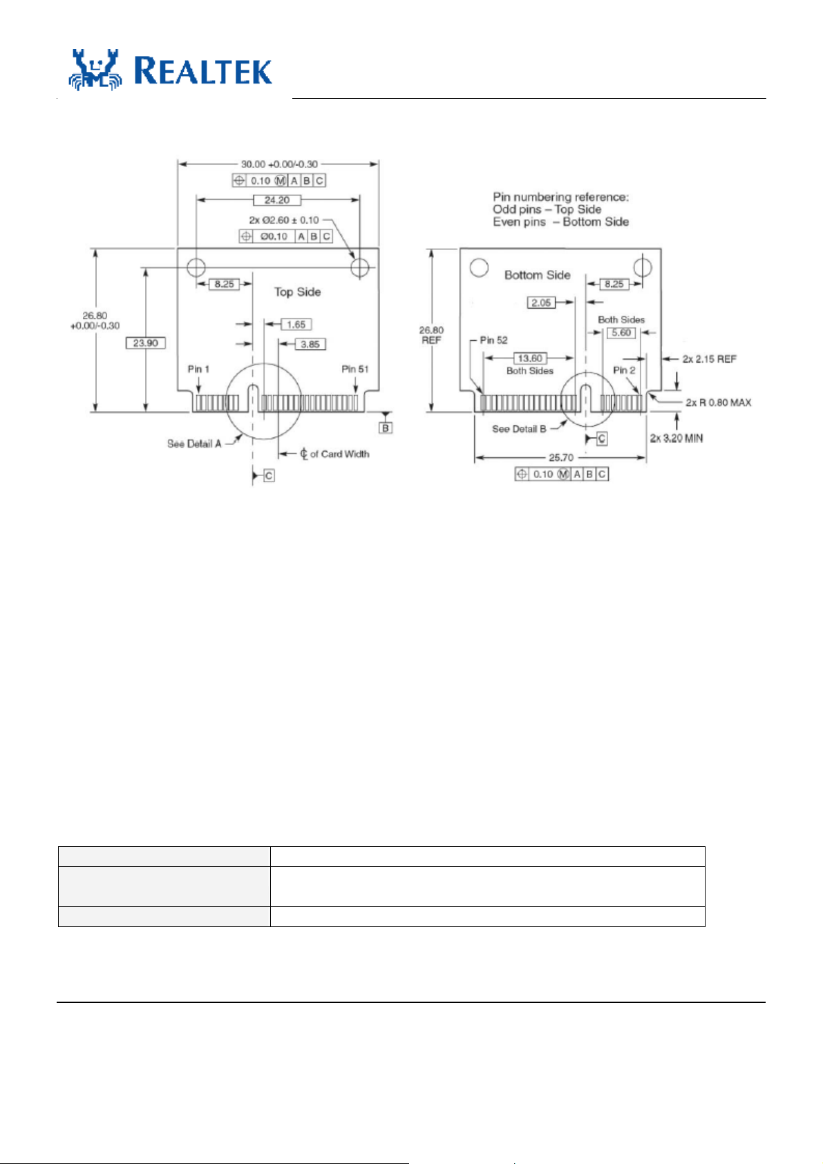
1Rev.1.0
1. GeneralDescription
TheRealtekRTL8188CE, RTL8188CEAUisahighlyintegratedsingle-chipWireless LAN(WLAN)
controllercompatiblewiththeIEEE 802.11nspecification.ItcombinesaMAC,a1T1Rcapablebaseband,
andRFinasinglechip.TheRTL8188CE, RTL8188CEAUprovidesacompletesolutionfora
high-performance wireless client.
TheRTL8188CE, RTL8188CEAUbasebandimplementsMultipleInput,MultipleOutput(MIMO)
OrthogonalFrequencyDivisionMultiplexing(OFDM)withonetransmitandonereceivepath(1T1R).
Featuresincludeonespatialstreamtransmission, shortGuardInterval(GI) of400ns,spatialspreading,and
supportforboth20MHzand40MHzchannelbandwidth.
Forlegacycompatibility,DirectSequence SpreadSpectrum(DSSS),ComplementaryCodeKeying(CCK)
andOFDMbasebandprocessingareincludedtosupportall IEEE 802.11b,and802.11g datarates.
Differentialphaseshiftkeyingmodulationschemes,DBPSKandDQPSKwithdatascramblingcapabilityare
available,andCCKprovidessupportforlegacydatarates,withlongorshortpreamble.Thehighspeed
FFT/IFFTpaths,combinedwithBPSK,QPSK,16QAM,and64QAMmodulationoftheindividual
subcarriers,andratecompatiblepuncturedconvolutionalcodingwithcodingrateof1/2,2/3,3/4,and5/6,
providehigherdataratesof54Mbpsand150MbpsforIEEE 802.11g and802.11nOFDMrespectively.
TheRTL8188CE, RTL8188CEAUbuildsinanenhancedsignaldetector,anadaptivefrequencydomain
equalizer,andasoft-decisionViterbidecodertoalleviateseveremulti-patheffectsandmutualinterference in
thereceptionofmultiplestreams.Robustinterference detectionandsuppressionareprovidedtoprotect
againstBluetooth, cordless phone, andmicrowaveoveninterference.
EfficientIQ-imbalance,DCoffset,phasenoise,frequencyoffset,andtimingoffsetcompensationsare
providedfortheradiofrequencyfront-end.SelectabledigitaltransmitandreceiveFIRfilters areprovidedto
meettransmitspectrummaskrequirementsandtorejectadjacentchannelinterference, respectively.
TheRTL8188CE, RTL8188CEAUsupportsfastreceiverAutomaticGainControl(AGC)withsynchronous
andasynchronouscontrolloopsamongantennas,antennadiversityfunctions,andadaptivetransmitpower
controlfunctionstoobtainbetterperformance intheanalogportionsofthetransceiver.
TheRTL8188CE, RTL8188CEAUMACsupports802.11eformultimediaapplications,802.11iforsecurity,
and802.11nforenhancedMACprotocolefficiency.Usingpacketaggregationtechniques suchas A-MPDU
withBAandA-MSDU,protocolefficiencyissignificantlyimproved.Powersavingmechanismssuchas
U-APSD,andAPSD,reducespowerwastedduringidletime,andcompensates fortheextrapowerrequired
totransmitOFDM.TheRTL8188CE, RTL8188CEAUprovidessimplelegacyand20MHz/40MHz
co-existence mechanismstoensurebackwardandnetworkcompatibility.