
Manual-5
OPERATING INSTRUCTIONS
STEREO EQUALIZATION
Depending on your philosophy, equalizers can perform
the role of fancy tone controls or correct speaker power
response in a room. The room is an extention of the speaker
cabinet, for the same speaker can sound different in different
rooms. Even more critical are in-wall speakers, which depend
on the wall as an extension of the cabinet, but not all walls
have the same construction or size. These differences are
more noticeable and specific in the lower frequencies where
1/3-octave EQ is required. The high frequencies need less
control, as they are less susceptible to room acoustics.
The SSE 22 can be adjusted by ear, but we highly recom-
mend the use of a 1/3-octave realtime analyzer or other
similar test equipment. The results will be more accurate with
less response variance from channel to channel.
SURROUND CHANNEL ALIGNMENT
Whether the home cinema system is Dolby Pro-Logic,
Home THX, or Dolby Digital, the same principle applies: to
flatten the power response of the surrounds in the room.
There are no special curves to follow. Even though the
controller may have a preset filter for a given listening mode,
set the surrounds for a flat power response, just like the front
channels. Since surrounds may be of a different design than
the front channels, equalization can help the front and rear
speakers sound more similar, important when the sound pans
from front to back (as the spaceship flies overhead).
Test equipment is required to properly align a multi-
channel system, such as a 1/3-octave realtime analyzer,
preferable a model with a memory averaging function. Follow
the instructions with the analyzer. Though more time consum-
ing, a test CD and a sound pressure level meter can work. For
this method, see the RaneNote on Home Theater Systems,
available from the factory or downloadable from the Rane
web site.
Align the system for a flat average response from each
Channel. Begin with the center channel, then tune each
channel separately with the other channels turned off.
Direct-radiating and dipolar surround designs follow the
same guidelines. With test equipment, measure the room, not
the speaker. Place the mic near the primary listening
position(s), aiming straight up, not aimed at the speaker.
For those using the THX 44 for the front channels and the
SSE 22 for the rear, follow the alignment procedure specified
by Lucasfilm Ltd. as described in the “Home THX®Audio
System Room Equalization Manual”. It is not possible to
align a Home THX Audio system without the use of proper
procedures and a one-third octave realtime analyzer with
averaging. It cannot be done by ear. The special THX “Wow”
Laserdisc comes in handy as well (only supplied with some
THX controllers or a licensed THX installer). The same
procedure may be used for Dolby Pro-Logic and Digital
systems without the THX “Wow” Laserdisc.
SETTING CURVES USING AN ANALYZER
Our unique interpolating constant-Q circuitry makes
setting curves easy. For the graphic sections, what you see is
what you get – more so than on any other equalizer. Referring
to your room result curves, begin by positioning the sliders to
create the inverse curve shown by the instrumentation. Most
applications require only a few dB of boost or cut. If more is
required, use architectural and mechanical means: add,
remove, or relocate acoustically sensitive items (speakers,
drapes, carpets, mirrors, etc.) as required.
The analyzer comes with a pink noise source. Simply
connect the noise source to the right or left auxiliary input on
the preamp, adjust volume for a comfortable listening level,
and begin alignment.
Some creativity is required when using one of these
devices on surround channels, as there is no direct surround
channel input on the preamp. If you are using the THX
“Wow” Laserdisc, the solution is simple. Use the pink noise
Chapters 8-11 on Side 2 for all channels in the system, with
the controller in Dolby Pro-Logic mode. Create a loop with
the A-B Repeat function on the laserdisc player for each
chapter, and align each channel one at a time. Chapter 11 is
the surround channel noise source. Disconnect the right
surround when you align the left surround, and vice versa.
Some analyzers require their own noise source to be used.
A “Wow” Laserdisc may not be available. For these situa-
tions, some temporary patching is required. Connect the pink
noise to an auxiliary Left input on the processor. Temporarily
connect the preamps Left front output to the Left SSE 22
Input. Connect the SSE 22 Outputs to an amplifier and
surrounds. With the SSE 22 set flat (0 dB), adjust volume to a
comfortable level on the processor and leave it set. Perform
the left surround alignment. Now move the cable coming
from the processor to the Right SSE 22 Input, and align. Once
alignment is complete, remove the analyzer and connect the
cables to their normal routing.
Once equalization for all channels is set, perform a final
channel level check with the Dolby Test on the processor. Use
the enclosed security cover to guard your precious settings
from inquisitive guests.
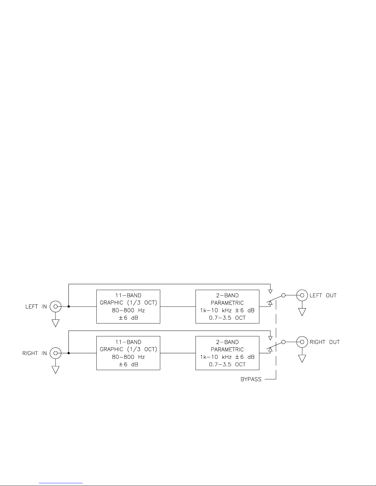
USING THE BYPASS SWITCH
The SSE 22 provides an overall BYPASS switch &
indicator as a useful tool for optimizing settings. Use the
BYPASS switch for making quick “A-B” comparisons, i.e.,
comparing “A”, equalized (BYPASS out, LED off), versus
“B”, unequalized (BYPASS in, LED on).
Since the SSE 22 always operates at unity gain in the
BYPASS mode, comparison can result in startling level
differences between the two when a lot of boosting or cutting
has been done. Therefore, keep the system level down during
the first use of the BYPASS switch. Be careful!