
2 of 14 ISSUED: 04-24-08 SHEET #: 055-9257-9 02-28-14
Visit the Peerless Web Site at www.peerless-av.com For customer care call 1-800-865-2112
Table of Contents
Parts List............................................................................................................................................................................. 3-4
Installing Outer Channel to Ceiling Plate ...............................................................................................................................5
Installation to Wood Joist Ceiling or Wood Stud Wall.............................................................................................................6
Installation to Solid Concrete Ceiling or Concrete/Cinder Block Walls...................................................................................7
Installing Inner Channel and Routing Cables .........................................................................................................................8
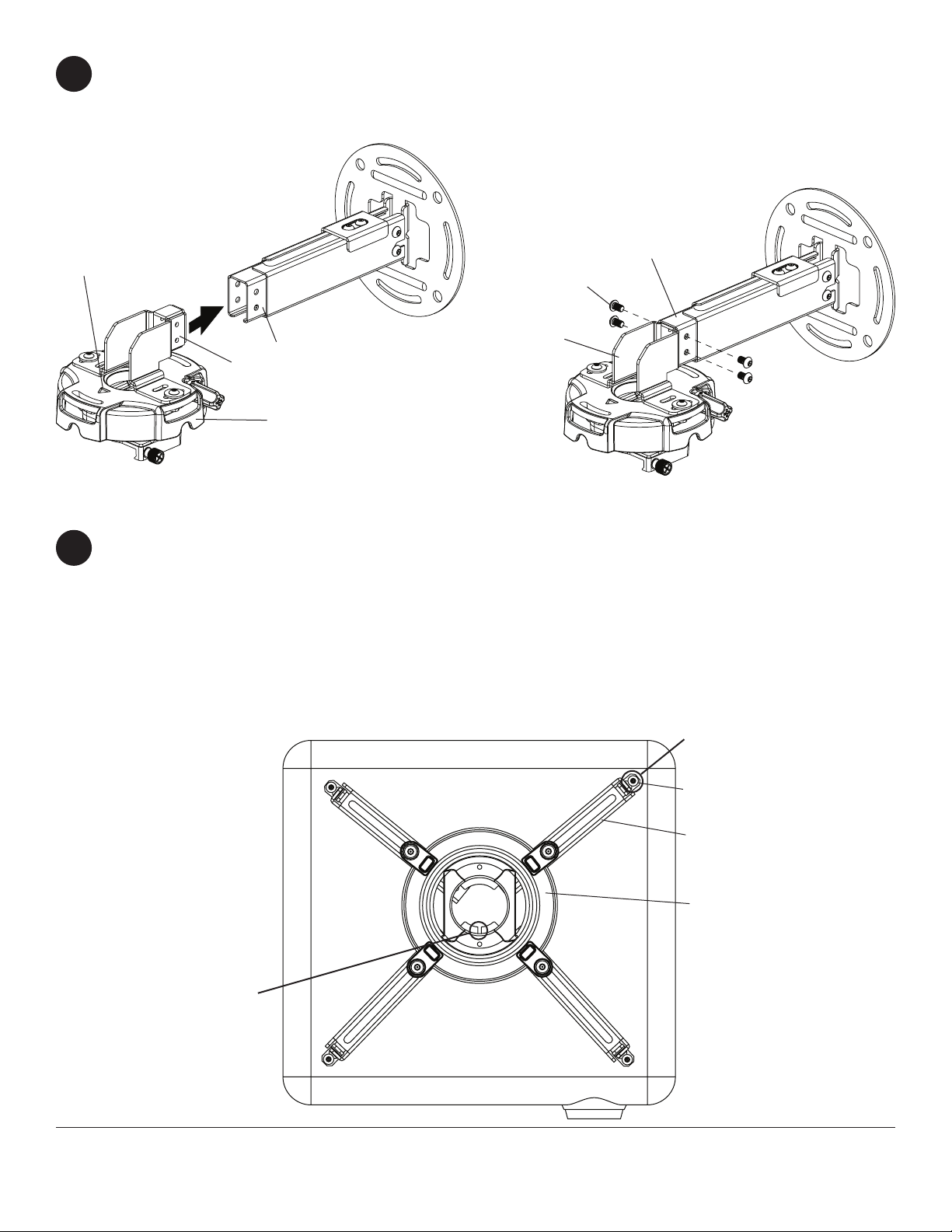
Installing Projector Mount................................................................................................................................................. 9-10
Attaching Adapter Plate to Projector................................................................................................................................10-11
Projector Alignment ............................................................................................................................................................. 12
Adjusting Mount Extension.................................................................................................................................................. 13
Installing Cable Covers........................................................................................................................................................ 14
Tools Needed for Assembly
• studnder("edgetoedge"studnderisrecommended)
• drill
• phillips screw driver
• 5/16"drillbitforconcreteandcinderblockwall
• open end wrench
• 5/32"drillbitforwoodstudorjoist
• level
• 8 mm open end wrench
• Do not begin to install your Peerless product until you have read and understood the instructions and warnings
contained in this Installation Sheet. If you have any questions regarding any of the instructions or warnings, please
call Peerless customer care at 1-800-865-2112.
• This product should only be installed by someone of good mechanical aptitude, has experience with basic building
construction, and fully understands these instructions.
• Make sure that the supporting surface will safely support the combined load of the equipment and all attached
hardware and components.
• Never exceed the Maximum UL Load Capacity. See page 1.
• If mounting to wood stud wall/joist ceilings, make sure that mounting screws are anchored into the center of the
stud.Useofan"edgetoedge"studnderishighlyrecommended.
• Always use an assistant or mechanical lifting equipment to safely lift and position equipment.
• Tightenscrewsrmly,butdonotovertighten.Overtighteningcandamagetheitems,greatlyreducingtheirholding
power.
• This product is intended for indoor use only. Use of this product outdoors could lead to product failure and personal
injury.
• This product was designed and intended to be mounted to the following supporting surfaces checked below with
thehardwareincludedinthisproductasspeciedintheinstallationsheet.Tomountthisproducttoanalternative
supporting surface, contact Peerless customer care at 1-800-865-2112.
• This product was designed to be installed on the following ceiling construction only;
CEILING CONSTRUCTION ADDITIONAL HARDWARE REQUIRED
x Wood Stud None
xWood Joist None
xSolid Concrete None
Brick Contact Customer Service (Not Evaluated by UL)
Other or unsure? Contact Customer Service (Not Evaluated by UL)
WARNING
NOTE: Read entire instruction sheet before you start installation and assembly.