
CONTENTS
SAFETY PRECAUTIONS ........................................... 4
GENERAL GUIDE LINES...................................... 4
TOUCH – CURRENT CHECK............................... 4
PREVENTION OF ELECTROSTATIC DISCHARGE
(ESD) TO ELECTROSTATICALLY SENSITIVE (ES)
DEVICES .................................................................... 5
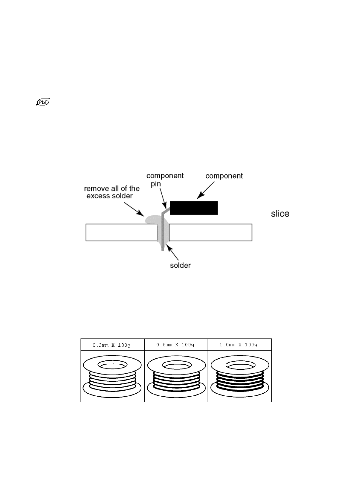
ABOUT LEAD FREE SOLDER (PBF)......................... 6
SUGGESTED PB FREE SOLDER........................ 6
APPLICABLE SIGNALS.............................................. 7
SERVICE HINTS ........................................................ 8
CHASSIS BOARD LAYOUT ....................................... 9
LOCATION OF LEAD WIRING ................................... 9
TECHNICAL DESCRIPTION ................................….10
SPECIFICATION OF KEY FOR CI PLUS,
DTCP-IP, ONE-TO-ONE ..................................... 10
GENERAL INFORMATION ................................. 10
REPLACEMENT OF ICS..................................... 10
MODEL AND KEYS ............................................ 10
SETTING INSPECTION............................................ 11
SELF CHECK ........................................................... 12
HOTEL MODE .......................................................... 17
DATA COPY BY SD CARD....................................... 18
DATA COPY FROM TV SET TO SD CARD ............. 19
DATA COPY FROM SD CARD TO TV SET ............. 20
OPTION BYTES DESCRIPTION .............................. 21
ADJUSTMENT METHOD.......................................... 22
WIRING DIAGRAM ................................................... 23
BLOCK DIAGRAM (1 OF 2)...................................... 24
PARTS LOCATION................................................... 26
REPLACEMENT PARTS LIST NOTE....................... 28
REPLACEMENT PARTS LIST.................................. 29
SCHEMATIC DIAGRAMS ......................................... 38
A-BOARD (1 OF 16) SCHEMATIC DIAGRAM .... 39
P-BOARD (1 OF 2) SCHEMATIC DIAGRAM ...... 55
KA-BOARD SCHEMATIC DIAGRAM .................. 57
K-BOARD SCHEMATIC DIAGRAM .................... 57
CONDUCTOR VIEWS .............................................. 58
POWER LED BLINKING TIMING CHART ................ 13
SERVICE MODE FUNCTION ................................... 14
SERVICE ................................................................ 15
SERVICE TOOL MODE............................................ 16