
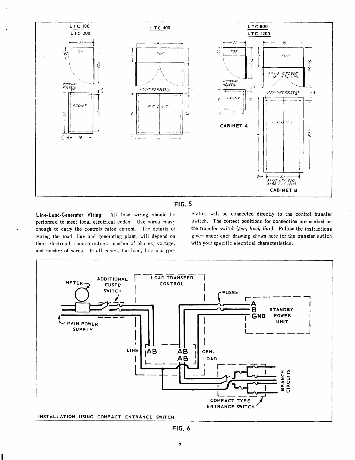
DESCRIPTION
The Onan series LTC (load transfer control) is designed fot
use with Onan 2-wire, 24-voLt,remote-starting, generating
plants installed for standby service. The LTC controls
generatingplant operation, supply of c-ommercialand emer-
gency powerto the load. It assures a supply of emergency
powerduring commercial
powerfailures.
CIRCUTT
& COMPONENTS
The basit:
LTC includes:
1. Load transfer switch that connects either the commer-
cial or emergency
power
to the load.
2. Relaysto start andstop the generating
plantand control
the bansferswitch.
3. A battery charga which maintains
starting batteries at
full-charge.
NOTE: Use the wirin! dia(,ran lumished with the control
in conjunction with flis explanation (wirin{ diagams
explained in [vtaintenanceSection).
0perotion - (Mechonicolly
Held Tronsfer
Swirch):
The frans-
let switch is electrically operated and connects the load to
commercial or emergency
power source. An LTC's current
rating is determinedby the transfer switch capacity.
All transfer
srvitchescontain
two separate
sets of contacts;
one set connectsthe commercialiine to rhe load, the other
connectsthe emergency
powerto the load. A pull-in coil
(when energizedby line power) pulls in the lineside con-
tacts. A mechanicallatch then locks the contacts
closed
and opensa micro-switch
that disconnectsthe pull-in coil.
This eliminateshum
duringnormaloperation.
Anothercoil (energized
by plant output) operatesthe mech-
anical latch release,disconnecting
the line-side contacts.
These contacts must unlatch and drop out before the gen-
erator
contacts
can close. Powersuppliedto this coil also
pulls in and holds the generator
contacts closed. Both
mechanical
and electrical inter-locksprevent
contactsfrom
closing
at the same
time.
The 6asic control circuit consists r.;f
I
hre,erelavs:
1. Start-stop
relay
2. Transferswitch pilot-relay
3. Instant
transferrelay
In addition,
it may
contain
someoptionalrelays. The start-
stop relay controls starting and stopping of the generating
plant. Whenthe relay de-energizes its contacts signal the
engine control to start and run the plant. The transfer
switch pilot-relay controls the mechanical latch release
coil and the generator
side of the bansfer switch. When
the
pilot-relay energizes, it releases the latch and connectsthe
coil that pulls in the generatorside of the transfer switch.
The instant transfer relay conhols the lineside of the trans-
fer switch and also the generator side. Whenever
this relay
is energized from line power, it breaks the circuit to the
generator side and energizes the line-side of the transfer
switch.
Normally (with cominercial power on) the transfer switch
line-side is closed. The start-stop relay and instant trans-
fer relay are energized; the transfer switch pilot-relay is
de-energized.
When conrmercial power fails, the start-stop and instant
transfer rr:li1s de-energize. This closes the start-stop
relay contact, signaling the plant to start. Whenvoltage
builds up,the hansferswitch pilot-relaypulls in, energizing
the latch r.lisconnect
coil and generator-side
coil. The main
line contacts open, generatorcontacts close, and the gen-
erator supplies powerto the load.
When commercial power returns, the instant hansfer relay
closes which disconnects the generator side coil of the
transfer switch and allows the line.side to pull in immedi,
ately. At the same time, the start-stop relay energizes to
stop the generating
plant.
High Rote Bottery Chorger: This charger
includes a high
rate of about 2-amps
to boost low batteries and a low rate
(100 - 500 milliamp, adjustable with rheostat) to maintain
batteries once charged. Both are controlled by a toggle
switch on the inner panel. A light indicates when the high
rate is on; the meter indicates the low rate charge cunent.
Load Tlzrnsfet Control LTC800-1200 is contained in two
separatecabinets,
one cabinet containsthe control relays,
battery charger, and
optionalequipment.
The othercabinet
contains the transfer switch. The transfer switch is rated at
8ft)- or 120Gamps
and has non-tripping circuit breakers
actuated by small electric motors. A mechanical interlock
(on the backof the switch) prevents
line and
generator
contacts frombeing closed at the same
time.
5-.