5
Nait 5 Integrated Amplifier
inputs
The Nait 5 has 6 inputs - CD, Tuner, Tape, A/V, AUX1 and AUX 2.
Tape, A/V and AUX 1 all have record output facilities for your cassette deck, VCR etc.
The AUX 2 input is provided with two sockets. Use the right hand socket (when viewed from the rear)
for commenting your usual ancillary equipment. The extra (left hand) socket is for use with separate
phono stage, such as the Prefix or Stageline. Only one of these sockets may be used at a time, for
safety as well as performance. Your amplifier will have a protective cover fitted over the extra socket.
If you wish to use this socket it is advisable to refit the protective cover over the unused socket to
prevent mistakes.
tape facilities and monitor button
The tape monitor (mon) button allows you to listen to the output of a 3-head tape machine while
recording to check the “off-tape” signal. The source for recording is chosen by the input selector
buttons in the normal way.
Pressing the monitor button during recording allows the output from a 3-head tape machine
connected to either tape, A/V or AUX 1 to be heard. After pressing “mon”, select whichever one of
these your tape machine is connected to.
A second press returns the amp to normal position.
mute button
Pressing the mute button reduces the output from the loudspeakers to zero. (This will not affect any
recordings taking place at the same time).
balance adjustment
Balance adjustment (left to right) on the Nait 5 is operated electronically within the amplifier. This is
controlled by the remote handset. Please see separate instructions on page 10.
Each of the inputs can be adjusted so that the volume level from all sources can be matched to one
another. The remote handset enables this function. Please see separate instructions on page 10.
preamp, power amp and power supply options
The Nait 5 has separate preamplifier and power amplifier sections built in to one chassis. These can
be reconfigured for use separately with an external power supply and/or a power amplifier for
improved sound quality.
To enable this the link plugs on the rear panel need to be removed and new connections made.
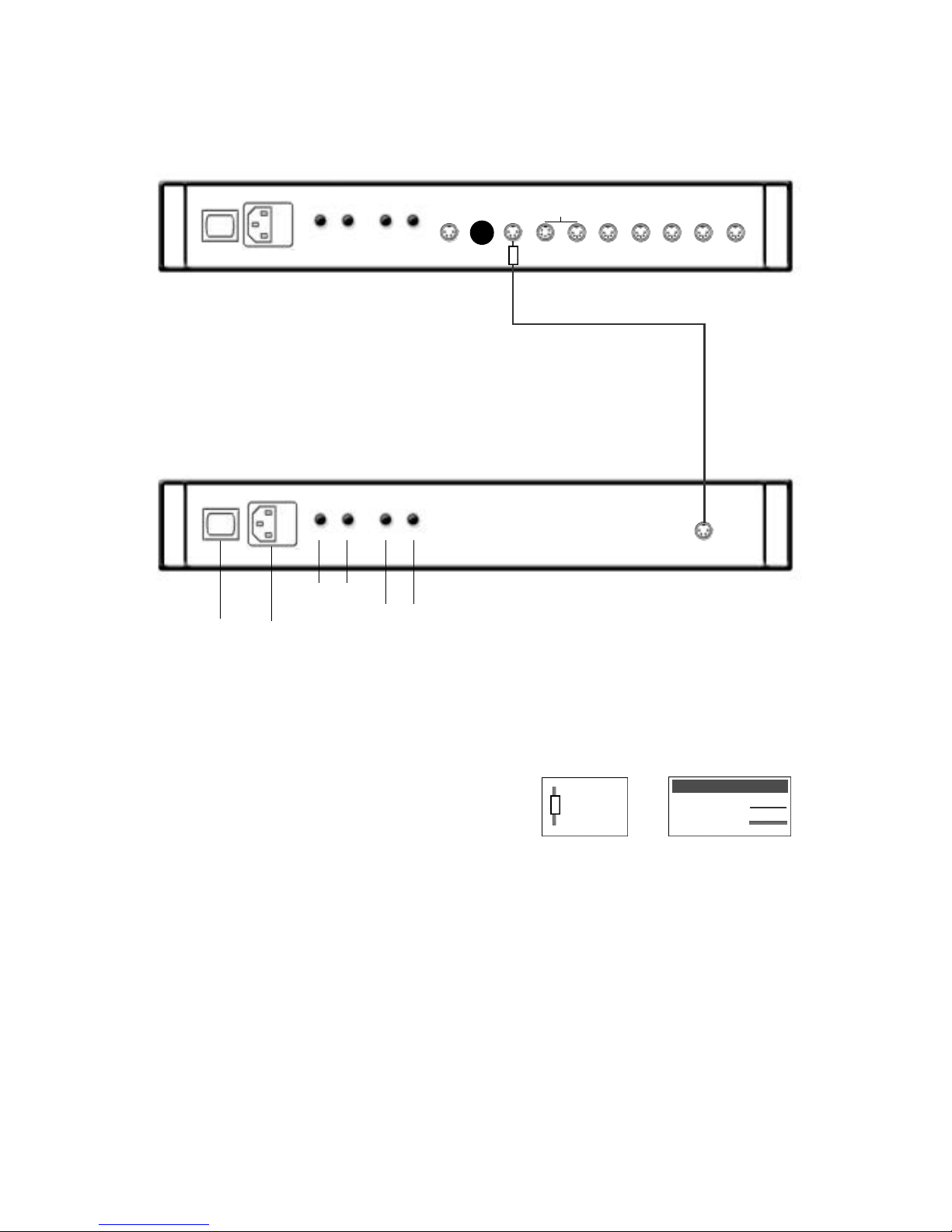
1. to add a separate power supply to the preamp section:
Switch off at mains
Refer to diagram on page 7
Remove all the link plugs
Connect SNAIC 5 between nait and power supply and SNAIC
4 between power supply and nait as shown in the diagram
Switch on power supply and amplifier.
2. to use the preamp section only with a separate power amp:
Switch off at mains
Refer to diagram on page 8
Remove the double link plug, leaving the link in “signal out A”
Connect SNAIC between nait and power amp as shown in
diagram.
3. to add a separate power supply and power amp:
Switch off at mains
Refer to diagram on page 9
Connect SNAIC 5 between nait and power supply and SNAIC
4 between power supply and power amp as shown in diagram.
note
The negative input and output connections
are all common.
The mains earth (ground) should always be
connected regardless of what other
equipment is used in conjunction with
Naim Audio amplifiers. This only grounds
the case and the electrostatic screen within
the transformer, and is not connected to
the signal negative. In order to avoid hum
loops, the signal negative of the whole
system should be connected to the mains
earth (ground) in one place. This will
normally be in the turntable or cd player.