To avoid damage to the appliance, it
should not be installed until the
upper cabinet and exhaust hood
have already been mounted.
~This appliance is not connected to
an exhaust vent. It must be installed
and connected to the power supply in
compliance with the applicable
installation requirements.
~The room will need to be at least 20
m3in volume, with at least one door or
window opening to the outside.
~The countertop veneers must be
affixed with heat-resistant glue
(100 °C), so that they do not become
deformed or detached.
The wall strips must be heat-resistant
as well.
~Installation and assembly of this
appliance in non-stationary locations
(for example, aboard ships) should be
performed only by specialized
companies/technicians, to ensure that
the requirements for safe use are met.
~Because there is the risk of
flameover, a gas cooktop should
NEVER be installed next to a
deep-fryer. A minimum distance of 12"
(300 mm) must be maintained between
these appliances. Other appliances
may be build in directly next to the gas
cooktop.
~Storage cabinets above the cooktop
present a fire hazard.
~This gas cooktop is not authorized
for installation atop
refigerators/freezers, dishwashers, or
washers/dryers.
~Check to be sure that the gas line
and power cord will not come into
contact with any hot spots after
installation. Hot spots can cause heat
damage to the gas line and power
cord.
~The power cord and a flexible gas
line must be arranged in such a way
that they will not come into contact with
moveable parts in the cabinetry (e.g., a
drawer) or be subject to any
mechanical strain.
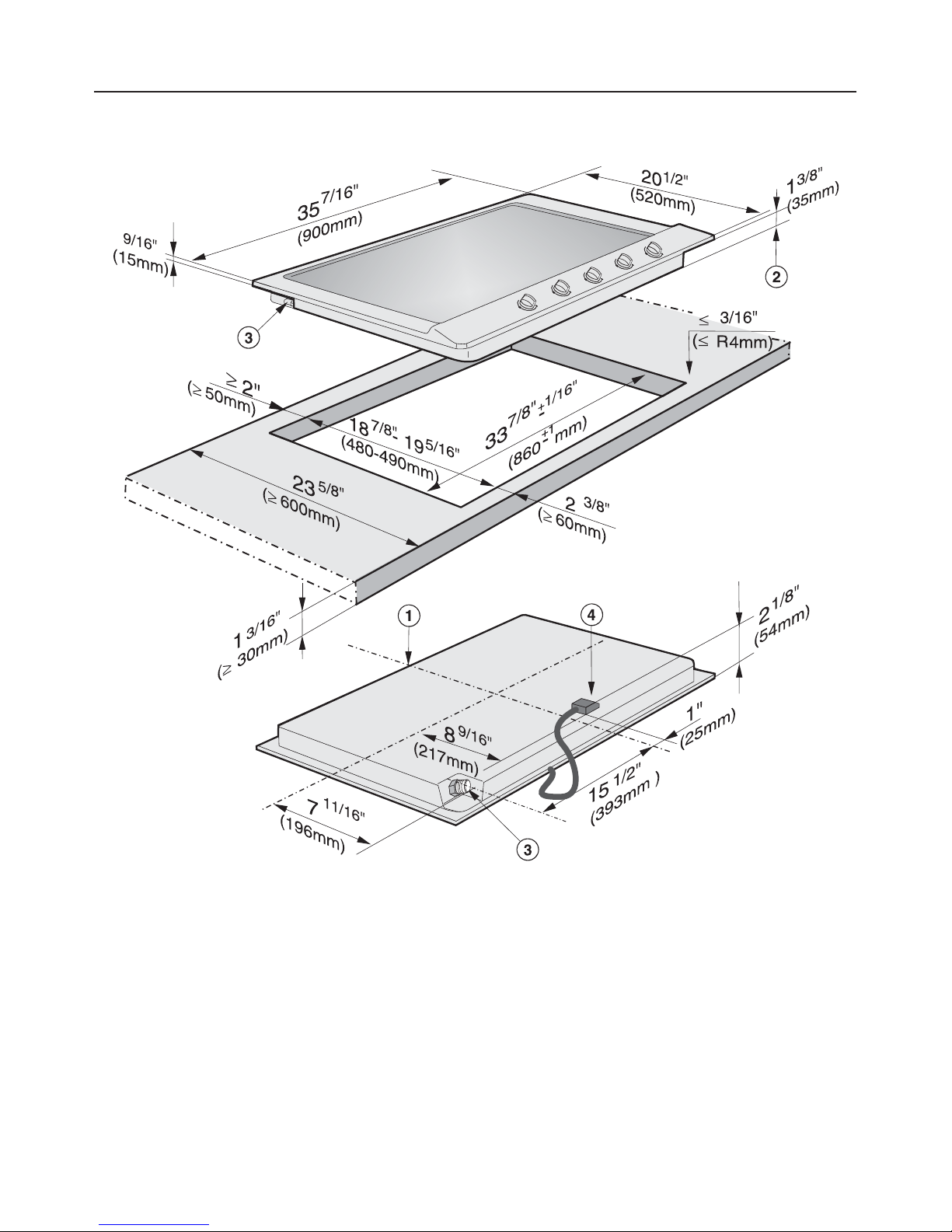
~Be sure to carefully observe the
clearance distances listed on the
following pages.
~Never use caulking unless it is
explicitly called for in the instructions.
The sealing tape for the appliance
provides an adequate seal with the
countertop (see the section on "General
installation notices").
SAFETY NOTICES FOR INSTALLATION
26