
(8)
Build Assembly
The SV3 plow comes fully assembled. The instructions below are provided
for additional troubleshooting or component replacement.
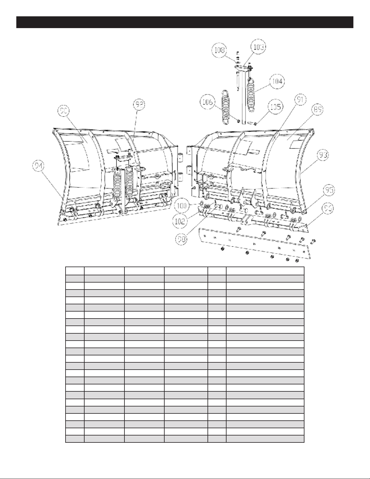
1. Position wing assemblies face down on cardboard as not to damage
the painted surfaces. Grease the bushings on both left and right wings.
Position the wings so pivot bushings align. Note: Cutting Edges will be
inline at this time.
2. Remove 1/2”-13 x 1”set screw located in top of A-Frame tower.
Grease A-Frame bushings and Pivot Pin. With a helper, lift the A-Frame
and insert its bushings in alignment with the wing bushings.
3. Insert Pivot Pin through bushings. Install and tighten 1/2”x 1.50” bolt
and 1/2” lockwasher to top of A-Frame holding Pivot Pin in place.
Note: Wipe o any excess grease at this time.
4. Using the A-Frame as leverage tilt the moldboard assembly raising the
Cutting Edges o the ground. Support Cutting Edges 5 to 6 inches o
the ground.
5. Install the Bottom Belt to left and right wing at Tripedge using 1/2”
x 2.75” carriage bolt and locknut. Note: Be sure that Belt folds are
upward and notches are toward the A-Frame. Assemble Backing
Plate so bent end is facing the cutting edge forcing the belt against the
Tripedge.
6. Using the A-Frame as leverage, tilt the moldboard assembly, raising
the Cutting Edges o the supports. Remove supports and set
moldboard assembly to the upright position.
7. Assemble Snow Deector Brace to Pivot Pin. Place brace under the
pivot pin plate. Attach using two 5/16”x 1-1/4” bolts, 5/16 washers
and 5/16 locknuts.
8. Position moldboard assembly in the “Vee”position.
9. Assemble Top Snow Deector positioning the deector under deector
brace. Attach deector ends under left and right wing gussets
using 5/16” x 1-1/4” bolts, 5/16 locknuts and 5/16 washers. Tighten
locknuts such that washers slightly compress the rubber surface.
Note: Snow Deector Belt should fold/loop downward between brace
and each wing gusset when wings are not in the “Vee” position.
10. Assemble Lift Frame to A-frame using 1 x 3” Pin and 1/4 x 2” Cotter
Pin.
11. Assemble Blue Handle Pin to lift frame by inserting the Blue Handle
Pin through the outer lift frame plates, through the center of the spring.
At this time align the small blue leg on the handle through the notch
on the outermost plate. Compress the spring slightly with your ngers
and insert the 3/16” x 1-1/2” Cotter Pin through the small hole towards
the center of the pin. With cotter pin fully inserted, pull the blue handle
until the spring is fully compressed and rotate the handle one full
turn to bend the cotter pin in place. Realign the small blue leg with
the notch on the outermost plate to lock in place. Repeat assembly
process until both pins are assembled. Note: Lubricate the stainless
steel pins and Lift Frame bearing surfaces with chassis grease or anti-
seize lubricant periodically for easier disengagement of pins.
12. Assemble adjustable stacking stop bolts to lift frame using 5/8-11 x
3” bolts, lockwasher and jamnuts. Note: Adjustment must be made
after moldboard assembly is installed. Adjustment bolts should make
contact with the a-frame before any part of the A-Frame or moldboard
come in contact with the lift arm and, or hydraulic unit while raising
the snowplow or stacking snow. Moldboard should be checked in all
positions.
13. Attach L.H. and R.H. Light Brackets to the side plates of Lift Frame in
the upper two holes using 5/16”-18 x 1-1/4” bolts, 5/16” lockwashers,
and 5/16”-18 hex nuts. Note: Light brackets may be adjusted down
two levels in height for better appearance on lower prole vehicles.
Tighten all fasteners to their proper torque.
14. Attach lift arm to lift frame using 5/8-11 x 5-1/2” bolt and 5/8-11
locknut.
15. Install the U-73 Mounting Bracket to the Lift Frame and Light Bracket
(Passenger Side) using 5/16-18 x 1-1/2”Bolts and 5/16-18 Locknuts.
Install the U-73 Lift Assembly to U-73 Mounting Bracket Assembly
using Bolt H 3/8-16 x 1-1/4” and 3/8 Lockwasher. Remove shipping
plug on U-73 Lift Assembly and install Breather.
16. Attach the Lift Cylinder to the Lift Frame using Bolt H 5/8-11 x 3-1/4”
and
5/8-11 Locknut. Attach the Lift Cylinder to the Lift Arm using Bolt
H 5/8-11 x 4-3/4” and 5/8-11 Locknut. Attach elbow to U-73 Lift
Assembly along with Hose and attach hose to Lift Cylinder using
Straight Fitting.
17. Attach xed end of Wing Cylinders to the A-Frame with a 5/8-11 x 5”
bolt and 5/8-11 locknut on each side. Attach live end of Wing Cylinder
rod to the Wings using a 5/8-11 x 5” bolt and 5/8-11 locknut on each
side.
18. Attach Wing Cylinders hoses to the U-73 Lift Assembly by remov-
ing the caps from the hoses and plugs from the U-73 Lift Assembly.
Install Straight Fittings to bottom of PA Block on U-73 Hydraulic Unit
and connect hoses. See below. Use zip ties to route hoses away from
moving plow parts to prevent chang.
19. Connect Super V Plow Side Harness to U-73 Hydraulic Unit as shown
on the following page.