
SVENSKA 5
SÄKERHETSANVISNINGAR....................................................................................................................... 5
Elektriska stötar ................................................................................................................................... 5
Bensin och olja..................................................................................................................................... 5
Ljuddämpare och motor blir mycket varma ......................................................................................... 5
Anslutningar ......................................................................................................................................... 5
TEKNISKA DATA ......................................................................................................................................... 7
Motor.................................................................................................................................................... 7
Generator............................................................................................................................................. 7
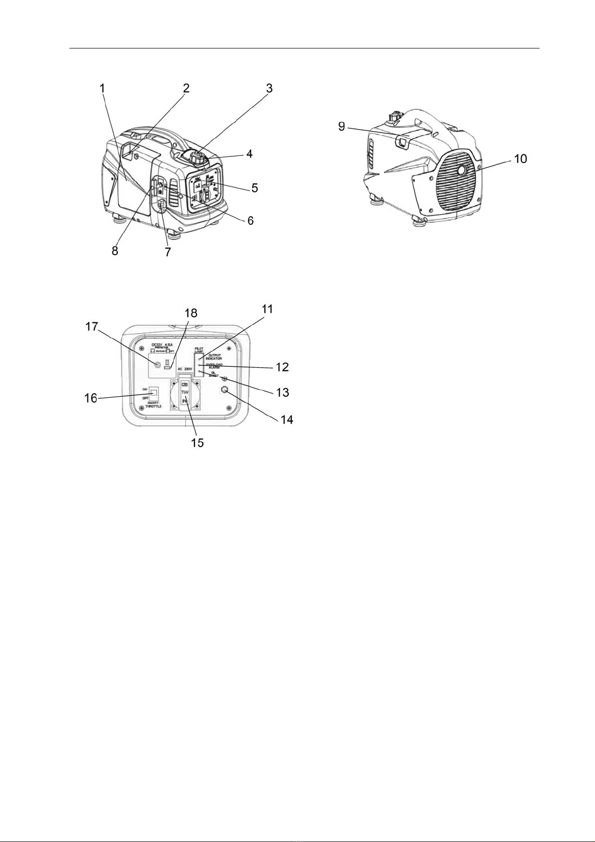
BESKRIVNING ............................................................................................................................................. 8
Placering av etiketter ........................................................................................................................... 8
Strömbrytare motor.............................................................................................................................. 9
Smart läge............................................................................................................................................ 9
Automatsäkring för likström ................................................................................................................. 9
HANDHAVANDE ........................................................................................................................................ 10
Kontroll innan start............................................................................................................................. 10
Kontrollera oljenivån .......................................................................................................................... 10
Oljenivålarm....................................................................................................................................... 10
Kontrollera bränslenivån .................................................................................................................... 10
Kontrollera luftfiltret............................................................................................................................ 10
Starta motorn ..................................................................................................................................... 11
Användning........................................................................................................................................ 11
Likström (DC)..................................................................................................................................... 11
Stänga av motorn............................................................................................................................... 11
UNDERHÅLL.............................................................................................................................................. 12
Byta olja ............................................................................................................................................. 12
Luftfilter .............................................................................................................................................. 12
Tändstift ............................................................................................................................................. 12
Transport och förvaring...................................................................................................................... 13
FELSÖKNING ............................................................................................................................................ 13
NORSK 14
SIKKERHETSANVISNINGER.................................................................................................................... 14
Elektrisk støt ...................................................................................................................................... 14
Bensin og olje .................................................................................................................................... 14
Lyddemperne og motoren blir svært varme....................................................................................... 14
Tilkoblingsmuligheter ......................................................................................................................... 14
TEKNISKE DATA ....................................................................................................................................... 16
Motor.................................................................................................................................................. 16
Generator........................................................................................................................................... 16
BESKRIVELSE........................................................................................................................................... 17
Plassering av etiketter ....................................................................................................................... 17
Strømbryter motor.............................................................................................................................. 18
Smart innstilling.................................................................................................................................. 18
Automatsikring for likestrøm .............................................................................................................. 18
BRUK.......................................................................................................................................................... 19
Kontroll før start ................................................................................................................................. 19
Kontrollere oljenivået ......................................................................................................................... 19
Oljenivålarm....................................................................................................................................... 19
Kontrollere drivstoffnivået .................................................................................................................. 19
Kontrollere luftfilteret.......................................................................................................................... 20
Starte motoren ................................................................................................................................... 20
Bruk.................................................................................................................................................... 20
Likestrøm (DC)................................................................................................................................... 21
Slå av motoren................................................................................................................................... 21
VEDLIKEHOLD .......................................................................................................................................... 21
Skift olje ............................................................................................................................................. 21
Luftfilter .............................................................................................................................................. 22
Tändstift ............................................................................................................................................. 22