2 3
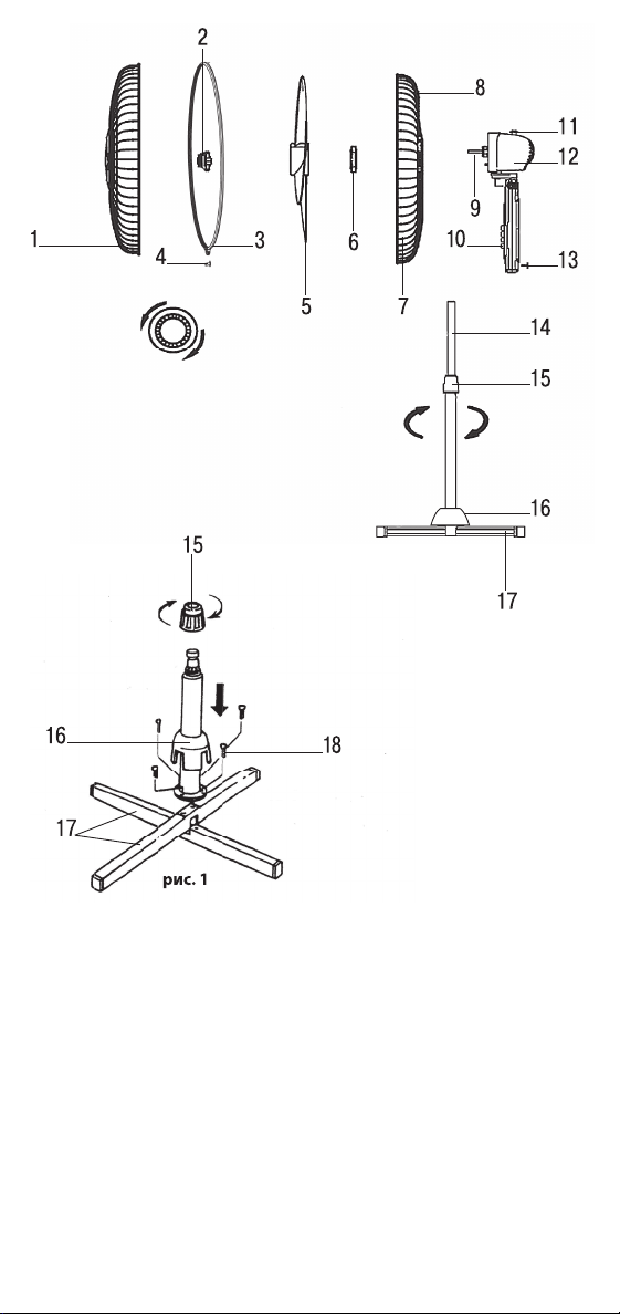
• Установите лопасти (5) на ось электромото-
ра (7), совместив паз лопастей с фиксато-
ром на оси электромотора, и закрепите их
пластиковым фиксатором (2), поворачивая
его против часовой стрелки, придерживая
лопасти (5) свободной рукой.
• В гнёзда фиксирующего кольца (3) устано-
вите гайку и крепёжный винт (4).
• Совместите переднюю решётку (1)
и заднюю решётку (7), скрепите их фикси-
рующим кольцом (3), стяните фиксирующее
кольцо (3), закрутив крепежный винт (4).
Примечание! Для удобства сборки решёток
вентилятора, сначала установите фиксирующее
кольцо (3) на заднюю решетку (7) и слегка под-
тяните крепёжный винт (4). На фиксирующее
кольцо (3) установите нижнюю часть передней
решетки (1). Затем, прижимая нижнюю часть
передней решетки (1) к фиксирующему коль-
цу (3), с обеих сторон сжимая обе решетки,
установите решетку (1) под фиксирующее коль-
цо (3). Закрутите крепёжный винт (4).
• Вентилятор готов к работе.
ИСПОЛЬЗОВАНИЕ ВЕНТИЛЯТОРА
• Убедитесь в том, что напряжение электри-
ческой сети соответствует рабочему напря-
жению устройства.
• Убедитесь, что вентилятор выключен, для
этого нажмите кнопку «0» на панели управ-
ления (10).
• Вы можете менять угол наклона мотор-
ного блока (12). Поворотом против часо-
вой стрелки, ослабьте фиксатор, устано-
вите желаемый угол наклона моторного
блока (12), зафиксируйте выбранный угол
наклона, поворачивая фиксатор по часо-
вой стрелке.
• Вставьте вилку сетевого шнура в электри-
ческую розетку.
• Нажатием кнопок на панели управле-
ния (10), выберите необходимую скорость
вращения лопастей (5):
«0» – вентилятор выключен;
«1» – низкая скорость вращения лопастей;
«2» – средняя скорость вращения лопастей;
«3» – высокая скорость вращения лопастей.
• Нажмите кнопку (11) для включения враще-
ния моторного блока в горизонтальной пло-
скости. Чтобы отключить вращение, потяни-
те кнопку (11) вверх.
• Для отключения устройства нажмите кнопку
«0» (вентилятор выключен).
• Извлеките вилку сетевого шнура из элек-
трической розетки.
ЧИСТКА И УХОД
• Выключите устройство и извлеките вилку
сетевого шнура из электрической розетки.
•
Для чистки вентилятора запрещается
использовать моющие жидкие и абразивные
чистящие средства.
•
Протирайте устройство мягкой сухой тканью.
• Для чистки лопастей снимите переднюю
решётку (1), предварительно ослабив кре-
пёжный винт (4) и сняв фиксирующее кольцо
(3). Открутите фиксатор лопастей (2), вра-
щая его по часовой стрелке, затем снимите
лопасти (5).
• Протрите лопасти (5) слегка влажной тка-
нью, после чего вытрите их насухо.
•
Соберите вентилятор, следуя указаниям по
сборке в разделе «Перед первым исполь-
зованием»
•
Запрещается погружать моторный блок (12),
сетевой шнур и вилку сетевого шнура в воду
или в любые другие жидкости.
ХРАНЕНИЕ
• Отключите устройство от электрической
сети и произведите его чистку.
•
При необходимости разберите вентилятор.
Снимите фиксирующее кольцо (3), пред-
варительно ослабив крепёжный винт (4),
переднюю решётку (1), а затем и лопасти
(5), открутив фиксатор лопастей (2), вращая
его по часовой стрелке. Открутите пласти-
ковую гайку (6), поворачивая ее против часо-
вой стрелки, и снимите заднюю решетку (7)
с моторного блока (12). Снимите моторный
блок (12) с телескопической штанги (14).
Выкрутите фиксатор (15), поворачивая его
против часовой стрелки. Сняв фиксатор
(15), снимите с телескопической штанги (14)
декоративную накладку (16). Открутив винты
(18), отсоедините телескопическую штангу
(14) от опор (17). Разъедините опоры (17).
• Поместите устройство в упаковку.
• Храните устройство в сухом прохладном
месте, недоступном для детей и людей
с ограниченными возможностями.
КОМПЛЕКТ ПОСТАВКИ
Моторный блок вентилятора – 1 шт.
Передняя решётка – 1 шт.
Фиксирующее кольцо с винтом
и гайкой – 1 шт.
Фиксатор лопастей – 1 шт.
Лопасти – 1 шт.
Задняя решётка – 1 шт.
Телескопическая штанга с фиксатором
и декоративной накладкой – 1 шт.
Опоры – 2 шт.
Винт – 4 шт.
Инструкция – 1 шт.
ТЕХНИЧЕСКИЕ ХАРАКТЕРИСТИКИ
Электропитание: 220-240 В ~ 50-60 Гц
Номинальная потребляемая мощность: 35 Вт
Диаметр: 40 см (16”)
УТИЛИЗАЦИЯ
В целях защиты окружающей среды, после окон-
чания срока службы прибора и элементов пита-
ния (если входят в комплект), не выбрасывайте
их вместе с обычными бытовыми отходами, пере-
дайте прибор и элементы питания в специализи-
рованные пункты для дальнейшей утилизации.
Отходы, образующиеся при утилизации изде-
лий, подлежат обязательному сбору с последу-
ющей утилизацией в установленном порядке.
Для получения дополнительной информации
об утилизации данного продукта обратитесь
в местный муниципалитет, службу утилизации
бытовых отходов или в магазин, где Вы приоб-
рели данный продукт.
Производитель сохраняет за собой право
изменять дизайн, конструкцию и техниче-
ские характеристики, не влияющие на общие
принципы работы устройства, без предва-
рительного уведомления, из-за чего между
инструкцией и изделием могут наблюдаться
незначительные различия. Если пользова-
тель обнаружил такие несоответствия, про-
сим сообщить об этом по электронной почте
info@maxwell-products.ru для получения
обновленной версии инструкции.
Срок службы устройства – 3 года
Данное изделие соответствует всем
требуемым европейским и российским
стандартам безопасности и гигиены.
ИЗГОТОВИТЕЛЬ: СТАР ПЛЮС ЛИМИТЕД
(STAR PLUS LIMITED)
МЕСТОНАХОЖДЕНИЕ И ПОЧТОВЫЙ АДРЕС
ДЛЯ СВЯЗИ: ЮНИТ БИ ЭНД СИ, 15Й ЭТАЖ,
КЭЙСИ АБЕРДИН ХАУС, №38, ХЁНГ ИП РОУД,
ВОНГ ЧУК ХАНГ, ГОНКОНГ, КНР
УПОЛНОМОЧЕННОЕ ИЗГОТОВИТЕЛЕМ
ЛИЦО: ООО «ГИПЕРИОН»
117209, РОССИЯ, Г. МОСКВА,
СЕВАСТОПОЛЬСКИЙ ПР-Т, Д. 28, КОРП. 1.
ТЕЛ.: +7 (495) 921-01-76,
Ответственность за несоответствие продукции
требованиям технических регламентов Тамо-
женного союза возложена на уполномоченное
изготовителем лицо.
ИМПОРТЕР: ООО «ЛИГА ТЕХНИКИ»
ИНН 5027044332
МЕСТОНАХОЖДЕНИЕ И ПОЧТОВЫЙ
АДРЕС ДЛЯ СВЯЗИ: МОСКОВСКАЯ ОБЛ.,
Г. ЛЮБЕРЦЫ, РАБОЧИЙ ПОСЕЛОК ТОМИЛИНО,
МИКРОРАЙОН ПТИЦЕФАБРИКА, ЛИТ. П14
www.maxwell-products.ru
ТЕЛЕФОН ДЛЯ СПРАВОК: 8-800-100-18-30
СДЕЛАНО В КНР
РУССКИЙ
ВЕНТИЛЯТОР MW-3540
Вентилятор предназначен для искусственной
вентиляции помещений
ОПИСАНИЕ ВЕНТИЛЯТОРА
1. Передняя защитная решётка
2. Пластиковый фиксатор лопастей
3. Фиксирующее кольцо
4. Крепежный винт
5. Лопасти
6. Пластиковая гайка для фиксации задней
решётки
7. Задняя решётка
8. Ручка для переноски вентилятора
9. Ось мотора
10. Панель управления
11. Кнопка включения/выключения вращения
12. Моторный блок
13. Фиксатор моторного блока
14. Телескопическая штанга
15. Фиксатор телескопической штанги
16. Декоративная накладка
17. Опоры
18. Крепёжные винты
МЕРЫ БЕЗОПАСНОСТИ
Перед началом эксплуатации электроприбора
внимательно прочитайте настоящую инструк-
цию по эксплуатации и сохраните её для
использования в качестве справочного мате-
риала.
Используйте устройство только по его прямому
назначению, как изложено в данной инструкции.
Неправильное обращение с устройством может
привести к его поломке, причинению вреда
пользователю или его имуществу.
•
Перед первым включением убедитесь в том,
что напряжение электрической сети соот-
ветствует рабочему напряжению устройства.
• Перед использованием прибора вниматель-
но осмотрите сетевой шнур и убедитесь
в том, что он не повреждён. Если вы обна-
ружили повреждение сетевого шнура, не
пользуйтесь устройством.
• Запрещается использовать вентилятор вне
помещений.
• Устанавливайте устройство на ровной,
сухой и устойчивой поверхности, вдали от
источников тепла или открытого пламени.
• Не используйте устройство вблизи ёмко-
стей с водой, в непосредственной близости
от кухонной раковины, в сырых подвальных
помещениях или рядом с бассейном.
• Не погружайте вентилятор, сетевой шнур
и вилку сетевого шнура в воду или любые
другие жидкости.
• Не прикасайтесь к корпусу устройства
и к вилке сетевого шнура мокрыми руками.
• Если вентилятор упал в воду, то прежде
чем достать его из воды, необходимо
вынуть вилку сетевого шнура из электри-
ческой розетки, и только после этого можно
извлечь вентилятор из воды. Обратитесь
в ближайший авторизованный (уполномо-
ченный) сервисный центр для осмотра или
ремонта вентилятора, по контактным адре-
сам, указанным в гарантийном талоне и на
сайте www.maxwell-products.ru.
• Не допускайте соприкосновения сетевого
шнура с горячими поверхностями и остры-
ми кромками мебели.
• Запрещается включать несобранный вен-
тилятор.
• Во избежание получения травм или повреж-
дения устройства запрещается вставлять
посторонние предметы в отверстия защит-
ных решёток вентилятора.
• Запрещается прикасаться к вращающим-
ся лопастям во время работы вентилятора.
• Не размещайте вентилятор вблизи штор,
занавесок или комнатных растений.
• Не рекомендуется находиться под потоком
воздуха от вентилятора в течение продол-
жительного периода времени (особенно
детям и людям пожилого возраста).
• Никогда не оставляйте включённое устрой-
ство без присмотра.
• Отключайте вентилятор от электрической
сети перед чисткой, а также в том случае,
если вы не пользуетесь устройством или
перед тем, как перенести его в новое место.
• Отключая вентилятор от электрической
сети, не тяните за сетевой шнур, а держи-
тесь за вилку сетевого шнура.
• Регулярно производите чистку устройства.
• Осуществляйте надзор за детьми, чтобы
не допустить использования устройства
в качестве игрушки.
•
Из соображений безопасности детей не
оставляйте полиэтиленовые пакеты, исполь-
зуемые в качестве упаковки, без присмотра.
ВНИМАНИЕ! Не разрешайте детям играть
с полиэтиленовыми пакетами или упаковочной
плёнкой. Опасность удушья!
• Не разрешайте детям прикасаться к устрой-
ству и к сетевому шнуру во время работы
устройства.
•
Данное устройство не предназначено для
использования лицами (включая детей)
с пониженными физическими, психически-
ми или умственными способностями или при
отсутствии у них опыта или знаний, если они
не находятся под контролем или не проин-
структированы об использовании прибора
лицом, ответственным за их безопасность.
• При повреждении шнура питания его заме-
ну во избежание опасности должны произ-
водить изготовитель, сервисная служба или
подобный квалифицированный персонал.
• Запрещается самостоятельно ремонтиро-
вать прибор. Не разбирайте прибор само-
стоятельно, при возникновении любых
неисправностей, а также после падения
устройства выключите прибор из розет-
ки и обратитесь в любой авторизованный
(уполномоченный) сервисный центр по кон-
тактным адресам, указанным в гарантийном
талоне и на сайте www.maxwell-products.ru.
•
Перевозите устройство в заводской упаковке.
• Храните устройство в сухом прохладном
месте, недоступном для детей и людей
с ограниченными возможностями.
УСТРОЙСТВО ПРЕДНАЗНАЧЕНО ТОЛЬКО ДЛЯ
БЫТОВОГО ИСПОЛЬЗОВАНИЯ В ЖИЛЫХ
ПОМЕЩЕНИЯХ, ЗАПРЕЩАЕТСЯ КОММЕР-
ЧЕСКОЕ ИСПОЛЬЗОВАНИЕ И ИСПОЛЬ-
ЗОВАНИЕ УСТРОЙСТВА В ПРОИЗВОДСТ-
ВЕННЫХ ЗОНАХ И РАБОЧИХ ПОМЕЩЕНИЯХ.
ПЕРЕД ПЕРВЫМ ИСПОЛЬЗОВАНИЕМ
После транспортировки или хранения
устройства при пониженной температуре
необходимо выдержать его при комнатной
температуре не менее трех часов.
Вентилятор поставляется в разобранном виде.
Ни в коем случае не включайте вентилятор, не
произведя его полной сборки.
• Извлеките устройство из упаковки и уда-
лите любые наклейки, мешающие работе
устройства.
•
Проверьте целостность устройства, при нали-
чии повреждений не пользуйтесь устройством.
• Установите крестообразно опоры (17),
используя ровную сухую поверхность.
• Установите на опоры (17) телескопическую
штангу (14) и закрепите её четырьмя кре-
пежными винтами (18).
• Выкрутите фиксатор (15), поворачивая
его против часовой стрелки. Сняв фикса-
тор (15), установите на телескопическую
штангу (14) декоративную накладку (16).
Установите на место фиксатор (15), повер-
нув его несколько раз по часовой стрелке.
• Выдвиньте штангу (14) на желаемую высоту
и зафиксируйте её, закрутив с небольшим
усилием фиксатор (15), поворачивая его по
часовой стрелке.
• Установите до упора моторный блок (12) на
телескопическую штангу (14) и закрепите
его фиксатором (13), не прилагайте значи-
тельных усилий при закручивании фиксато-
ра моторного блока (13).
• Установите заднюю решётку (7) на мотор-
ный блок (12),совместив направляющие на
моторном блоке (12) с соответствующи-
ми отверстиями на решетке (7). Ручка для
переноски (8), расположенная на задней
решетке (7), должна быть вверху. Закрепите
заднюю решетку (7) на моторном блоке (12)
пластиковой гайкой (6), закрутив ее по часо-
вой стрелке до упора.
IM MW-3540.indd 1 11/19/19 10:08 AM