
ENG
FRA
ESP
POR
DANGER
DANGER
PELIGRO
PERIGO
FIRE
INCENDIE
FUEGO
INCÊNDIO
EXPLOSION
EXPLOSION
EXPLOSIÓN
EXPLOSÃO
FUMES
VAPEURS
VAPORES
VAPORES
Instruction Manual
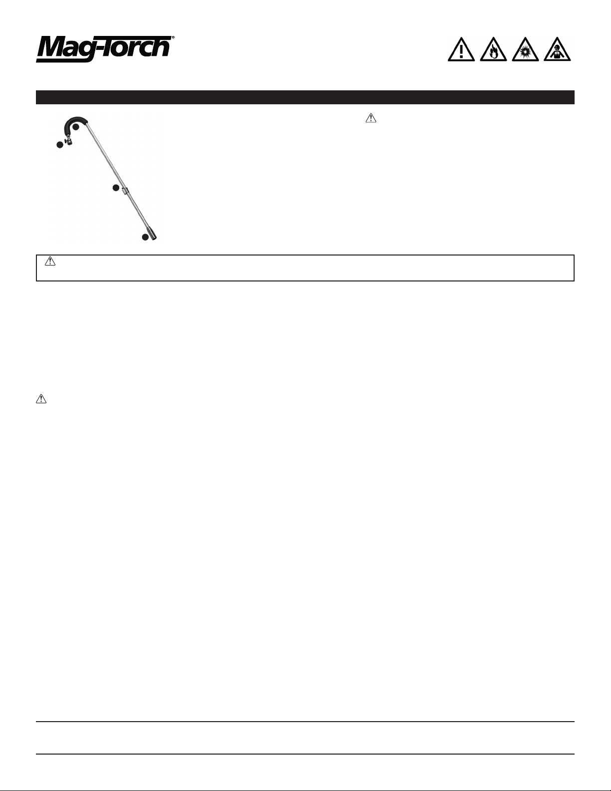
1
1
1
2
1
3
1
4
AVERTISSEMENT: Ce produit peut vous exposer à des agents chimiques, dont le plomb, lequel est reconnu par l’État de la
Californie comme cause de cancer, de malformations congénitales et d’autres troubles de l’appareil reproducteur. Pour de plus amples
renseignements, visiter le site www.P65Warnings.ca.gov. Se laver les mains après chaque utilisation.
• Prendre toutes les mesures nécessaires pour éviter de chauffer le réservoir de combustible.
• Ne pas exposer le chalumeau ou le combustible à une température supérieure à 49°C/120°F ou à une exposition prolongée au soleil.
• Ne jamais utiliser le chalumeau en présence de vapeurs, de liquides inflammables ou de matières explosives.
• Ne jamais percer le réservoir de combustible ou exposer le chalumeau aux flammes.
• Ne pas inhaler les gaz, les vapeurs ou les pulvérisations. En cas d’inhalation, déplacer la personne affectée à l’air frais.
• Éviter tout contact avec les yeux et la peau. En cas de contact avec les yeux, rincer immédiatement à grande eau et consulter un médecin.
En cas de contact avec la peau, rincer à grande eau.
• Ne pas modifier le chalumeau de quelque manière que ce soit. Ne pas modifier les réglages d’origine. Des blessures graves, voire
mortelles, risquent de survenir si l’on modifie les réglages d’origine ou les pièces montées en usine. Toujours utiliser les pièces de
rechange recommandées par le fabricant.
AVERTISSEMENTS
• Garder le chalumeau hors de portée des enfants et de toute personne qui n’a pas lu les instructions. Ne pas orienter le chalumeau en
direction du visage, d’autrui ou d’objets inflammables. Ne jamais tenter d’utiliser le chalumeau comme briquet pour allumer une cigarette.
• Toujours porter des lunettes de protection et des gants pour allumer et utiliser le chalumeau.
• Pour éviter d’endommager le chalumeau, le protéger des chocs et ne jamais le laisser tomber sur le sol ou sur des surfaces dures. Ne
jamais utiliser un chalumeau qui semble être endommagé. Ne pas tenter de réparer la bouteille.
• Vérifier l’étanchéité des raccords avant l’utilisation. Ne pas rechercher les fuites de gaz avec une allumette ou une flamme nue. Appliquer
de l’eau savonneuse sur le raccord de la bouteille. Si des bulles apparaissent, détacher la bouteille.
• Ne pas utiliser le chalumeau s’il fuit, s’il est endommagé ou s’il fonctionne mal. Si le chalumeau fuit, communiquer avec le fabricant ou le
vendeur.
• Ne pas essayer d’allumer le chalumeau avec une allumette ou un briquet. Garder la main à l’écart du bec.
• Allumer le chalumeau en l’éloignant du visage, des mains, des vêtements ou de toute matière inflammable.
• Ne pas utiliser comme un appareil de chauffage.
• Toujours utiliser le chalumeau avec la bouteille bien droite; si l’on incline la bouteille, le gaz liquide atteindra le bec, produisant une grande
flamme jaune. Redresser alors immédiatement la bouteille et fermer le robinet.
• Avant de chauffer une surface, vérifier que la chaleur ne se communiquera pas aux surfaces adjacentes qui pourraient être combustibles ou
se pressuriser lorsqu’elles sont chauffées. Pendant l’utilisation, vérifier fréquemment les surfaces adjacentes (chauffage imprévu).
• Travailler uniquement dans un endroit bien ventilé. Éviter les vapeurs de flux, de peinture à base de plomb et de tout métal chauffé. Veiller à
éviter les vapeurs de cadmiage et de métaux galvanisés.
• S’assurer que le chalumeau a complètement refroidi avant de le ranger. Toujours détacher la bouteille du chalumeau avant l’entreposage.
• La brique et le béton exposés à une température élevée sont susceptibles de se fissurer et d’exploser.
• Ne pas laisser sans surveillance.
FRENCH | FRANÇAIS | FRANCÉS | FRANCÊSModel: MT450
DANGER
Ce chalumeau est utilisé avec un produit inflammable. Le non-
respect de ces avertissements et de ces instructions risque
d’entraîner une explosion ou un incendie qui pourrait causer des
dommages matériels, des blessures graves ou la mort.
Lire et observer les instructions et les avertissements donnés dans
ce guide et prendre le temps de se familiariser avec le chalumeau
avant de l’allumer et de l’utiliser. Réviser régulièrement les
instructions et les avertissements afin de se rappeler les procédures
à suivre. Ne pas utiliser l’appareil avant d’avoir lu les instructions.
Le chalumeau ne doit être utilisé qu’avec des bouteilles à gaz
portatives, expressément réservées aux chalumeaux.
DO NOT DISCARD THESE WARNINGS AND INSTRUCTIONS | NE PAS JETER CES AVERTISSEMENTS ET CES INSTRUCTIONS
NO DESECHE ESTAS ADVERTENCIAS E INSTRUCCIONES | NÃO DESCARTE ESTES AVISOS DE ATENÇÃO E INSTRUÇÕES