Koei Industry Nucom Series Manuel utilisateur

ACT-N02E-1
ELECTRONIC CONTROL
ACTUATOR
OPERATION MANUAL
“ Nucom Series “
ROTARY TYPE
Nucom-10NS
Nucom-10NM
Nucom-10NL
Nucom-10NL-100
Nucom-10NL-150
Nucom-10NL-200
Koei Industry Co., Ltd.

ACT-N02E-1
FOR YOUR SAFETY
In order for better and safety use of the product for a long period, please observe this
“ WARNING and CAUTION “ carefully.
Here are the specification and operation manual for the product to prevent suffering
injury or loss by accidents.
The contents are divided into “WARNING” and “CAUTION” for different degree of
risks.
Please strictly observe them, as both of them are very important for your safety.
WARNING:
Improper handling of the product disregarding the notes under this
mark may cause injury or death to a man.
CAUTION: Improper handling of the product disregarding the notes under this
mark may cause injury or material loss.
WARNING
* This product is not of explosion-proof.
Do not use it in the environment with flammable gas (gasoline etc.)
or corrosive gas.
* Do not dismantle the actuator from the valve during power operation.
* Do not make wiring work when power is being supplied.
CAUTION
* Do not drop the product or give a shock to the product, for it may
cause defects to the product.
* Do not get on the actuator, or it may cause defects or an accident.
* Do not make wiring work in the rain or in splashing water.

ACT-N02E-1
CONTENTS
1. GENERAL
2. CONFIGURATION
2-1 Configuration and names of parts
2-2 Dimensions
3. SPECIFICATION
4. OPERATION PRINCIPLE
4-1 Operation principle
4-2 Block diagram
5. INSTALLATION
6. WIRING
6-1 Cables
6-2 Water prevention
7. ASSEMBLY WITH A VALVE
7-1 Names of parts
7-2 Assembly procedures
8. POWER AND SIGNALS
8-1 Power source
8-2 Fuse and breaker
8-3 Input signals
8-4 Wiring diagram
9. CONTROL PACK (Module)
9-1 Names of parts
9-2 Direction mode
9-3 Mode selection during signal interruption
9-4 Sensitivity volume
9-5 ZERO / SPAN adjustment
10. OPERATION
10-1 Manual operation
10-2 Power operation
11. ADJUSTMENT
11-1 Potentiometer and limit switches
11-2 Mechanical stop
12. TROUBLE AND SOLUTION
13. MAINTENANCE
14. OPTIONAL EXTRAS

ACT-N02E-1
1
1.GENERAL
This is a quarter turn electronic control actuator series.
The modulated actuators are operated with 4~20mA DC(or 1~5V DC) direct signals from a computer.
The precision (control resolution) of 1/250 is far higher than those of conventional pneumatic systems.
FEATURES
1. High control resolution of more than 1/250 with the original servo control pack.
2. Compact design with worm drive and robust aluminum die cast body.
3. Easy direction mode setting (Direct or reverse).
4. Easy mode selection (open, close or stop) during signal interruption.
5. Plural protections (thermal motor protector etc.).
6. Water protection: NEMA-4X (to IP-66).
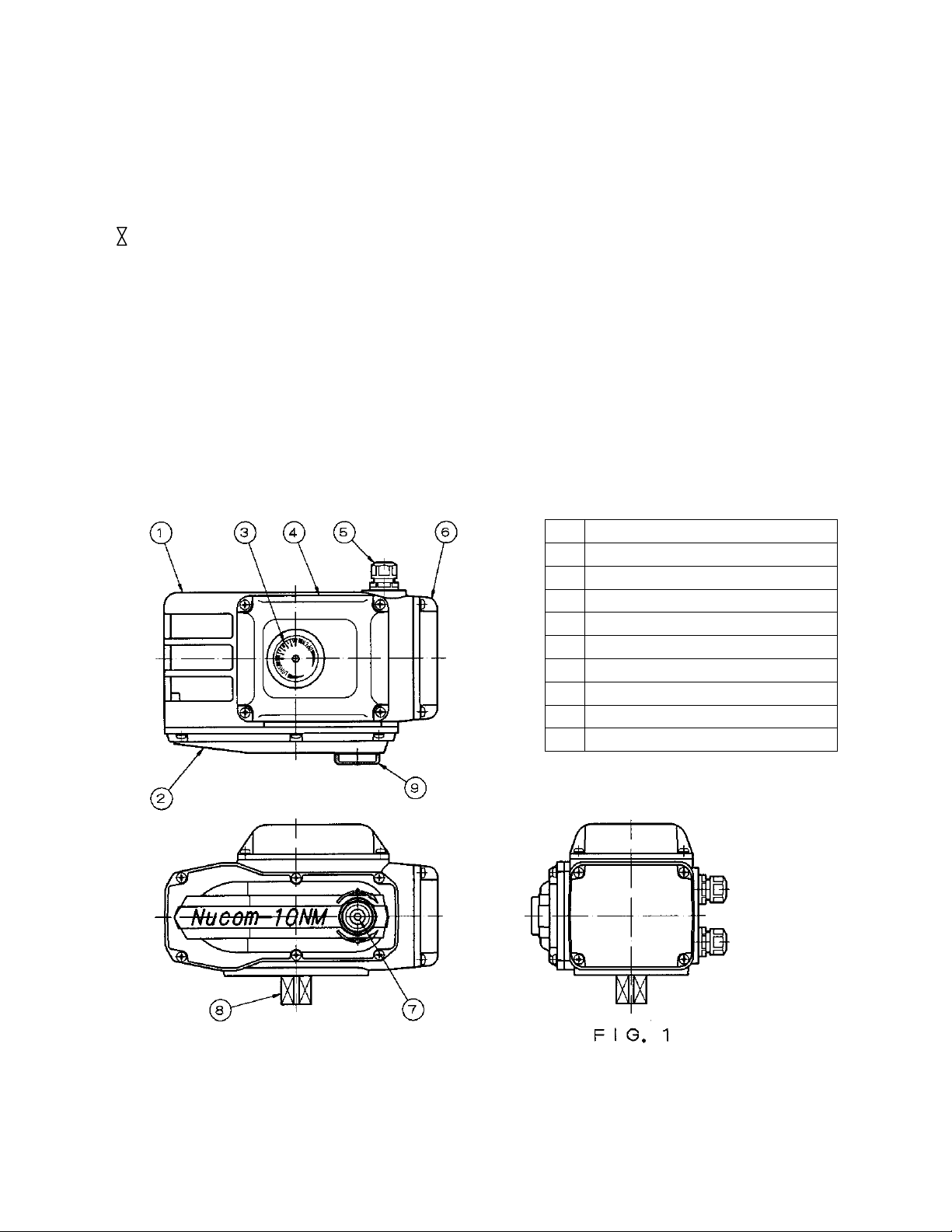
2. CONFIGURATION
2-1 Configuration and names of parts
No. NAME
1 NEMA 4X Housing
2 Gear Cover
3 Valve Position Indicator
4 Valve Switch/Pot. Cover
5 Conduit
6 Terminal Strip Cover
7 Manual Over Ride Socket
8 Male Output Shaft
9 O/R Socket Dust Cover

ACT-N02E-1
2
2-2 Nucom-10NS, 10NM, 10NL external drawings
<Nucom-10NS>
<Nucom-10NM>

ACT-N02E-1
3
<Nucom-10NL, -100, -150, -200>

ACT-N02E-1
4
3. FUNCTIONAL SPECIFICATION
Nucom-10NS Nucom-10NM
MODEL
ITEM STD SPECIAL STD SPECIAL
RATED POWER AC100·110·115·120V±10% (50/60 Hz)
AC200·220·230·240V±10% (50/60 Hz)
INPUT SIGNAL 4~20mA·DC (Standard Specification)
4~12/12~20mA·DC (Optional Specification)
OUTPUT TORQUE 49N·m
(5kgf·m)
98 N·m
(10 kgf·m)
196N·m
(20kgf·m)
392 N·m
(40 kgf·m)
15sec(50HZ) 30sec(50HZ) 15sec(50HZ) 30sec(50HZ)
OPERATION SPEED 12.5sec(60HZ) 25sec(60HZ) 12.5sec(60HZ) 25sec(60HZ)
TRAVEL ANGLE 0~90º
RESOLUTION Over 1/250
DEAD ZONE Max. 0.5% F.S.
LINEARITY Max. 0.5% F.S.
ACTION MODE Direct or reverse action selectable
MODE WHEN SIGNAL “OFF” CLOSE/STOP/OPEN : selectable
PROTECTION
OPEN/CLOSE limit switches
OPEN/CLOSE mechanical stopper
Motor thermal protector (120ºC)
AMBIENT TEMPERATURE Ambient temperature within: -25~55ºC
AC100V 0.65A 1.8A
AC110V 0.70A 2.0A
AC115V 0.60A 1.6A
AC120V 0.65A 1.8A
AC200V 0.35A 0.9A
AC220V 0.40A 1.0A
AC230V 0.30A 0.7A
RATED CURRENT
AC240V 0.35A 0.9A
MOTOR 20W Reversible 90W Reversible
INSULATION GRADE E Class
RATED OPERATION TIME Continuous
POSITION DETECTOR Potentiometer (Backlash revision type)
OUTPUT SIGNAL 4~20mA·DC (Standard spec.)
OPEN / CLOSE limit no-voltage output(Optional extra)
INSULATION RESISTANCE Between power terminal – case : 500V·DC / 100MΩ
WITHSTAND VOLTAGE Between power terminal – case : 1500V·AC / 1 minute
SERVO CONTROL UNITS Resin molded semi-conductors
MANUAL OPERATION Detachable crank handle (Standard accessory)
WIRE INLET G1/2×2 (Water-sealed conduit)
ENCLOSURE PROTECTION NEMA-4X (IP-66)
EXPLOSION PROOF Non explosion-proof
MOUNTING ANGLE 360º all directions
BODY MATERIAL Diecast aluminum
COATING Munsel N-6
WEIGHT 4.4kg 8.2kg

ACT-N02E-1
5
Nucom-
MODEL
ITEM 10NL 10NL-100 10NL-150 10NL-200
RATED POWER AC110·115·120V±10% (50/60 Hz)
AC220·230·240V±10% (50/60 Hz)
INPUT SIGNAL 4~20mA DC (Standard Specification)
4~12/12~20mA DC (Optional Specification)
OUTPUT TORQUE 490N·m
(50kgf·m)
980N·m
(100kgf·m)
1470N·m
(150kgf·m)
1960N·m
(200kgf·m)
15sec 30sec 45sec 60sec
OPERATION SPEED 12.5sec 25sec 37.5sec 50sec
TRAVEL ANGLE 0~90º
RESOLUTION More than 1/250
DEAD ZONE Max. 0.5% F.S.
LINEARITY Max. 0.5% F.S.
ACTION MODE Direct or reverse action selectable
MODE WHEN SIGNAL “OFF” CLOSE/STOP/OPEN : selectable
PROTECTION
OPEN/CLOSE limit switches
OPEN/CLOSE mechanical stopper
Motor thermal protector (120ºC)
AMBIENT TEMPERATURE Ambient temperature within: -25~55ºC
AC100V 2.4A 2.9A 3.4A
RATED CURRENT AC110V 2.6A 3.0A 3.5A
AC115V
2.2A 2.6A 3.2A
AC120V
2.4A 2.8A 3.4A
AC200V
1.2A 1.5A 1.8A
AC220V
1.4A 1.6A 1.9A
AC230V
1.1A 1.3A 1.6A
AC240V
1.2A 1.4A 1.7A
MOTOR 100W Reversible
INSULATION GRADE E Class
RATED OPERATION TIME Continuous
POSITION DETECTOR Potentiometer (Backlash revision type)
OUTPUT SIGNAL 4~20mA·DC (Standard spec.)
OPEN / CLOSE limit no-voltage output(Optional extra)
INSULATION RESISTANCE Between power terminal – case : 500V·DC / 100MΩ
WITHSTAND VOLTAGE Between power terminal – case : 1500V·AC / 1 minute
SERVO CONTROL UNITS Resin molded semi-conductors
MANUAL OPERATION Detachable crank handle (Standard accessory)
WIRE INLET G1/2×2 (Water-sealed conduit)
ENCLOSURE PROTECTION NEMA-4X (IP-66)
EXPLOSION PROOF Non explosion-proof
MOUNTING ANGLE 360º all directions
BODY MATERIAL Diecast aluminum
COATING Munsel N-6
WEIGHT 20.5kg 21.5kg 22.5kg

ACT-N02E-1
6
4. OPERATION PRINCIPLE
4-1 Operation principle
The system makes computation between input signals (4~20mA DC) and position signals, then turns the motor in
direction to balance them, and stops the motor when they are balanced.
The motor torque is transmitted through the worm structure to the actuator shaft.
Rotation direction (direct or reverse) is selectable at the setting switch.
The backlash revision type potentiometer detects and feedbacks the shaft position to the control pack.
The system always controls shaft position at the correlated rates with input signals.
< BLOCK DIAGRAM >

ACT-N02E-1
7
CAUTION ON ENVIRONMENTAL INSTALLATION CONDITIONS
5.INSTALLATION
5-1 Installation
Cautions on indoor installation
*Avoid a hazardous place, as this is not an explosion-proof type.
*Cover whole the unit, when installing the unit in a place with water or material splashes.
* It is recommendable to reserve a space for manual maintenance work.
(depends on installation conditions.)
Caution on outdoor installation
* To avoid rainwater or direct sunlight, it is necessary to cover or shade whole the unit.
(This concerns temperature rise in the unit, and anti-climate property of seals used.)
* It is recommendable to reserve a space for manual maintenance work.
(depends on installation conditions.)
ACTUATOR SURFACE MATERIALS AND TREATMENT
MODEL
PART Nucom-10NS Nucom-10NM Nucom-10NL
BODY BASE
Die cast Aluminum
Oxidation treatment
Electrostatic coating
DRIVE UNIT
COVER
Die cast Aluminum
Oxidation treatment
Electrostatic coating
ELECTRO UNIT
COVER
Die cast Aluminum
Oxidation treatment
Electrostatic coating
CONTROL UNIT
COVER
Die cast Aluminum
Oxidation treatment
Electrostatic coating
OUTPUT SHAFT SUS 303
5-2 AMBIENT TEMPERATURE / FLUID TEMPERATURE
Ambient temperature
* Ambient temperature range : –25ºC~55ºC.
* A space heater against unit-condensation is available at option.
* For application beyond the specified range, consult our Sales Dept.
Fluid temperature
* For high temperature fluid, that may occasionally overheat the unit, radiation type bracket and coupling are
available at option.
* Standard bracket and couplings : Fluid temperature max. 65ºC
* Radiation type bracket and couplings : Fluid temperature higher than 65ºC
* For application beyond the specified range, consult our Sales Dept.
Ce manuel convient aux modèles suivants
6
Table des matières
Autres manuels Koei Industry Contrôleurs



















