572/573/KB/DS/FKB/FCB/PCB-BA-e-0957
2
GB KERN 572/573/KB/DS/FKB/FCB
Version 5.7 12/2009
Operating instruction
Precision/compact balances and platform scales
Table of contents:
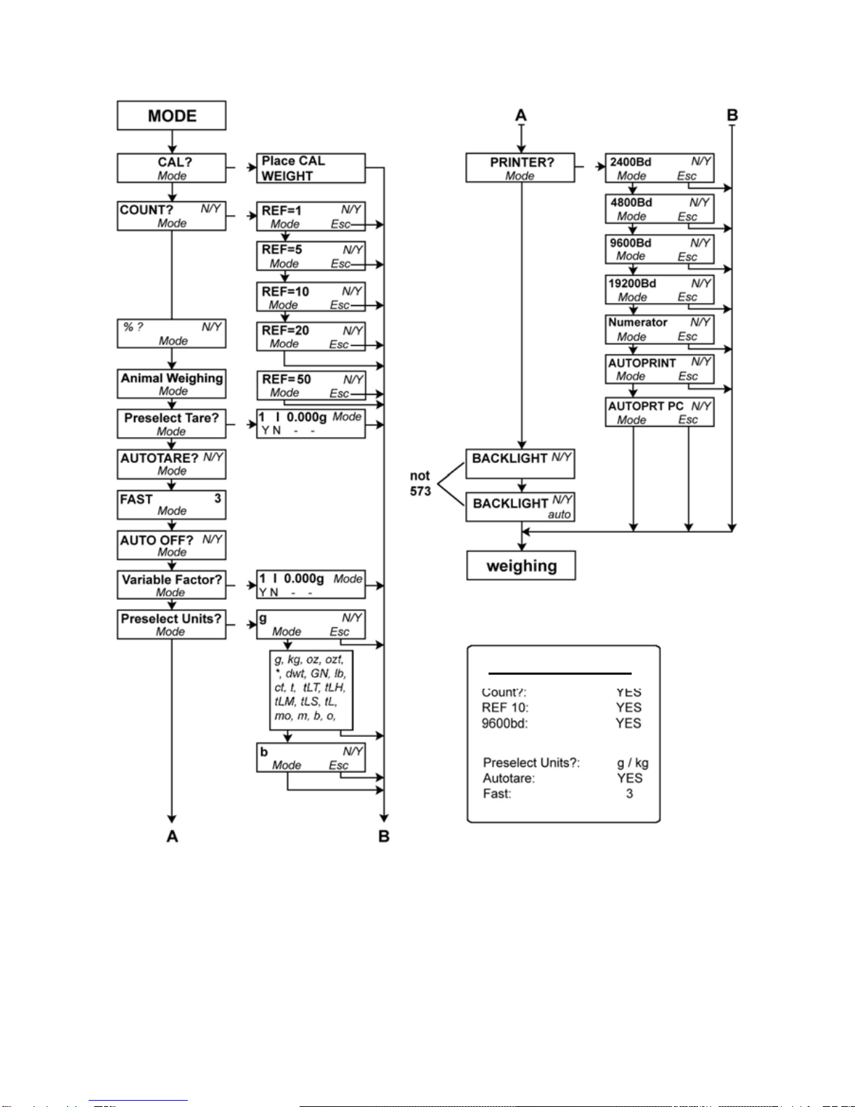
1MODE - MENUE .......................................................................................................3
2Technical data .........................................................................................................4
2.1 KERN 572............................................................................................................................................. 4
2.2 KERN 573............................................................................................................................................. 7
2.3 KERN KB ............................................................................................................................................. 8
2.4 KERN DS............................................................................................................................................ 12
2.5 KERN FCB ......................................................................................................................................... 17
2.6 KERN FKB ......................................................................................................................................... 19
3Fundamental information (general) .....................................................................22
3.1 Intended use...................................................................................................................................... 22
3.2 Inappropriate use ............................................................................................................................. 22
3.3 Guarantee .......................................................................................................................................... 22
3.4 Monitoring the test substances ...................................................................................................... 22
4Fundamental safety information..........................................................................23
4.1 Observe the information in the operating instructions ................................................................ 23
4.2 Staff training...................................................................................................................................... 23
5Transport and storage ..........................................................................................23
5.1 Acceptance check ............................................................................................................................ 23
5.2 Packaging.......................................................................................................................................... 23
6Unpacking, installation and commissioning ......................................................23
6.1 Place of installation, place of use................................................................................................... 23
6.2 Unpacking ......................................................................................................................................... 24
6.2.1 Installation........................................................................................................................................... 24
6.3 Mains supply ..................................................................................................................................... 24
6.4 Battery operation FKB...................................................................................................................... 24
6.5 Connecting peripheral equipment .................................................................................................. 24
6.6 Initial start-up .................................................................................................................................... 24
6.7 Adjustment ........................................................................................................................................ 25
6.8 Adjusting (go to 7.2.6)...................................................................................................................... 25
6.8.1 Adjusting for verification (KERN 573; FKB-M; KB-NM; FCB-M; DS-M) ............................................. 25
6.9 Verification ........................................................................................................................................ 26
7Operation ...............................................................................................................27
7.1 Display control panel ....................................................................................................................... 27
7.2 Operation........................................................................................................................................... 28
7.3 Display background illumination .................................................................................................... 32
7.4 Interface RS 232 C ............................................................................................................................ 32
7.5 RS 232 C Data output via interface RS 232 C ................................................................................ 33
7.5.1 There are 5 methods for the data output via RS 232 C ..................................................................... 33
7.5.2 Description of the data transfer .......................................................................................................... 33
7.5.3 Numerator........................................................................................................................................... 34
7.6 Printer ................................................................................................................................................ 34
7.7 Underfloor weighing......................................................................................................................... 34
8Maintenance, upkeep, disposal ...........................................................................35
8.1 Cleaning............................................................................................................................................. 35
8.2 Maintenance, upkeep ....................................................................................................................... 35
8.3 Disposal............................................................................................................................................. 35
9Troubleshooting....................................................................................................35
10 Declaration of conformity.....................................................................................36