
OWNERSMANUAL
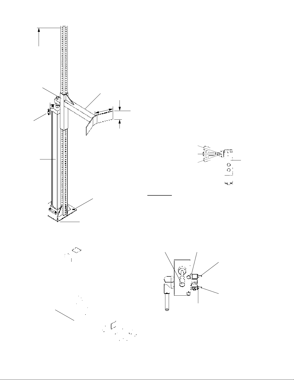
Mixer Lift Stand
Air Cylinder Lift
tablEOFCONTENTS:
PSA84-BP - STATIONARY............................................2
PSA84 - PORTABLE “X” BASE ....................................3
PSA-BT-BP - STATIONARY ..........................................4
PSA-DL-BP - STATIONARY..........................................4
PSA-BT - PORTABLE “TOTE” BASE............................5
PSA-DL - PORTABLE “TOTE” BASE............................5
Parts List ......................................................................6
4040 Earnings Way •NEW ALBANY, IN 47150•
P: 812-941-5954
INDCO, Inc. • M-M-30130 Lift Stand -Air manual • 2/5/13 • Page 1 of 6
Warranty
Our products are guaranteed against
defective materials and workmanship,
we will repair or replace such items
as may prove defective at our option.
Warranty period is one year on items
manufactured by INDCO, except for
the MixMaster Series Shakers which
carries a two year warranty. On items
not manufactured by INDCO, the
manufactures warranty applies. All
component parts of our products are
covered by this warranty, except for
normal wear items such as belts or
impellers. We cannot be responsible
for damage or abuse to equipment
caused by improper installation or
operation. Warranties can also be
voided by unauthorized disassembly
of equipment. For warranty repairs,
equipment is returned to INDCO at
the customer’s expense; we will repair
and return to customer at our expense.
Under no circumstances will we allow
labor charges or other expense to repair
defective merchandise. This warranty
is exclusive and is in lieu of all other
warranties, whether express or implied.
INDCO shall not be liable for any other
damages, whether consequential,
indirect, or incidental, arising from the
sale or use of its products.
Mixer
Stands
-Air Lift-