7. Grundeinstellungen
7. 1. Konfigurieren der Eingänge
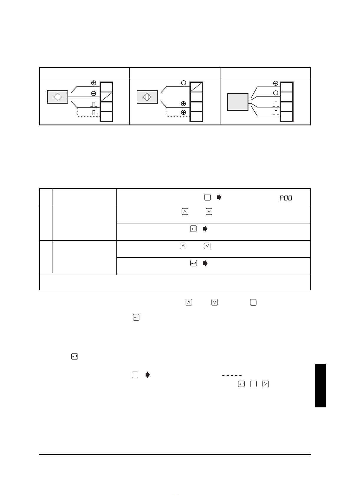
Die Parameter P03 und P04 müssen Sie in jedem Fall einstellen:
1. Stellen Sie das Gerät mit Parameter P03 auf den Pegel der Impulsgeber ein
(P03 = 1: HTL / P03 = 2: TTL).
2. Stellen Sie das Gerät mit Parameter P04 auf die elektrische Ausführung der
Impulsgeber ein (P04 = 1: npn-schaltend / P04 = 2: pnp-schaltend).
Diese beiden Einstellungen gelten für alle 4 Eingänge.
Konfiguration bei Anschluß von NAMUR-Gebern: P03 = 1 und P04 = 1.
Die Höhe des Eingangssignals richtet sich nach der Einstellung durch P04:
- Signal = HIGH, wenn P04 = 2 (pnp-schaltend)
- Signal = LOW, wenn P04 = 1 (npn-schaltend)
Die folgenden Parameter können Sie bei Bedarf einstellen:
• Frequenzteilung: Herabsetzen der Eingangsfrequenz in 5 festen Teilungsverhältnis-
sen (Parameter P05 für Eingang A; Parameter P06 für Eingang B).
•Funktionsbelegung für die Eingänge C und D: Ein Signal auf den Eingang führt
eine der folgenden Funktionen aus: Reset, Zählunterbrechung, Reset Min/Max,
Sperrung der Tastatur (Parameter P21 für Eingang C; Parameter P22 für Eingang D).
Seite 7
DEUTSCH
Parameter Parameterwert
P30
Mittelwertbildung
Anzeigewert = Meßwert des aktuellen
Meßzyklus oder Mittelwert einer Anzahl vor-
angegangener Meßzyklen
1 Meßzyklus = 200ms
1 = keine Mittelwertbildung
Anzeigewert = Wert des aktuellen Meßzyklus
2 ... 16 = Anzahl der Meßzyklen für die
Mittelwertbildung
P29
Anlaufüberbrückung für OUT 1 (Min)
Der Ausgang schaltet erst nach Ablauf
der Anlaufüberbrückungszeit.
Die Zeit startet beim Anlegen der Betriebs-
spannung oder nach Reset.
Wertebereich:
0s = Anlaufüberbrückung nicht aktiv
0,01 ... 99,98s Anlaufüberbrückung aktiv
99.99s = Ausgang “Min” bleibt so lange gesperrt,
bis der vorgegebene Min-Wert erstmals unter-
schritten wird
P31
Rückstellzeit
Rücksetzen der Anzeige bei Unterschreiten
einer minimalen Eingangsfrequenz oder bei
Überschreiten eines maximalen Zeitabstands
zwischen 2 Eingangsimpulsen
0 ... 99.99s
P74 Min/Max-Speicher löschen
Einstellungen für Analogausgänge (nur bei Artikel E89121)
0 = Speicher nicht löschen
1 = Speicher löschen
P33 Analog-Endwert
Anzeigewert, bei dem der Analogausgang
das maximale Ausgangssignal liefert Wertebereich: 0 ... 999 999
P34 Art des Analogsignals 1 = 0 ... ±10 V (max. 5 mA)
2 = 0 ... 20 mA (Bürde: max. 300 Ω)
3 = 4 ... 20 mA (Bürde: max. 300 Ω)
P35 Anpassung Analog-Nullwert
Anzeigewert, bei dem der Analogausgang
das minimale Ausgangssignal (“0”) liefert Wertebereich -2000 ... +2000
P36 Maximaler Ausgangspegel des
Analogausgangs
1000 = 10,0 V / 20,0 mA
600 = 6,0 V / 12,0 mA
150 = 1,5 V / 3,0 mA