
VDSCD6001_v3 HQPOWER
3. General Guidelines
•This device is designed for professional use on stage, in discos, theatres, etc. The VDSCD6001 should only be
used indoors with the included power adapter connected to an alternating current of 110 ~ 240VAC/50 ~ 60Hz.
•Do not shake the device. Avoid brute force when installing or operating the device.
•Select a location where the device is protected against extreme heat, dust and moisture.
•Familiarise yourself with the functions of the device before actually using it. Do not allow operation by unqualified
people. Any damage that may occur will most probably be due to unprofessional use of the device.
•Use the original packaging if the device is to be transported.
•All modifications of the device are forbidden for safety reasons.
•Only use the device for its intended purpose. All other uses may lead to short circuits, burns, electroshocks,
crash, etc. Using the device in an unauthorised way will void the warranty.
4. Precautionary Measures
•Before Switching off the Power
Once you are finished using the VDSCD6001, be sure to close the disc holder before switching off the device. Do not
try to close the disc holder when the CD player has been switched off but switch on the device and press the
OPEN/CLOSE button.
•Your Compact Discs
-Do not allow fingerprints, oil or dust to get on the surface of the disc. Clean a dirty disc with a soft and dry cloth.
Avoid using water, alcohol, benzene, record spray, electrostatic-proof chemicals or silicone-treated cloths.
-Always handle the discs carefully to prevent damaging the surface. Hold them by the edges and do not leave
them lying around.
-Always remove the disc from the disc holder and replace it in its case after use.
-Avoid exposing the compact disc to direct sunlight, dust, humidity or heat.
-Do not bend the disc.
-Do not enlarge the centre hole or write on the compact disc.
-Condensation can form if a compact disc is brought from a cold environment into a warm one. Do not wipe off the
compact disc but leave it until it has reached room temperature.
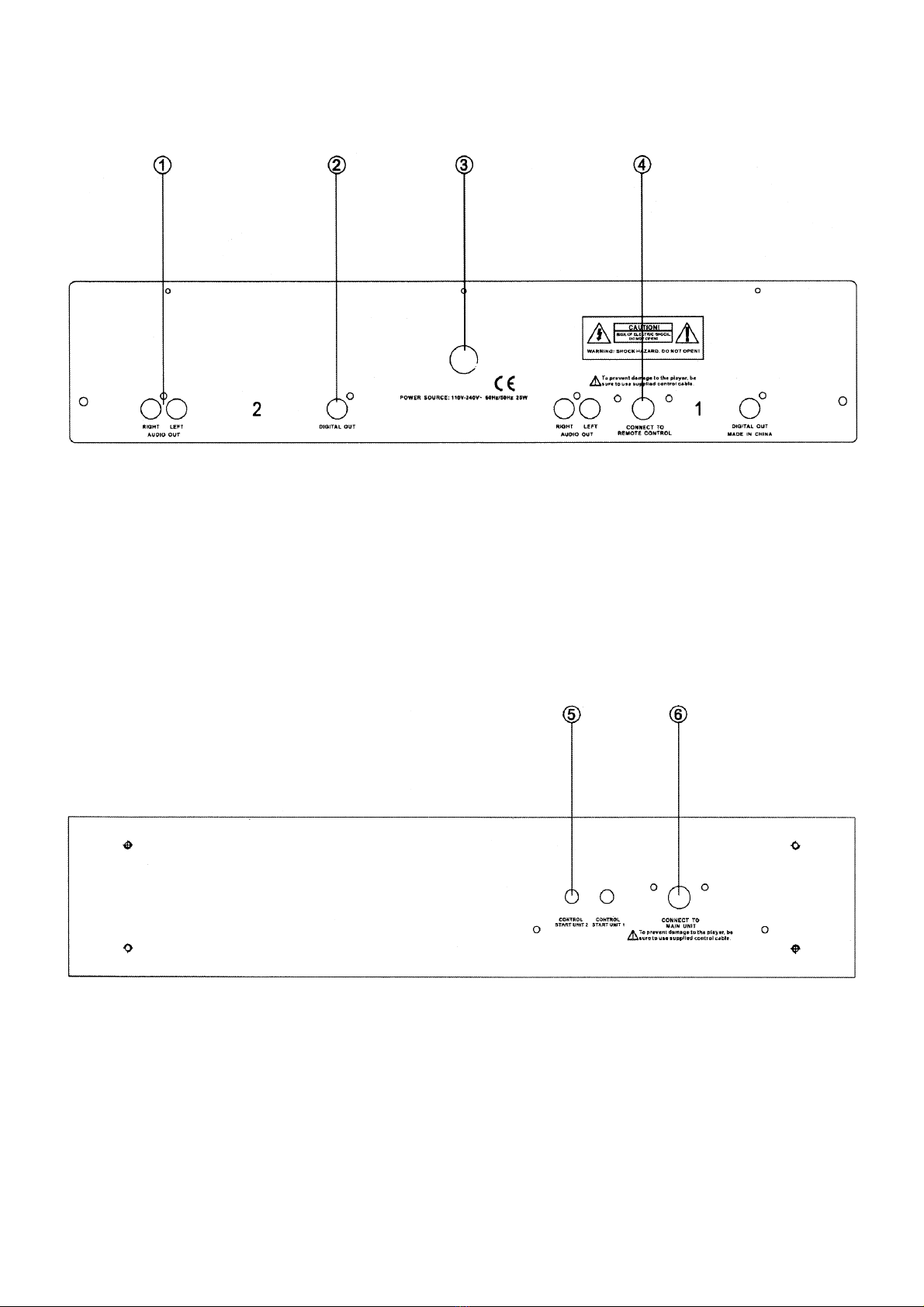
5. Installation & Connection
•Installation
Mount the main unit into your console or 19” rack system, the front panel within an angle
of 15°. If the angle is steeper than 15°, the discs may not load or unload properly.
The control panel’s LCDs are designed to be clearly visible within the angles shown in the
figure. Mount the control unit so that the visual angle is within this range.
•Connection
1. Make sure the unit is switched off.
2. Plug the RCA plug into the input of your mixer.
3. Plug the control cables into the control sockets of the main unit.
Make sure to use the included cables.