Help us help you...
Before using your air
conditioner, read this book
carefully.
It is intended
to
help you operate
and maintain your new
air
conditioner properly.
Keep it handy for answers to your
questions.
If you don’t understand something
or need more help, write (include
your phone number):
Consumer Affairs
Hotpoint
Appliance Park
Louisville, KY 40225
Write down the model and
serial numbers.
You’ll find them on a label on the
frame of the air conditioner behind
the air filter.
These numbers are also on the
Consumer Product Ownership
Registration Card that came with
your air conditioner. Before
sending in this card, please write
these numbers here:
Model Number
Serial Number
Use these numbers in any
correspondence or service calls
concerning your air conditioner.
If you received a damaged
air conditioner...
Immediately contact the dealer
builder) that sold you the air
conditioner.
Save time and money.
Before you request
service...
Check the Problem Solver on
page 7. It lists causes of minor
op;rating problems that you can
correct yourself.
2
(or
Important Safety
Instructions
Read all instructions
before using this appliance.
When using this appliance,
always
exercise basic safety precautions,
including the following:
● Use this appliance only for its
intended purpose as described in
this Use and Care Book.
● This air conditioner must be
properly installed in accordance
with the Installation Instructions
before it is used. See grounding
instructions on page 3.
● Never unplug your air
conditioner by pulling on the
power cord. Always grip
plug
firmly and pull straight out from
the receptacle.
● Repair or replace immediately
all electric service cords that
have become frayed or otherwise
damaged. Do not use a cord that
shows cracks or abrasion damage
along its length or at either the
plug or connector end.
● Unplug your air conditioner
before making any repairs.
Note: We strongly recommend that
any servicing be performed by a
qualified individual.
● For your safety. . . Do not store
or use combustible materials,
gasoline or other flammable vapors
or liquids in the vicinity of this or
any other appliance.
SAVE THESE
INSTRUCTIONS
—
If You Need Service
To obtain service, see the
Consumer Services page in the
back of this book.
We’re proud
of
our service and
want you to be pleased.
If
for
some
reason you are not happy with the
service you receive, here
are
three
steps to
follow
for further help.
FIRST, contact the people who
serviced your appliance. Explain
why you are not pleased. In most
cases, this will solve the problem.
NEXT, if you are still not pleased,
write
all
the details—including
your phone number—to:
Manager, Consumer Relations
Hotpoint
Appliance Park
Louisville, Kentucky 40225
FINALLY, if your problem is still
not resolved, write:
Major Appliance Consumer
Action Panel
20 North
Wacker
Drive
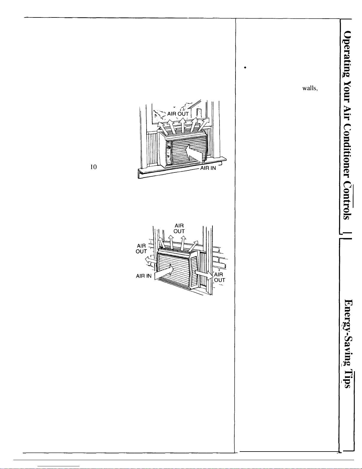
Chicago, Illinois 60606