
TKH / TKHP
6© HOLMS INDUSTRI AB, ALL RIGHTS RESERVED 060420.
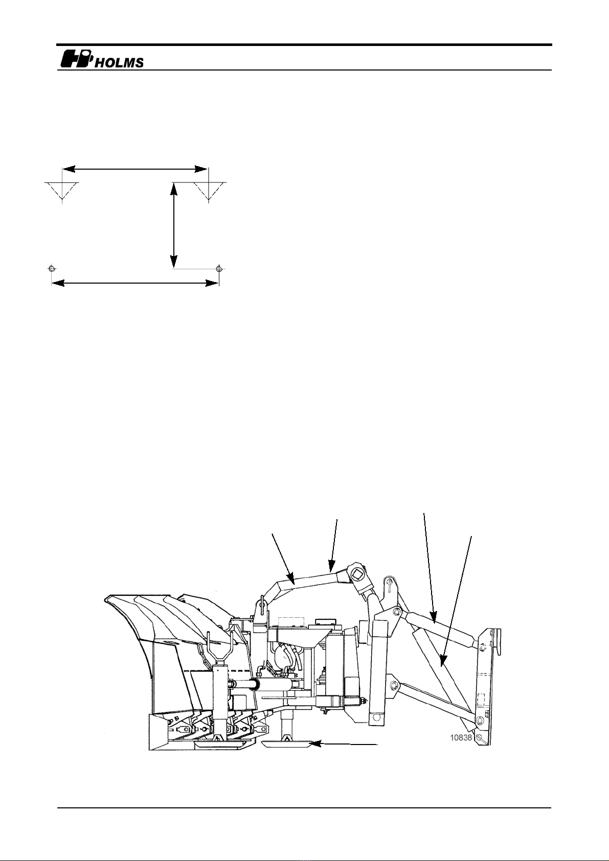
Tilt to increase
or decrease the
ground pressure.
Lift or sink to
obtain the
right angling
to the ground.
Ground pressure indicator
Higher ground pressure
Lower ground pressure
Raising or low-
ering for cor-
rect angle to
ground
TKHP with DIN plate
Coupling
The snow plough is connected to one (1) double acting hy-
draulic function.
Make sure the couplings are free from dust!
Adjustment, TKHP
1.The plough is raised into the air and the equipment bracket tilted
so that the gate is at an approximately 90° angle to the ground.
2.Lower the loading arms so that the blade goes down towards the
ground and the blade's centre pin is in the vertical position.
3.The ground pressure can now be adjusted using the tilt function.
Normally, the blade is tilted to the "middle" of its working area, i.e.
when the ground pressure indicator markers are aligned.
4.Although operating with the blade at the middle of the working ar-
ea provides optimal alignment with the ground, the ground pressure
can be temporarily increased or decreased by tilting forward for
higher ground pressure and backwards for lower.
5.The tilt function alone shall be used for ground pressure adjust-
ment. The blade's fit-up is adjusted with the lift function (see the fig-
ure below).
6.Check that the blade does not collide with the carrier in all posi-
tions.
Adjustment, TKHP with DIN plate
1.Lift the bracket using the pneumatic cylinder and connect to the
vehicle.
2.Using the lift cylinder, lower so that the blade goes down towards
the ground and the tilt indicator's markers align.
3.The ground pressure can now be adjusted using the rigging screws.
Normally the blade is run tilted at the "middle" of its working area,
i.e. when the ground pressure indicator's markers are aligned. By
screwing apart the rigging screws, higher ground pressure is at-
tained; screw them together and the ground pressure is reduced (see
the figure).
4.Although operating with the blade at the middle of the working ar-
ea provides optimal alignment with the ground, the ground pressure
can be temporarily increased or decreased by tilting forward for
higher ground pressure and backwards for lower.
5.The tilt function alone shall be used for adjusting the ground pres-
sure. The blade's fit-up is adjusted with the lift function (see the fig-
ure below).
6.Check that the blade does not collide with the carrier in all posi-
tions.