
A100 USER GUIDE
Copyright © fifotrack 2015 All rights reserved 3
Contents
1 Product Overview.......................................................................................................4
2 Product Functions.......................................................................................................4
2.1 Tracking Functions ........................................................................................................... 4
2.2 Alarms.............................................................................................................................. 4
2.3 Other Functions ............................................................................................................... 5
3 Product and Accessories ............................................................................................5
3.1 Standard Packing Box....................................................................................................... 5
3.2 Optional Accessories........................................................................................................ 5
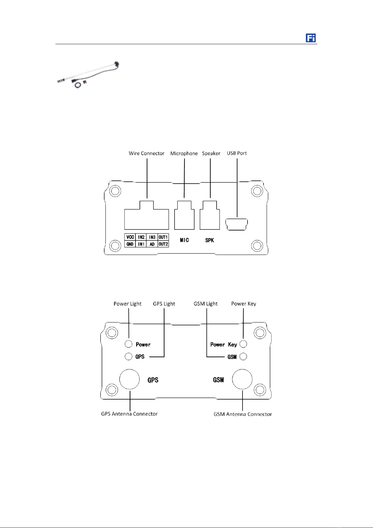
4 Product Appearance...................................................................................................6
5 PCB Overview and Hardware Design.........................................................................7
5.1 Hardware Design Highlight .............................................................................................. 7
6 LED Light .....................................................................................................................8
7 Specification ...............................................................................................................8
8 First Use ......................................................................................................................9
8.1 Charging ........................................................................................................................... 9
8.2 Installing the SIM Card..................................................................................................... 9
8.3 Installing GSM/GPS Antenna ......................................................................................... 10
8.4 Tracking by Calling ......................................................................................................... 10
8.5 SMS Reply Contents Example ........................................................................................ 11
8.6 Tracking by SMS Command - C01 .................................................................................. 12
8.7 Configuration by PC ....................................................................................................... 13
8.8 Platform Tracking........................................................................................................... 13
9 Device Installation ....................................................................................................14
9.1 I/O Installation ............................................................................................................... 14
9.2 Power/Ground Cable ..................................................................................................... 15
9.3 Positive/Negative Digital Input(IN1/IN2/IN3).......................................................... 15
9.4 Analog Input( AD) .......................................................................................................... 15
9.5 Output control (out1/out2) ........................................................................................... 16
9.6 Installing Microphone or Speaker (Optional) ................................................................ 16