Euhomy MF-10 Manuel utilisateur

:
:
:
Congratulations on your new Euhomy product. To ensure proper operation,please read this
instruction Manual carefully before using this product. Keep this manual in a safe place for
future reference.


WARNING!
BASIC INFORMATION
OPERATION
OPTIMIZING PERFORMANCE
FREQUENTLY ASKED QUSTIONS
4
5
6
7-8
9
BASIC TROUBLESHOOTING
WARRANTY INFORMATION
10
11
TABLE OF CONTENTS

WARNING!
● To ensure optimal performance, keep the cooler/warmer unit's fans clear of dirt and
debris. Stuck fans will overheat the unit and can pose a potential fire hazard.
● Do not place any cloth or paper products on the unit.
● When plugging in the unit, ensure that the power cord is inserted tightly into the
socket. A loose socket can cause damage or fire.
● When using the unit in a car/vehicle with the DC power cord, the vehicle's engine
must be turned on first. When the engine is running, the unit can then be plugged
into the vehicle's adapter. This prevents a power surge and potential property
damage, injury, and/or fire.
● Keep the unit away from flammable items and running water to prevent damage,
injury, and/or fire.
● DO NOT attempt to open, break, or refit the appliance.
● This unit works in 100-120V (in compliance with North American standards).
● To switch temperature control, the unit must be turned to the OFF setting for 30
minutes before shifting the unit from COLD to HOT.
● DO NOT submerge or rinse under running water.
● When packing the unit, do not place upside-down.
● Avoid dropping or banging the unit.
● DO NOT leave the appliance in the rain.
● Adult use and supervision only. This is not a toy. Children should not play with this
cooler and warmer unit. For people with reduced physical, sensory, and/or mental
capabilities, use precaution and follow all instructions when operating this unit to
ensure safety.
● Always keep ventilation openings clear of obstruction.
● DO NOT use other electrical appliances inside the food storage compartments of the
appliance.
● If the power cord that is supplied with the cooler and warmer unit is damaged in any
way-DO NOT attempt to repair it; damaged power cords must be replaced by the
manufacturer.
PLEASE READ THESE DIRECTIONS CAREFULLY BEFORE USING THIS APPLIANCE TO ENSURE
PROPER OPERATION. MISUSE OF THE COOLER AND WARMER COULD RESULT IN A BROKEN
APPLIANCE AND EVEN THE INJURY OR DEATH OF THE USER.
4

5
BASIC INFORMATION
● This thermoelectric cooler and warmer is a great way to keep food and drinks cool during the summer and
warm during the winter. Perfect to use at home, in your office, or in your car. Wherever you are, you can always
enjoy fresh food and drinks.
● Easily portable and sleek, it makes a stylish choice for any decor or setting.
● Shelves and container baskets are removable. To remove shelves: gently push shelves up and slide out. To
remove container basket: gently push up and lift basket from slots.
Product Characteristics
● At home, keep snacks and drinks at hand while enjoying your favorite shows and movies uninterrupted.
● Store on top of your office desk and use it as your own personal mini fridge.
● Great for picnics, camping and fishing trips when cold drinks and warm food are a necessity.
● Ideal for long road trips, and for commuters, and truck and taxi drivers who want to keep food and drinks fresh
and close by.
● Safely store medications that need to be kept at a specific temperature.
5
What’s in the box
Applications

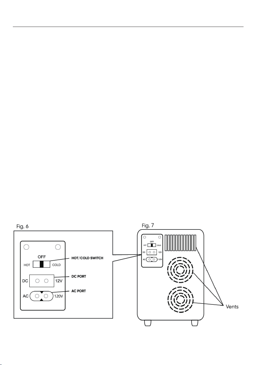
OPERATION
● Before plugging in the cooler/warmer unit: make sure the switch on the back of the unit is set to the
OFF setting.
● A minimum 2" vent clearance is required for proper ventilation.
Plugging in your unit
● For home application:
Use the supplied AC power cord (see Fig. 2) by inserting AC connector into unit's AC port (see Fig. 6) and
inserting AC plug into wall outlet. This unit works on 100-240V (in compliance with North American and EU/UK
standards)
● For motor vehicle application:
Car engine MUST be turned on first before plugging in the cooler/warmer. This precaution prevents a power
surge that can lead to the unit overheating and/or becoming a potential fire risk. Use the supplied DC power
cord (see Fig. 3) and insert DC connector into unit's DC port (see Fig. 6) and the DC plug into the appropriate
cigarette-lighter outlet.
Turning on your unit
● For Cooling: Set the power switch to the COLD setting. A green light will turn on to indicate that the unit is in
cooling mode.
● For Warming: Set the power switch to the HOT setting. A red light will turn on to indicate that the unit is in
heating mode.
6

OPTIMIZING PERFORMANCE
● Pre-chilled food and drinks are recommended to put into this unit. If drinks are at room temperature it will take
2-3 hours to chill them.
● This thermoelectric cooler and warmer is not designed to heat cold food; this unit only preserves hot foods at a
warm temperature. However, this unit does have the ability to heat some foods that are semi-cool if given a
minimum of 2 hours.
● With proper use, this thermoelectric cooler and warmer unit can preserve the temperature of food, warm or
cold, all day.
● NOTE: Ambient temperature refers to the temperature of the surrounding air. For example, if unit is used for
cooling, and your immediate surroundings is 75°F, then the unit will keep contents cool anywhere between 35°-
40°F.
For Warming: Set the power switch to the HOT setting. A red light will turn on to indicate that the unit is in
heating mode.
● Remove basket shelf from interior door
● There are two shelves in the main unit; remove topmost interior shelf by gently pushing the shelf up and sliding
it out.
● Refer to Fig. 8 and Fig. 9 below for suggested can configuration.
The MF-10 can fit 12 standard soda cans (12 fl. oz./355 ml) in the following
configuration:
7

8
SPECFCATIONS
Model MF-10
10L
Aluminum,Plastic&Tempered Glass
48W max
3.55kg
245*290*340
Capacity
Materials
Energy Consumption
N.W
Inner Dimension
W*D*H mm:

9
FREQUENTLY ASKED QUESTIONS
● Can I store insulin in my Euhomy unit?
Not all medicines can be refrigerated, depending on the storage conditions of the medicines.
● What is the cooling temperature of the MF-10?
The MF-10 can keep contents (food, drinks, snacks, medications, etc.) cool anywhere from 35° to 40°
below ambient temperature. Please refer to page 3 of this Instruction Manual for complete product specifica
tions.
● Can I adjust the thermostat on the MF-10?
No, the MF-10 does not have a thermostat. ONLY units with a digital display have a thermostat that can be set.
● Are interior shelves removable?
The shelves and container basket on the MF-10 unit are removable. To remove, gently push the shelves
up and slide out. To remove container basket: gently push up and lift basket from slot.
● The back of my MF-10 feels warm. Is this normal?
Yes, this is normal. While in cooling mode, your MF-10 Thermoelectric Cooler/Warmer moves heat from
inside the unit to the back of the unit (vent area). Make sure there is at least a 2-inch clearance for necessary
air flow and circulation. If the back of your gets very hot, turn off the unit, and contact Customer Support.
● I hear a slight whirring sound in the back of my MF-10. Is this OK?
The fan makes a slight whirring sound in the MF-10; this sound is normal. The MF-10 features
exclusive EcoMax- Technology-our unique cooling system that makes our thermoelectric units quiet, yet
powerful and efficient. However, if you hear a very loud sound, turn off the unit, and contact Customer Support.
● Can I leave my MF-10 plugged in every day, 24 hours per day?
Yes, you can leave your Euhomy unit plugged into an AC outlet in your home or office. For your car, see
question below.
● If I plug my cooler/warmer unit into my car does the car engine need to be on for the unit
to stay on?
For car or motor vehicle use, we recommend unplugging your cooler/warmer unit when the car engine is off.
Do not have the unit plugged in unless the engine is running.
● Can I use my MF-10 in a 220V outlet?
The MF-10 works in 100-120V, in compliance with North American standards. While the use of certified plug
adapters is acceptable, Euhomy accepts no liability for the quality or safety of third-party adapters.
● If I plug my cooler/warmer unit into my car does the car engine need to be on for the unit
to stay on?
For car or motor vehicle use, we recommend unplugging your cooler/warmer unit when the car engine is off. Do
not have the unit plugged in unless the engine is running.
● Does my MF-10 come with a warranty?
Yes, MF-10 model comes with a standard 1-year limited warranty. Please refer to page 11 of the Instruction
Manual or go to [email protected] for more information.

BASIC TROUBLESHOOTING
The most common issues experienced by Euhomy users are caused by voltage
incompatibility.
The following issues give an overview of possible errors and instructions of how to
check the unit.
Blinking green light in the back of
unit.
Fan making a loud noise.
Unit doesn't cool contents as
advertised.
Unit not cooling and lights off in
back.
Unit stopped working
Ice is building inside the unit,
around the center screws in the
back.
Water collecting at bottom of unit.
Water drip or leakage.
While the unit is off and at room
temperature, take a soft cloth and
gently wipe down the inside of
your unit to remove any moisture
that may accumulate. This is
recommended once or twice a
week.
If issue persists, contact Customer
Support for further assistance.
Check that the door is clean and
free from obstruction and is closed
securely.
Water condensation. It is normal
for thermoelectric units, while in
cooling mode, to produce water
droplets that may freeze in the
back and then melt.
Water condensation is normal in
thermo-electric units. Check if
water accumulation is due to
condensation.
Main power source failure. Check outlets first.
If unit not turning on in your
home/office: Try plugging the unit
into your car using the included
DC power cord.
If unit not turning on in your
car/motor vehicle:Try plugging the
unit into a 100-120V volt outlet in
your home/office using the
included AC power cord. If issue
persists,contact Customer
Support.
Most Euhomy units cool contents
down anywhere from 35° to 40°
below ambient temperature.
Consult your unit's specific cooling
information found in this Instruc-
tion Manual. If cooling temperature
is significantly less than what is
listed for your unit, contact
Customer Support.
Check for fan obstruction or
failure.
Check the back to see if there is at
least a 2-inch clearance
around fan and vents. If issue
persists, contact Customer
Support.
Unit fan not rotating. Contact Customer Support for
assistance. Consult this Instruction
Manual or go to euhomy@hot-
mail.com for contact information.
Concern Possible Reason Check
10
Table des matières
Autres manuels Euhomy Congélateur
























