
4. Check O-ring (key 14) for wear and replace, if
necessary. Apply lubricant to the O-ring (key 14),
then align cartridge key to keyway in body and
insert. Reinstall the gasket (key 26), filter element
(key 6), thrust washer (key 37) and filter retainer
(key 9). Reinstall the O-ring (key 4), secure the
dripwell with screws (key 3) and torque to
15 to 30 in. lbs./1.7to3.4N•m.
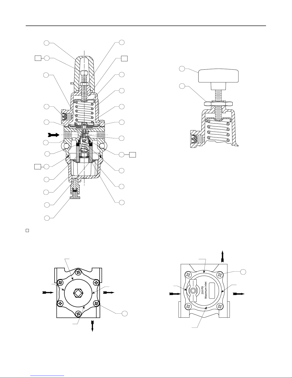
Diaphragm Maintenance
KeynumbersarereferencedinFigures5and6.
5. Backouttheadjustingscreworhandwheel
(key 18) until compression is removed from the
spring (key 17).
6. Remove the six spring case screws (key 3) to
separate the spring case (key 7) from the body
(key 1). Remove the upper spring seat (key 20)
and spring (key 17).
7. Remove the diaphragm assembly (key 16),
inspect the diaphragm and replace the assembly,
if necessary.
8. Place the diaphragm assembly (key 16) on the
body (key 1) as shown in Figure 5. Push down on
the diaphragm assembly to make sure the valve
plug (key 11) strokes smoothly and approximately
1/16 in. / 1.6 mm.
Note
In step 5, if installing a control spring of
a different range, be sure to delete the
spring range originally appearing on the
label and indicate the new spring range.
9. Stack the control spring (key 17) and upper spring
seat (key 20) onto the diaphragm assembly
(key 16).
10. Install the spring case (key 7) on the body (key 1)
with the vent oriented to prevent clogging or
entrance of moisture. Install the six spring case
screws (key 3) using a crisscross pattern and
torque to 15 to 30 in. lbs./1.7to3.4N•m.
Note
On Types 67CFS and 67CFSR, lubricate
the adjusting screw (key 18) thread to
reduce galling of Stainless steel.
11. When all maintenance is complete, refer to the
Startup and Adjustment section to put the regulator
back into operation and adjust the pressure
setting. Tighten the locknut (key 19) if used and
install the closing cap (key 33) if used.
Parts Ordering
When corresponding with the local Sales Office about
this regulator, include the type number and all other
pertinent information printed on the label. Specify the
eleven-character part number when ordering new
parts from the following parts list.
Parts List
Key Description Part Number
PartsKits
Types 67C, 67CR, 67CS and 67CSR
Includes valve cartridge assembly (contains
keys 10, 11, 12, 13, 14 and 15),
O-ring (key 4), diaphragm assembly (key 16),
and four screws (key 3)
Type 67C (without relief)
BrassstemwithNitrile(NBR)plug R67CX000012
AluminumstemwithNitrile(NBR)plug(NACE) R67CX000N12
Type 67CR (with relief)
BrassstemwithNitrile(NBR)plug R67CRX00012
AluminumstemwithNitrile(NBR)plug(NACE) R67CRX00N12
Type 67CS (without relief)
StainlesssteelstemwithNitrile(NBR)
plug(NACE) R67CSX00012
Type 67CSR (with relief)
StainlesssteelstemwithNitrile(NBR)
plug(NACE) R67CSRX0012
Types 67CF, 67CFR and 67CFSR
Includes valve cartridge assembly (contains
keys 10, 11, 12, 13, 14 and 15), diaphragm
assembly (key 16), O-ring (key 4),
lterelement(key6),ltergasket(key26),
thrust washer (key 37) and
four screws (key 3)
Type 67CF (without relief)
BrassstemwithNitrile(NBR)plug R67CFX00012
AluminumstemwithNitrile(NBR)plug(NACE) R67CFX00N12
Type 67CFR (with relief)
BrassstemwithNitrile(NBR)plug R67CFRX0012
AluminumstemwithNitrile(NBR)plug(NACE) R67CFRX0N12
Type 67CFSR (with relief)
StainlesssteelstemwithNitrile(NBR)
plug(NACE) R67CFSRX012
ValveCartridgeAssemblyOnly*(1)
Type 67C, 67CR, 67CF or 67CFR
BrassstemwithNitrile(NBR)plug
withNitrile(NBR)O-ring T14121T0012
withSilicone(VMQ)O-ring T14121T0032
Aluminum stem
withFluorocarbon(FKM)plug T14121T0022
withNitrile(NBR)plug T14121T0042
Aluminumstem(NACE)
withNitrile(NBR)plug T14121T0052
withFluorocarbon(FKM)plug T14121T0062
Stainless steel stem
withNitrile(NBR)plug T14121T0072
Type 67CS, 67CSR, 67CFS or 67CFSR
316 Stainless steel stem
with Nitrile (NBR)plugandO-rings(NACE) T14121T0092
withFluorocarbon(FKM)plugandO-rings T14121T0102
withNitrile(NBR)plugand
Silicone(VMQ)O-rings T14121T0112
*Recommended Spare Part.
1.Valvecartridgeassemblyincludeskeys10,11,12,13,14and15.
7
67C Series