
ATTENTION:
This shelter product is manufactured with quality materials. It is designed to fit our custom fabric cover included.
Our shelters offer storage and protection from damage caused by sun, light rain, tree sap, animal - bird excrement and light snow.
Please anchor this structure properly. See manual for more anchoring details. Proper anchoring, keeping cover tight and free of
snow and debris is the responsibility of the consumer. Please read and understand the installation detail, warnings and cautions
prior to beginning installation. If you have any questions contact your local dealer.
DANGER:
Prior to installation, choose the location of your shelter carefully.
DANGER: Keep away from electrical wires.
Check for overhead utility lines, tree branches or other structures. Check for underground pipes or
wires before you dig. DO NOT install near roof lines or other structures that could shed snow,
ice or excessive run off onto your shelter. DO NOT hang objects from the roof or support cables.
WARNING:
Risk of fire. DO NOT smoke or use open flame devices (including grills, fire pits, deep fryers, smokers or
lanterns) in or around the shelter. DO NOT store flammable liquids (gasoline, kerosene, propane, etc.) in
or around your shelter. Do not expose top or sides of the shelter to open fire or other flame source.
CAUTION:
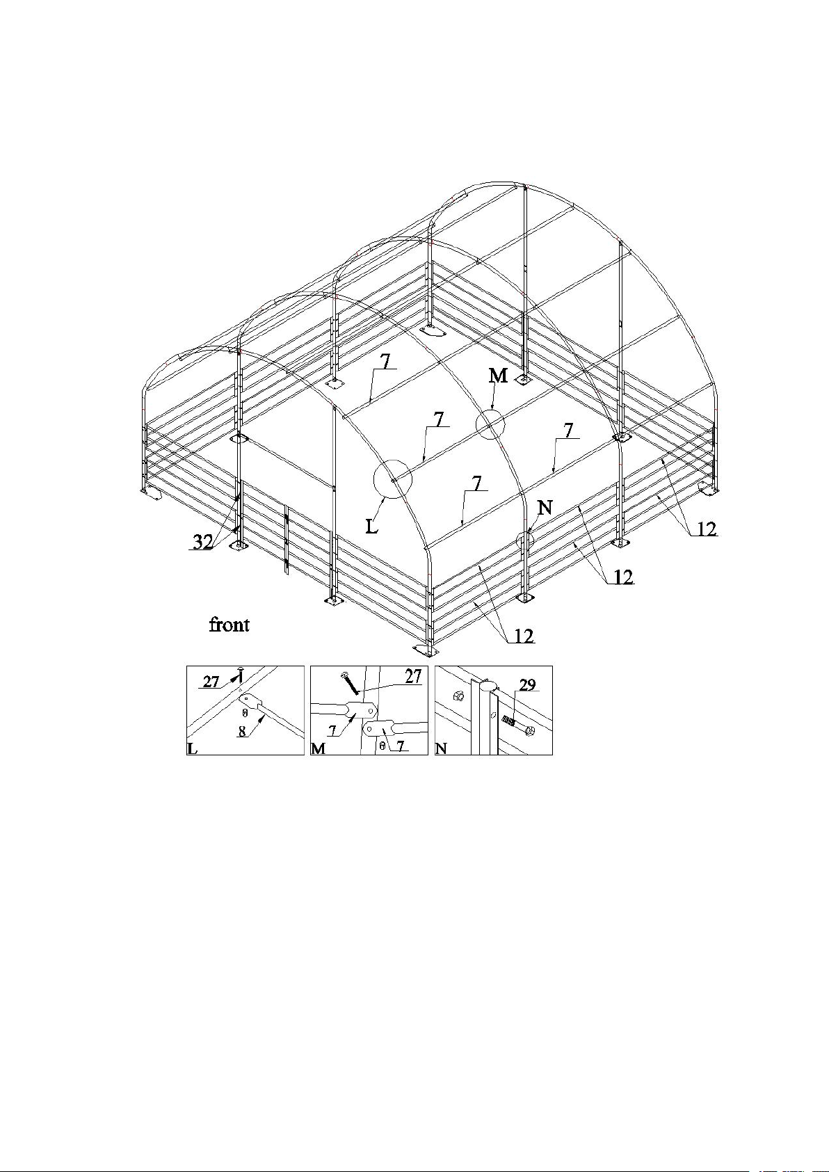
Use CAUTION when erecting the frame. Use safety goggles during installation. Secure and bolt together
overhead poles during assembly. Beware of pole ends.
PROPER ANCHORING AND INSTALLATION OF FRAME:
PROPER ANCHORING OF THE FRAME IS THE RESPONSIBILITY OF THE CONSUMER.
We are not responsible for damage to the unit or the contents from acts of nature. Any shelter that is not anchored
securely has the potential to fly away causing damage, and is not covered under the warranty. Periodically check the anchors to
ensure stability of shelter. We cannot be responsible for any shelter that blows away.
NOTE: Your shelter’s cover can be quickly removed and stored prior to severe weather conditions. If strong winds or severe
weather is forecast in your area, we recommend removal of cover.
CARE AND CLEANING:
A tight cover ensures longer life and performance. Always maintain a tight cover. Loose fabric can accelerate
deterioration of cover fabric. Immediately remove any accumulated snow or ice from the roof structure with a
broom, mop or other soft-sided instrument. Use extreme caution when removing snow from cover- always
remove from outside the structure. DO NOT use hard-edged tools or instruments like rakes or shovels to
remove snow. This could result in punctures to the cover. DO NOT use bleach or harsh abrasive products to
clean the fabric cover. Cover is easily cleaned with mild soap and water.
WARRANTY:
This shelter carries a full limited warranty against defects in workmanship. We warrant to the Original Purchaser that if
properly used and installed, the product and all associated parts, are free from manufacturer’s defects for a period of:
1 YEAR FOR COVER FABRIC, END PANELS AND FRAMEWORK