3FMantenna
ConnectsanFMantenna.
4AMantenna
ConnectsanAMantenna.Pleasenotetheground
terminalwhenconnecting.
5ShortOUTinterface
TheshortOUTinterface isusedtoprovide
short-circuit signaltodevicesrequiringshort-circuit
signal.Theshort-circuitsignaliscontrolledbythe
timerpowersupply.
6Timerpoweroutputsocket
ThissocketoffersanAC220Vvoltagetoother
device,whichiscontrolledmanuallyorbytime
schedule.
7Timerpowersupply fuse
In caseoffuseblowing,pleasereplacethefusewitha
newonewiththesamespecifications.If thisfailure
still exists,pleasecheckthecircuit forfailure.
8AC220Voutputpowerfuse
In caseoffuseblowing,pleasereplacethefusewitha
newonewiththesamespecifications.If thisfailure
still exists,pleasecheckthecircuit forfailure.
9AC220Vpowersocket
Thepowersocketisusedtoconnecttothemainsfor
powersupplyofthesystem.
10 AUX1/MIC1INselectorswitch
TheAUX1 andMIC1useacommon inputchannel.If
theswitchisturnedtotheAUXposition,theline
signalisinput; iftheswitchisturnedtotheMIC
position, themicrophonesignalisinput.
If signalsfromlineandmicrophoneareinputtoone
channelatthesametime,selecttheselectorswitchto
adjustthevolumeofoneofthesignals.
11AUX OUTinterface
Thisinterfaceisusedtoconnecttoanaudiomonitor,
suchasapoweramplifier.
12 AUX1 INinterface
Thisinterface isusedtoconnecttoanaudiosource,
suchasaCDplayer, tunerandcassette.
13 MIC2 INinterface
14 AUX2/MIC2INselectorswitch
TheAUX2 andMIC2useacommon inputchannel. If
theswitchisturnedtotheAUXposition,theline
signalisinput; iftheswitchisturnedtotheMIC
position, themicrophonesignalisinput.
15 AUX2 INinterface
Thisinterface isusedtoconnecttoanaudiosource,
suchasaCDplayer, tunerandcassette.
16 AUX3 INinterface
Thisinterface isusedtoconnecttoanaudiosource,
suchasaCDplayer, tunerandcassette.
17 MIC3 INinterface
18 AUX3/MIC3INselectorswitch
TheAUX3 andMIC3useacommon inputchannel. If
theswitchisturnedtotheAUXposition,theline
signalisinput; iftheswitchisturnedtotheMIC
position, themicrophonesignalisinput.
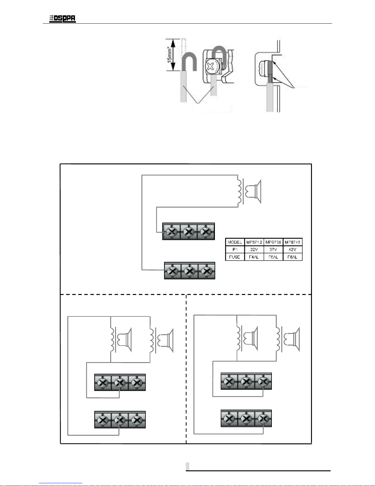
1Wiring diagramofzoneoutput
Theoutputvoltageofeachzoneis100V.To
connectthezoneoutput,refertotheright
diagramandnotethattheHOTandCOM
terminalsaredifferent.Speakersconnected
tozonesshouldbeprovidedwith
transformer.
Caution:Makesurethatthepowersupply
isturnedoff whenwiring.
Wiring of PowerAmplifier