
5
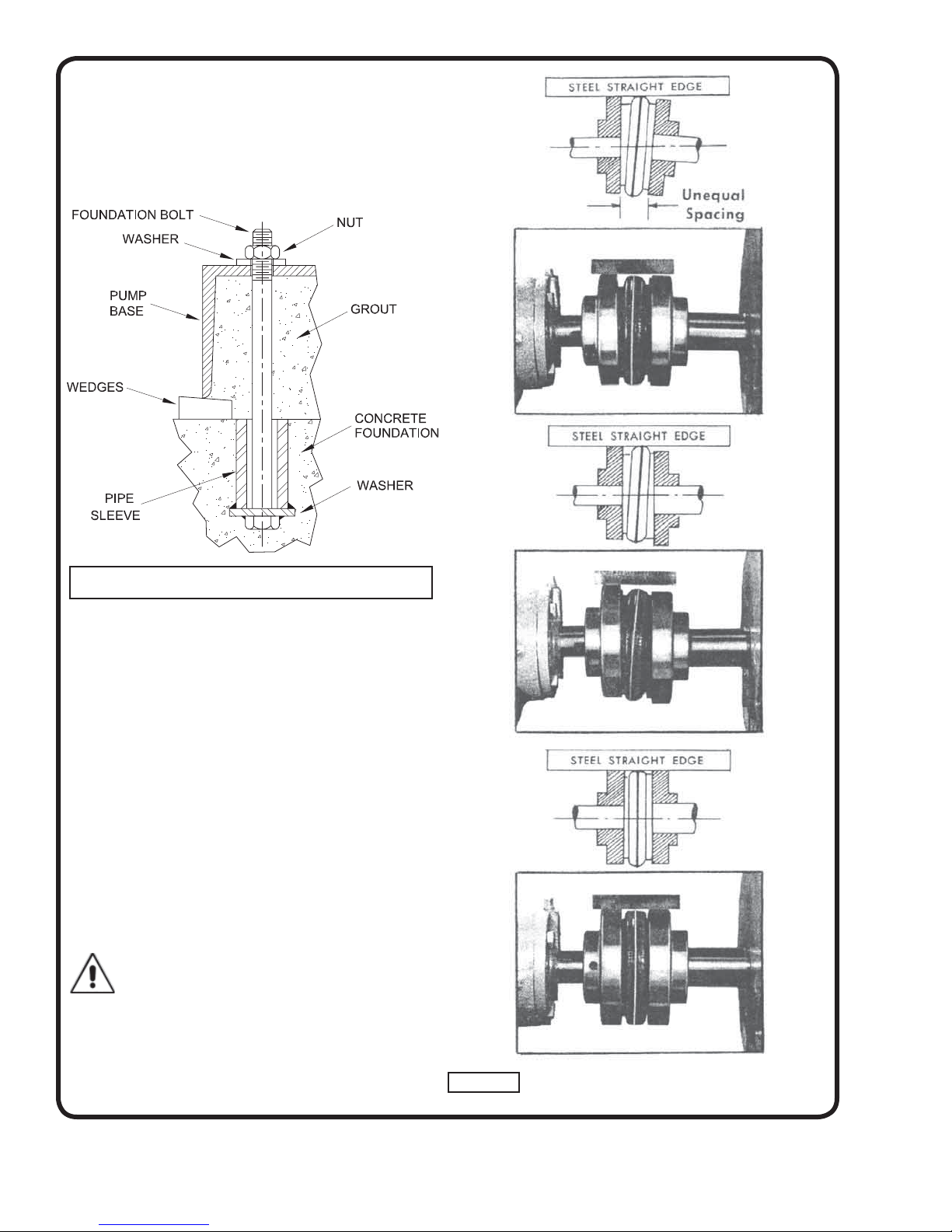
5. Recheck alignment at drive coupling.Any misalignment
now apparent should be corrected by metal shims
under pump or motor. When properly aligned, pump
shaft should turn freely by hand.
6. Afoot valve and strainer must be installed on the lower
end of the suction pipe to keep pump completely
filled with liquid when the pump is used under suction
lift conditions. Connect suction pipe to pump casing.
When a foot valve is used, it is absolutely necessary
to install a check valve in the discharge line near the
pump to prevent possible broken casing due to line
shock or surge when the pump stops. A gate valve
should also be installed in the discharge line. Connect
discharge pipe to pump casing.
It is very important that the suction and discharge pipes
“line up” naturally with the pump. DO NOT “pull” pipes
into position with flange bolts. Support pipes
independently of the pump to eliminate all strain on
the pump casing. Select discharge pipe size so velocity
is under 8 feet per second. Avoid sharp changes in
pipe sizes.
7. After pipes have been connected to pump, check
alignment at drive coupling. Correct any changes with
metal shims as in section “C”.
8. Check motor nameplate for electrical characteristics.
Be sure they are the same as the rating of the electrical
power available. Connect power lines to motor in accord
with wiring diagram on the motor and test motor
rotation, should turn in the direction indicated by arrow
cast on pump casing.
9. Fill pump (and suction pipe) with water. Remove plug
(352) at top of casing (1) to relieve trapped air, then
replace plug. Close discharge gate valve and start
pump. When pump is up to speed, slowly open the
discharge valve to obtain desired capacity and pressure.
D - LUBRICATION
1. Pump bearings are properly filled with grease at the
factory before shipment. Periods of subsequent
lubrication depend somewhat on local conditions, loads,
speed, hours of operation, temperature, etc. Periodic
inspection of bearing lubrication should be made and
additional grease added as needed thru grease cups
(207) on the pump. A No. 2 grease (soft) is
recommended for most installations. Do Not over
grease as this causes high bearing temperatures and
shortens bearing life.
2. Motor bearings should also have periodic attention and
lubrication in accord with motor manufacturers
recommendations. Under ordinary conditions a ball
bearing will run from 10° to 60°F (-12.2° to 15.6°C)
above surrounding temperatures. Unless bearing
temperature runs extremely hot do not become alarmed.
3. On standard-fitted, bronze-fitted and all-bronze
construction, the stuffing box is lubricated by liquid being
pumped, thru a by-pass tube. On all-iron construction,
the by-pass tube is eliminated and a grease cup installed
for stuffing box lubrication.A “water pump” grease is
recommended for the grease cup. If the liquid being
pumped is abrasive, a fresh water supply should be
connected to the stuffing box instead of the grease fitting
(243) or tubing (127).
4. Single seals normally do not require grease lubrication
as they are lubricated and cooled by the liquid returned
to the seal chamber thru the by-pass tube.
5. Double seals should be cooled and lubricated by a
sealing liquid under pressure, such as clear water. If the
pressure at the inner face of the seal is constantly under
25 psi and the liquid temperature is under the boiling
point, or 212°F (100°C), a spring-loaded compression
type grease cup, filled with StandardArtic No. “O”
grease or equal, may be used if suitable sealing liquid is
not available.
GENERAL MAINTENANCE AND REPAIR
E - PROPER ADJUSTMENT OF IMPELLER
1. Loosen adjusting nut clip (66) by unscrewing cap screw
(337) then turn bearing adjusting nut (204) counter-
clockwise to allow the impeller (2) to just touch the frame
(19). It may be necessary to bump the shaft (6)
on coupling end to make sure the bearing (16) is against
the bearing adjusting nut (204). Then back off the
impeller slightly by tightening the bearing adjusting nut in
a clockwise direction. Rotate the shaft by hand to make
certain that the impeller does not rub against the suction
head face. Lock the bearing adjusting nut in place with
the bearing adjusting nut clip (66) and cap screw (337).
2. One of the outstanding features of this pump is the
impeller axial adjustment for wear or capacity. Less
water, head, or horsepower, may be achieved by turning
the bearing adjusting nut (204) in a clockwise direction.
This moves the impeller away from the suction head
face. If maximum head or capacity are required, move
the impeller as close as possible to the suction head face
without allowing it to rub.
An extremely accurate adjustment may be made by
adjusting the impeller while in operation and checking the
motor with a watt-meter. After final adjustment of impeller
is made, lock the bearing adjusting nut in place with
adjusting nut clip and tighten cap screw. This adjustment
should not be changed until the impeller face is worn
enough to warrant readjustment.