
CONTENTS
Important Safeguards................... 2
Unpacking Instructions ................. 3
The Quest for the Perfect Cup of Espresso. . 4
Features and Benefits, Diagram........... 5
Preparing Your Espresso Machine
Before Use .......................... 6
Guide to the Perfect Espresso............ 7
Guide to Milk Texturing ................. 8
Using the Hot Water Function ............ 8
Cleaning and Maintenance .............. 9
Recipes ............................ 10
Warranty .............................19
INTRODUCTION
Congratulations on the purchase of your new
Cuisinart
®
Espresso Maker! You’re only minutes
away from experiencing the rich, flavourful
espresso found in the world’s best cafés, right
in your own home. Please take a few moments
to discover the features of your new espresso
maker, and be sure to enjoy every espresso,
cappuccino and latte to come!
THE QUEST FOR
THE PERFECT CUP
OF ESPRESSO
It is generally agreed that there are four basic
elements critical to the perfect cup:
Element 1: Water
When brewing espresso, make sure the water
flows through the filter at the correct pace. The
water flow can be adjusted by varying the
pressure with which the coffee is tamped
(pressed down) in the filter or by altering the
grind of the coffee. If the speed of the water
flow is too slow, the coffee will be over-
extracted and will be very dark and bitter, with
a spotted and uneven crema (froth) on the top.
If the speed of the water flow is too fast, the
coffee will be under-extracted and the supreme
flavour will not develop. The coffee will be
diluted and there will be an inadequate amount
of crema on the top.
Element 2: Coffee
While the bulk of the liquid is water, all of the
flavour should be from the coffee. To achieve
the same great quality of coffee you receive at
a café, you need to use the same quality
beans. If you choose to grind your own beans,
buy the beans fresh and whole, only about a
two-week supply at a time for maximum
freshness. Once the coffee bean is broken, its
flavour degrades very quickly. If it is not
practical to buy smaller supplies, we
recommend you separate larger amounts of
beans and store them in airtight containers in a
cool, dry area. They should not be kept for
longer than 1 month as flavour will diminish. Do
not refrigerate or freeze coffee beans.
Element 3: Grind
The grind of the coffee is critical for proper
flavour extraction. If using a pre-ground coffee,
be sure to purchase an espresso grind that is
specifically for espresso/cappuccino machines.
If the grind is too fine, over-extraction and
bitterness will occur with a spotted and uneven
crema on the top. If the grind is too coarse, the
water will pass through too rapidly and there
will be an inadequate amount of crema on the
top of the espresso.
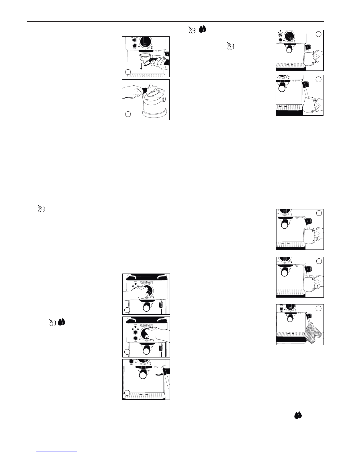
Element 4: Tamping the Coffee Grounds
If you choose to use ground espresso instead of
pods, tamping the coffee is a very important
part of the coffee making process. Use the
scoop supplied to fill the filter basket, then using
the tamping tool (flat end of the measuring
scoop), tamp (press down) down on the
grounds with moderate pressure. Add more
coffee and tamp again if necessary to bring
coffee to level. Do not overfill the filter basket.
The ground coffee should be tamped with
moderate pressure. If the coffee is not tamped
securely, there is a chance that the water will
flow through the coffee too rapidly and the
coffee will be under-extracted. Note: If the
coffee is tamped too firmly, the water will
flow through the coffee too slowly and the
coffee will be over-extracted.
4