
4
Inhaltsverzeichnis/Contents/Table des matiere/
Inhoudsopgaves/Obsah
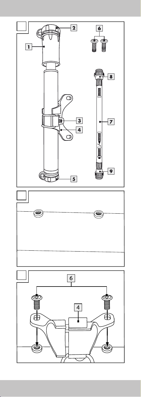
Lieferumfang / Teilebezeichnung ............................ 6
Technische Daten ....................................................... 6
Bestimmungsgemäße Verwendung .......................... 6
Sicherheitshinweise ............................................... 6 - 7
Montage am Fahrradrahmen ................................... 7
Verwendung .......................................................... 7 - 8
Pflege und Lagerung ................................................. 8
Hinweise zur Entsorgung .......................................... 8
3 Jahre Garantie .................................................. 8 - 9
Scope of delivery / Part names ............................. 10
Technical data .......................................................... 10
Correct use ............................................................... 10
Safety notes ..................................................... 10 - 11
Mounting to the bike frame .................................... 11
Use ............................................................................ 11
Maintenance and storage ...................................... 11
Disposal .................................................................... 12
3 Years Warranty .................................................... 12
Contenu de la livraison / Désignation des pièces 13
Données techniques ................................................ 13
Utilisation conforme ................................................. 13
Consignes de sécurité ..................................... 13 - 14
Montage sur le cadre du vélo ................................ 14
Utilisation .................................................................. 14
Entretien et rangement ............................................ 15
Mise au rebut ........................................................... 15
3 ans de garantie ............................................ 15 - 17
In het leveringspakket inbegrepen /
benaming van de onderdelen ................................ 18
Technische gegevens ............................................... 18
Voorgeschreven gebruik ......................................... 18
Veiligheidsinstructies ........................................ 18 - 19
Montage aan het fietsframe ................................... 19
Gebruik ............................................................. 19 - 20
Onderhoud en opslag ............................................ 20
Afvalverwerking ....................................................... 20
3 jaar garantie ......................................................... 20
Rozsah dodávky / označení dílů ........................... 21
Technická data ......................................................... 21
Použití v souladu s určením ..................................... 21
Bezpečnostní pokyny ...................................... 21 - 22
Montáž na rám kola ................................................ 22
Používání .................................................................. 22
Péče a skladování .................................................... 23
Pokyny k likvidaci .................................................... 23
3 roky záruky ........................................................... 23