
4
RULES FOR SAFE OPERATION (Continued)
■USE THE PROPER EXTENSION CORD. Make
sure your extension cord is in good condition.
When using an extension cord, be sure to use
one heavy enough to carry the current your
product will draw. An undersized cord will cause
a drop in line voltage resulting in loss of power
and overheating. A wire gage size (A.W.G.) of at
least 14 is recommended for an extension cord
25 feet or less in length. If in doubt, use the next
heavier gage. The smaller the gage number, the
heavier the cord.
■INSPECT EXTENSION CORDS PERIODI-
CALLY and replace if damaged.
■DRESS PROPERLY. Do not wear loose clothing,
gloves, neckties, rings, bracelets, or other
jewelry. They can get caught and draw you into
moving parts. Rubber gloves and nonslip foot-
wear are recommended when working outdoors.
Also wear protective hair covering to contain long
hair.
■ALWAYS WEAR SAFETY GLASSES WITH
SIDE SHIELDS. Everyday eyeglasses have only
impact-resistant lenses; they are NOT safety
glasses.
■PROTECT YOUR LUNGS. Wear a face or dust
mask if the cutting operation is dusty.
■PROTECT YOUR HEARING. Wear hearing
protection during extended periods of operation.
■SECURE WORK. Use clamps or a vise to hold
work when practical. It's safer than using your
hand and it frees both hands to operate tool.
■DO NOT OVERREACH. Keep proper footing and
balance at all times.
■MAINTAIN TOOLS WITH CARE. Keep tools
sharp and clean for better and safer perfor-
mance. Follow instructions for lubricating and
changing accessories.
■DISCONNECT ALL TOOLS. When not in use,
before servicing, or when changing attachments,
blades, bits, cutters, etc., all tools should be
disconnected.
■AVOID ACCIDENTAL STARTING. Be sure
switch is off when plugging in.
■USE RECOMMENDED ACCESSORIES. The
use of improper accessories may cause risk of
injury.
■NEVER STAND ON TOOL. Serious injury could
occur if the tool is tipped or if the blade is unin-
tentionally contacted.
■CHECK DAMAGED PARTS. Before further use
of the tool, a guard or other part that is damaged
should be carefully checked to determine that it
will operate properly and perform its intended
function. Check for alignment of moving parts,
binding of moving parts, breakage of parts,
mounting and any other conditions that may
affect its operation. A guard or other part that is
damaged must be properly repaired or replaced
by a qualified service technician at a Sears store
to avoid risk of personal injury.
■NEVER LEAVE TOOL RUNNING UNAT-
TENDED. TURN THE POWER OFF. Do not
leave tool until it comes to a complete stop.
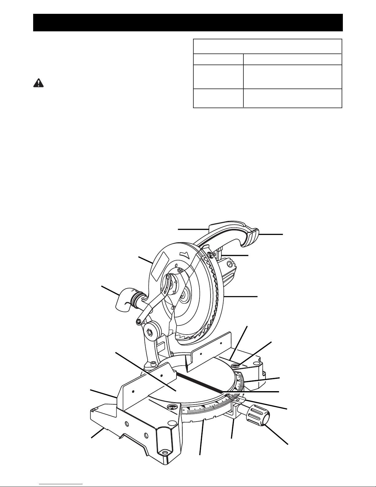
■FIRMLY CLAMP OR BOLT your miter saw to a
workbench or table at approximately hip height.
■USE ONLY CORRECT BLADES. Do not use
blades with incorrect size holes. Never use blade
washers or blade bolts that are defective or
incorrect. The maximum blade capacity of your
saw is 10 in.
■KEEP BLADES CLEAN, SHARP AND WITH
SUFFICIENT SET. Sharp blades minimize
stalling and kickback.
■DO NOT REMOVE THE SAW'S BLADE
GUARDS. Never operate the saw with any guard
or cover removed. Make sure all guards are
operating properly before each use.
■KEEP HANDS AWAY FROM CUTTING AREA.
Keep hands away from blades. Do not reach
underneath work or around or under the blade
while blade is rotating. Do not attempt to remove
cut material when blade is moving.
WARNING: Blade coasts after turn off.
■DO NOT ABUSE CORD. Never yank cord to
disconnect it from receptacle. Keep cord from
heat, oil, and sharp edges.
■INSPECT TOOL CORDS PERIODICALLY and if
damaged, have repaired by a qualified service
technician at a Sears store. Stay constantly
aware of cord location and keep it well away
from the rotating blade.
■USE OUTDOOR EXTENSION CORDS. When
tool is used outdoors, use only extension cords
with approved ground connection that are
intended for use outdoors and so marked.
■DO NOT USE TOOL IF SWITCH DOES NOT
TURN IT ON AND OFF. Have defective switches
replaced by a qualified service technician at a
Sears store.
■KEEP TOOL DRY, CLEAN, AND FREE FROM
OIL AND GREASE. Always use a clean cloth
when cleaning. Never use brake fluids, gasoline,
petroleum-based products, or any solvents to
clean tool.