
1
Wiper Problems
There is a popular misunderstanding that the wiper actually cuts the thread. This
is not true at all. If it did, how would it cut the bobbin thread as well? Another
name for the wiper is “Upper thread guide hook” which is a better nomenclature
for this part because that’s exactly what it does. It hooks the upper thread after a
trim and pulls it up out of the material into the thread presser base. The knives
located just under the needle plate do the actually cutting of the threads. So if the
knives don’t cut the thread, then the wiper will not retract all the way giving you a
wiper out error. So if after a trim you get a wiper out error and the thread is still in
the fabric. Run your finger between the bottom of the presser foot and the fabric
to grab the upper thread and see if it will come out easily. If it does then your
upper thread tensions maybe to loose or tail length set to long. If the upper
thread is still stuck in the fabric then the knives did not cut it and you don’t have a
wiper problem but a knife problem.
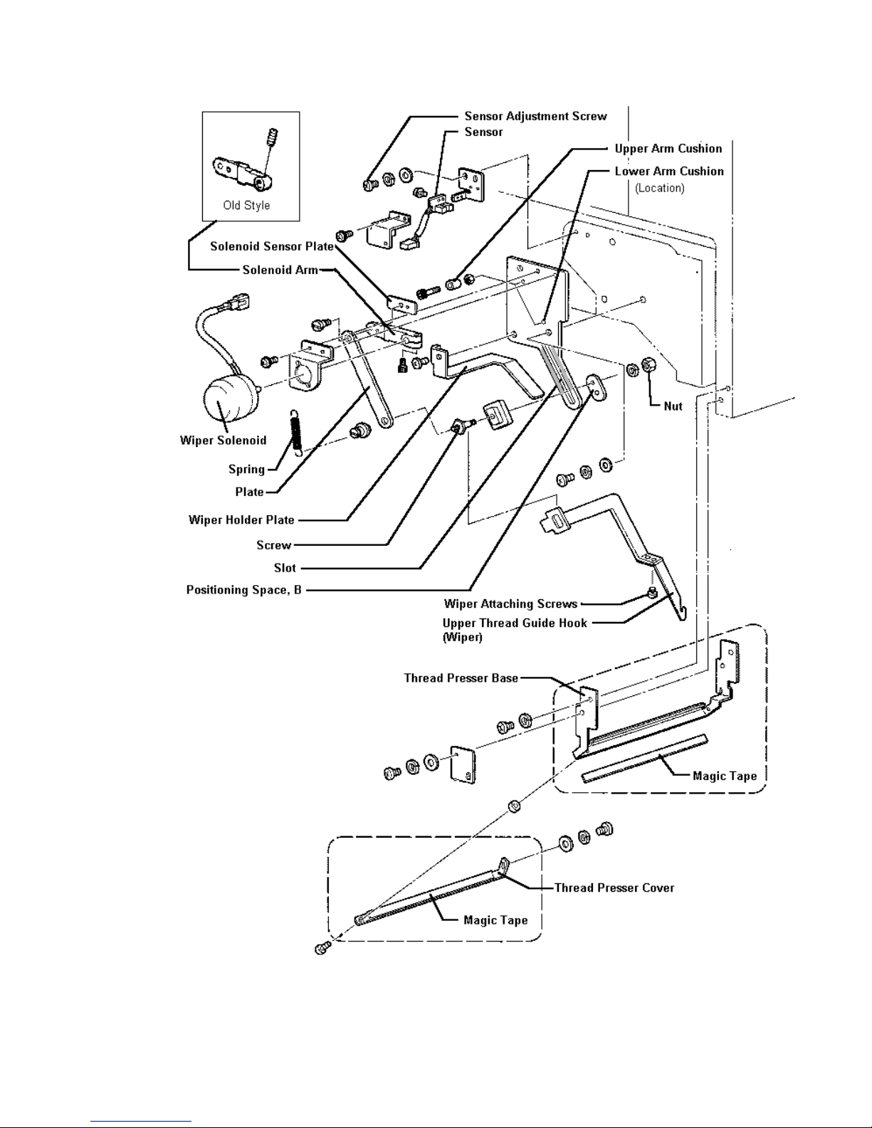
Sometimes it helps a little to understand the “theory of operation” of a working
part to better troubleshoot it. So this is what happens with the wiper assembly
during a trim.
After the knives have cut the upper and lower threads the wiper solenoid
energizes briefly and pushes down on the connecting rod in the direction of the
arrow. The wiper assembly moves down the guide causing the wiper to extend
downward through the upper thread holder. As the wiper gets down to the bottom
of its travel the upper thread passes to the right of the wiper and gets hooked by
the slot of the wiper. The solenoid then de-energizes and the return spring pulls
the wiper assembly back up into the retracted position. The wiper then actually
stops above the upper thread holder and the upper thread is held by the two
pieces of magic tape contained in the upper thread holder. There is also a wiper
sensor on the machine that tells it that the wiper had retracted all the way. This
way if it does stick out then the needle or presser foot won’t come down and
damage it.
When addressing problems with the wiper. There are five scenarios that can
happen provided that the thread is actually cut by the knives. Please refer to the
appropriate problem area.
A
Al
ll
l
M
Ma
ac
ch
hi
in
ne
es
s
For Technical Assistance Please Call Toll Free 1-877-4BROTHER
Return Spring
Plate
Guide
Upper Thread Guide Hook
(Wiper)
Slot
Thread Presser Base
Wiper Solenoid