
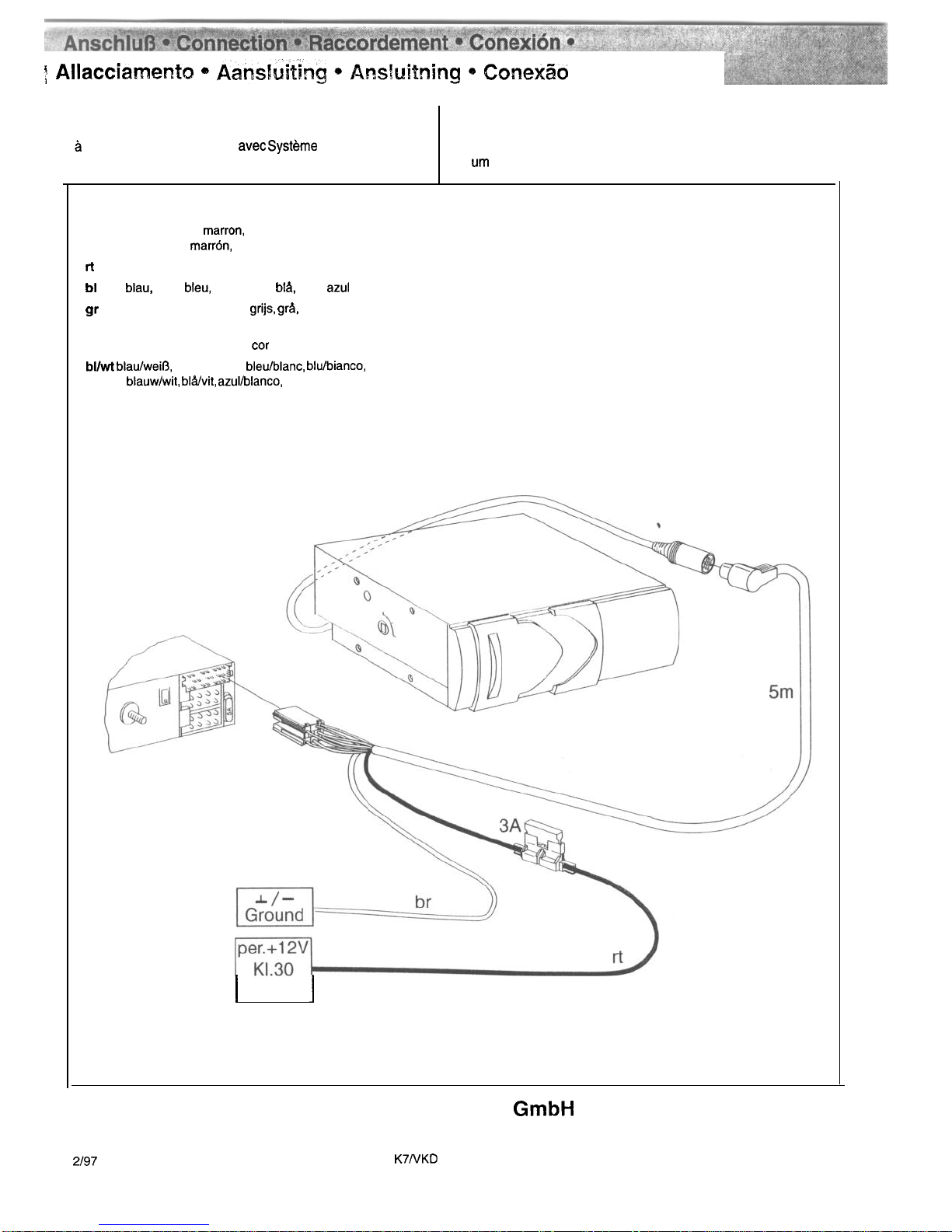
English
Preparatory steps
Loading the disc magazine
Figure 1
To load the magazine, move it into the position
shown in the picture (arrow up).
Pull out the empty tray.
To be sure that all trays are correctly loaded with
the right orientation, never remove more than one
disc tray at a time.
Insert one CD per tray with the labelling facing up.
Insert the tray with the disc into the magazine until it
stops (locks).
You can load the magazine with a maximum of
IO
discs. You can also leave individual disc trays
unoccupied.
Figure 2
Note:
A
!
Make sure not to use discs measuring 8 cm in
diameter. Avoid getting fingerprints or scratches on
the CD. After having removed a CD tray, take care
that the disc lying on it does not fall down.
You
may leave individual disc trays empty,
though you should insert all of the trays into the
magazine.
Inserting the disc magazine
Figure 3
Figure 4
Slide the door to the rightmost position.
Insert the magazine with the arrow showing up until
it stops and locks.
Close the door sliding it back to the leftmostposition.
Be sure that the slider is always closed. This will
protect the changer’s laser lens against
contamination.
Figure 5
Note:
Removing the disc magazine
Figure 6
Make sure to open the door completely moving it to
the rightmost end and press the Eject button 8.
The magazine will come out automatically.
Attention: Failure to open the door completely may very likely
result in damages of the-changer and the magazine!
_.
Notes on moisture condensation
On a rainy day or when the temperature varies considerably
moisture may condense on the laser lens and the unit will not
operate properly.
In this case remove the disc and wait for about one hour until
the moisture has evaporated.
Notes on CD
A
contaminated or damaged CD can produce drop-outs in
playing. To optain optimum sound, handle the disc as follows:
Keep the CD clean, and handle the disc by its edge only.
If required, clean the disc with an optional cleaning cloth. Wipe
the disc surface from the middle towards the edge!
Do not use any solvants such as benzine, thinner, antistatic spray
or a
convenQonal
cleaning agent intended for analog discs!
Do not stick paper or tape anywhere
Qn
the disc!
Do not expose the disc to direct sunlight or high temperatures.
Do not leave the discs in a car parked in the sun.
High temperatures in the car can damage the disc.
Notes on the disc magazine
Do not expose the magazine to high temperatures and humidity.
Store the magazine where it is not exposed to direct sunlight
(not on the dashboard or rear shelf)!
Protect the magazine against vibration!
Operation
Please refer to car stereo’s owner’s manual.
Technical data
Frequency response:
5
-
20 000 Hz
&l
dB
Wow and flutter: below measurable limit
Signal-to-noise ratio: 94
dB
Operating temperature:
-10
“C
to
+50
“C
(Subject to modifications without notice)
FCC warning for USA
The equipment has been tested and found to comply with the
limits for a Class B device, pursuant to Part
15
of the FCC
Rules. These limits are designed to provide reasonable
protection against harmful interference in a residential
installation. This equipment generates, uses, and can radiate
radio frequency energy, and, if not installed and used in
accordance with instructions, may cause harmful interference
with radio communications. However, there is no guarantee that
radio interference will not occur in particular installation. If this
equipment does cause harmful interference to radio or television
reception, which can be determined by turning the equipment off
and on, the user is encouraged to contact the dealer or an
experienced RadioRV technician for help.
You are cautioned that any changes or modifications not
‘.
expressly approved in this manual could void your authority to
operate this equipment.
The shielded interface cable recommended in this manual must
be used with this equipment in order to comply with limits for a
digital device pursuant to Sub-part B of Part
15
of the FCC rules.
Caution
-
The use of optical instruments with this product will increase
eye hazard.
-
Because the laser beam in this compact disc player is
harmful to the eyes, do not attempt to disassemble this
cabinet. Refer servicing to qualified personnel only.
Safety certification
This Compact Disc Player is made and tested to meet exacting
safety standards. It meets FCC requirements and complies with
safety performance standards of the US Department of Heath
and Human Services.
Notice:
This
Class B digital apparatus meets all requirements of the
Canadian Interference-Causing Equipment Regulations.
Warranty: Refer to radio warranty.