BEARWARE 302559/20160920SZ166 Manuel utilisateur

MOTION SENSOR LIGHT
Mod.-Nr.: 302559/20160920SZ166

2
Table of contents
1. Deutsch ............................................................................................................... 3
2. English ................................................................................................................. 7

3Deutsch
Vielen Dank, dass Sie sich für ein Produkt von BEARWARE entschieden haben.
Damit Sie auch lange Freude mit Ihrem erworbenen Gerät haben werden, lesen Sie
sich bie die nachfolgende Kurzanleitung aufmerksam durch.
1 Lieferumfang
• Schrankleuchte
• Kurzanleitung
2 Technische Daten
3 Inbetriebnahme
Entnehmen Sie das Gerät aus der Verpackung und enernen Sie jegliches Ver-
packungsmaterial. Önen Sie das Baeriefach an der Seite des Gerätes und legen
Sie 4x 1,5V AAA Baerien ein.
Achtung!
Achten Sie hierbei in jedem Fall auf die korrekte Polung der Kontakte!
Moneren Sie die Schrankleuchte an dem gewünschten Platz. Hierfür können Sie
entweder die Magneläche an dem Klebebandstreifen oder nur den Klebeband-
streifen verwenden.
Spannungsversorgung 4x 1,5V AAA Baerie
Abmessungen (HxBxT) 26,5mm x 190mm x 33,3mm
Farbtemperatur warmweiß
Features • Bewegungssensor
• Lichtsensor

4Deutsch
Das Schranklicht schaltet sich automasch ein, sobald eine Bewegung erkannt
wird. Sollte für ca. 15 Sekunden keine Bewegung erkennbar sein, so schaltet sich
das Licht automasch wieder aus.
Die Schrankleuchte verfügt über einen Lichtsensor. Wenn der Bewegungssensor
eine Bewegung registriert, jedoch die Lichtverhältnisse zu hell sind, bleibt die
Schrankleuchte ausgeschaltet.
Achtung!
4 Sicherheitshinweise und Haungsausschluss
Versuchen Sie nie das Gerät zu önen, um Reparaturen oder Umbauten
vorzunehmen. Vermeiden Sie Kontakt zu den Netzspannungen. Schließen Sie das
Produkt nicht kurz. Das Gerät ist nicht wasserdicht, bie verwenden Sie es nur im
Trockenen. Schützen Sie es vor hoher Lufeuchgkeit, Wasser und Schnee. Halten
Sie das Gerät von hohen Temperaturen fern.
Setzen Sie das Gerät keinen plötzlichen Temperaturwechseln oder starken Vibra-
onen aus, da dies die Elektronikteile beschädigen könnte. Prüfen Sie vor der Ver-
wendung das Gerät auf Beschädigungen. Das Gerät sollte nicht benutzt werden,
wenn es einen Stoß abbekommen hat oder in sonsger Form beschädigt wurde.
Beachten Sie bie die naonalen Besmmungen und Beschränkungen. Nutzen Sie
das Gerät nicht für andere Zwecke als die, die in der Anleitung beschrieben sind.
Dieses Produkt ist kein Spielzeug. Bewahren Sie es außerhalb der Reichweite von
Kindern oder geisg beeinträchgten Personen auf.
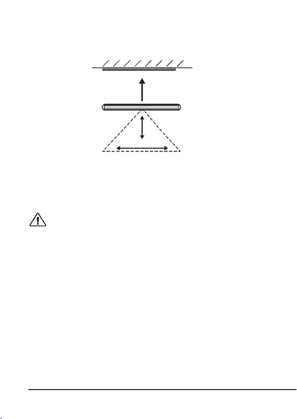
Sensorbereich
ca. 3m

5Deutsch
Jede Reparatur oder Veränderung am Gerät, die nicht vom ursprünglichen Lief-
eranten durchgeführt wird, führt zum Erlöschen der Gewährleistungs- bzw. Ga-
raneansprüche. Das Gerät darf nur von Personen benutzt werden, die diese
Anleitung gelesen und verstanden haben. Die Gerätespezikaonen können sich
ändern, ohne dass vorher gesondert darauf hingewiesen wurde.
5 Entsorgungshinweise
Elektrische und elektronische Geräte dürfen nach der europäischen WEEE Richtlin-
ie nicht mit dem Hausmüll entsorgt werden. Deren Bestandteile müssen getrennt
der Wiederverwertung oder Entsorgung zugeführt werden, weil giige und gefähr-
liche Bestandteile bei unsachgemäßer Entsorgung die Umwelt nachhalg schädi-
gen können. Sie sind als Verbraucher nach dem Elektro- und Elektronikgerätege-
setz (ElektroG) verpichtet, elektrische und elektronische Geräte am Ende ihrer
Lebensdauer an den Hersteller, die Verkaufsstelle oder an dafür eingerichtete,
öentliche Sammelstellen kostenlos zurückgeben. Einzelheiten dazu regelt das
jeweilige Landesrecht.
Das Symbol auf dem Produkt, der Betriebsanleitung oder/und der Verpackung
weist auf diese Besmmungen hin. Mit dieser Art der Storennung, Verwertung
und Entsorgung von Altgeräten leisten Sie einen wichgen Beitrag zum Schutz un-
serer Umwelt.
6 Hinweise zur Baerieentsorgung
Im Zusammenhang mit dem Vertrieb von Baerien oder mit der Lieferung von
Geräten, die Baerien enthalten, ist der Anbieter verpichtet, den Kunden auf
folgendes hinzuweisen: Der Kunde ist zur Rückgabe gebrauchter Baerien als
Endnutzer gesetzlich verpichtet. Er kann Altbaerien, die der Anbieter als
Neubaerien im Sorment führt oder geführt hat, unentgeltlich am Versandlager
(Versandadresse) des Anbieters zurückgeben. Die auf den Baerien abgebildeten
Symbole haben folgende Bedeutung: Pb = Baerie enthält mehr als 0,004 Masse-
prozent Blei, Cd = Baerie enthält mehr als 0,002 Masseprozent Cadmium, Hg =
Baerie enthält mehr als 0,0005 Masseprozent Quecksilber.
Das Symbol der durchgekreuzten Mülltonne bedeutet, dass
die Baerie nicht in den Hausmüll gegeben werden darf.

6Deutsch
Hiermit erklärt die Firma WD Plus GmbH, dass sich das Gerät 302559/20160920SZ166 in
Übereinsmmung mit den grundlegenden Anforderungen und den übrigen einschlägigen
Besmmungen bendet. Eine vollständige Konformitätserklärung erhalten Sie unter: WD Plus
GmbH, Wohlenbergstraße 16, 30179 Hannover
WEEE Richtlinie 2012/19/EU
WEEE Register-Nr: DE 94495668

7English
Thank you for choosing a BEARWARE product. Please read the following user man-
ual carefully to have an enjoyable experience with your purchased product.
1 Scope of supply
• Cabinet light
• User manual
2 Technical data
3 Inial use
Take the device out of the package and remove all the packaging material. Open
the baery compartment on the side of the device and insert 4x 1.5V AAA
baeries.
Please note!
Always make sure that the polarity of the contacts is correct.
Mount the cabinet light in the desired posion. This can be done by using the
magnec surface on the adhesive tape or only the adhesive tape.
Power supply 4x 1.5V AAA baery
Dimensions (HxWxD) 26.5mm x 190mm x 33.3mm
Colour temperature Warm white
Features • Moon sensor
• Light sensor

8English
The cabinet light switches on automacally as soon as any movement is detected.
If for approx. 15 seconds no movement is detected, the light will switch o
automacally.
The cabinet light has a light sensor. If the moon sensor registers a movement,
however, the light condions are too bright, the cabinet light will not switch on.
Please note!
4 Safety instrucons and liability disclaimer
Never try to open the device to carry out repairs or conversions. Avoid contact
with mains voltages. Do not short-circuit the product. The device is not cered
for use in the open air; only use it in dry condions. Protect it from high humidity,
water and snow. Keep it away from high temperatures. Do not subject the de-
vice to sudden changes in temperature or heavy vibraon as this might damage
electronic components. Examine the device for damage before using it. The unit
should not be used if it has received an impact or has been damaged in any other
way. Please observe naonal regulaons and restricons. Do not use the device
for purposes other than those described in the instrucons. This product is not a
toy. Keep it out of the reach of children or mentally impaired persons. Any repair or
alteraon to the device not carried out by the original supplier, will invalidate the
warranty or guarantee. The product may only be used by persons who have read
and understood these instrucons. The device specicaons may change without
any separate prior noce to this eect.
Sensor area
approx. 3m

9English
5 Disposal instrucons
Electrical and electronic devices may only be disposed of in accordance with the
European WEEE Direcve and not with household rubbish. Components must be
disposed of or recycled separately as dangerous, toxic elements can inict sus-
tained damage on the environment if they are disposed of incorrectly. As a con-
sumer, you are bound by the Electrical and Electronic Devices Act (ElektroG) to
return electrical and electronic goods free of charge at the end of their useful life
to the manufacturer, the place of purchase or to specially set up, public collecon
points. The details in each case are governed by naonal law. The symbol on the
product, the operang instrucons and/or the packaging refers to these regula-
ons. By separang materials in this way, recycling and disposing of old devices,
you are making an important contribuon towards protecng our environment.
6 Instrucons on the disposal of baeries
With regard to the sale of baeries or the supply of devices containing baeries,
the supplier is obliged to draw the customer’s aenon to the following:
As the end user, the customer has a statutory obligaon to return used baeries.
He can return old baeries stocked or previously stocked by the supplier in the
form of new baeries to the supplier’s despatch warehouse (despatch address)
free of charge. The symbols shown on the baeries have the following meanings:
Pb = baery contains more than 0.004 percent by mass of lead, Cd = baery con-
tains more than 0.002 percent by mass of cadmium, Hg = baery contains more
than 0.0005 percent by mass of quicksilver.
The symbol of the rubbish bin with a cross through it indi-
cates that the baery may not be put in household waste.

10 English
WEEE guideline: 2012/19/EU
WEEE register number: DE 94495668
WD Plus GmbH, herewith declares that this product 302559/20160920SZ166
conforms to the principle requirements and other relevant spulaons. The
complete Declaraon of Conformity can be obtained from: WD Plus GmbH,
Wohlenbergstraße 16, 30719 Hanover
Table des matières
Langues :
Autres manuels BEARWARE Accessoires






















