
10
1.11.1 Activating the AV Pass Through function
To activate the AV Pass Through function for an available high-level input (13,15), first select
the desired input with the source selector (3) in normal operating mode. Then switch the unit
to stand-by mode with the on/off button. Then keep the LEVEL button (7) pressed while
switching on the unit with the on/off button (1). Wait a short moment until the starting process
is completed. During the startup process, the name of the selected input is shown on the left
side of the display and a hint to the selected mode is shown on the right side.
FIX = AV Pass Through function is activated (fixed output level)
VAR = AV Pass Through is disabled (variable output level)
To activate the AV Pass Through function for another high-level input (13,15), select the
desired input with the source selector (3) and repeat the procedure described above.
NOTE: When the AV Pass Through function is activated, the right part of the display shows
FIX instead of a volume value. Please note that when the AV Pass Through function is
activated, the volume control (9), BASS button (4), TREBLE button (5), LEVEL button (7) and
BALANCE button (8) have no function. When one of these controls is pressed, the FIX indicator
flashes briefly - but the corresponding function is only available again after deactivating the AV
Pass Through function (see following section).
1.11.2 Disabling the AV Pass Through function
The AV Pass Through function remains active even after the power is turned off for a selected
high-level input. To deactivate the AV Pass Through function, first select the desired high-level
input with the source selector (3) in normal operating mode. Then switch the unit to stand-by
mode with the power button. Now hold down the LEVEL button (7) while you switch on the unit
with the on/off button (1). Wait a short moment until the starting process is completed. During
the startup process, the name of the selected input is shown on the left side of the display and
a hint to the selected mode is shown on the right side. When the display VAR appears instead
of FIX, the AV Pass Through function is disabled for the selected high-level input.
To deactivate the AV Pass Through function for another high-level input, select the desired
input with the source selector (3) and repeat the procedure described above.
NOTE: To deactivate the AV Pass Through function of several high-level inputs with one
keystroke, you can also use the RESET function (see section 2.9). However, please note that
a reset will reset the entire device to its factory settings.
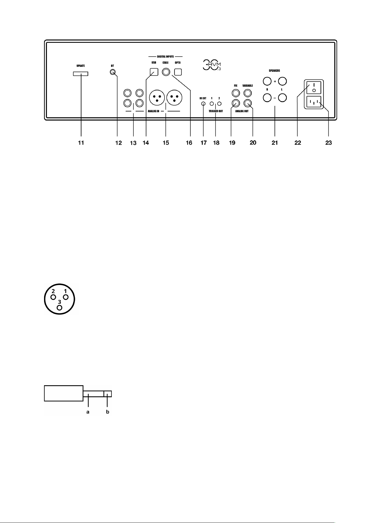
1.12 Connecting speakers
The speaker outputs of the A 30.3 are equipped with high-quality speaker terminals for cable
lugs or bare cables. To connect loudspeakers, cables with corresponding connectors are
needed. These are connected to the speaker outputs (21) of the A 30.3. Only use speaker
cables of good quality and sufficient cross-section for connecting the speakers. Ask your dealer
to recommend the cable with the best sound quality for your speaker.