ARTHUR MARTIN ASF5206LOW Mode d’emploi

CONTENTS
Safety information 2
Safety instructions 3
Product description 5
Control panel 6
Programmes 7
Settings 7
Before first use 9
Daily use 11
Hints and tips 12
Care and cleaning 14
Troubleshooting 15
Technical information 19
Subject to change without notice.
SAFETY INFORMATION
Before the installation and use of the appliance, carefully
read the supplied instructions. The manufacturer is not
responsible for any injuries or damages that are the result of
incorrect installation or usage. Always keep the instructions
in a safe and accessible location for future reference.
Children and vulnerable people safety
•This appliance can be used by children aged from 8 years
and above and persons with reduced physical, sensory or
mental capabilities or lack of experience and knowledge if
they have been given supervision or instruction concerning
the use of the appliance in a safe way and understand the
hazards involved.
•Children between 3 and 8 years of age and persons with
very extensive and complex disabilities shall be kept away
unless continuously supervised.
•Children of less than 3 years of age should be kept away
unless continuously supervised.
•Do not let children play with the appliance.
•Keep detergents away from children.
•Keep children and pets away from the appliance when the
door is open.
•Children shall not carry out cleaning and user maintenance
of the appliance without supervision.
2

General Safety
•This appliance is intended to be used in household and
similar applications such as:
–farm houses; staff kitchen areas in shops, offices and
other working environments;
–by clients in hotels, motels, bed & breakfast and other
residential type environments.
•Do not change the specification of this appliance.
•The operating water pressure (minimum and maximum)
must be between 0.5 (0.05) / 8 (0.8) bar (MPa)
•Obey the maximum number of 13 place settings.
•If the supply cord is damaged, it must be replaced by the
manufacturer, its Authorised Service Centre or similarly
qualified persons in order to avoid a hazard.
•Put the cutlery in the cutlery basket with the sharp ends
pointing down or put them in the cutlery drawer in a
horizontal position with the sharp edges down.
•Do not leave the appliance with the open door unattended
to avoid stepping accidentally onto it.
•Before any maintenance operation, deactivate the
appliance and disconnect the mains plug from the socket.
•Do not use high pressure water sprays and/or steam to
clean the appliance.
•If the appliance has ventilation openings in the base, they
must not be covered e.g. by a carpet.
•The appliance is to be connected to the water mains using
the new supplied hose-sets. Old hose sets must not be
reused.
SAFETY INSTRUCTIONS
Installation
WARNING! Only a qualified
person must install this
appliance.
• Remove all the packaging.
• Do not install or use a damaged
appliance.
• Do not install or use the appliance
where the temperature is less than 0
°C.
• Follow the installation instructions
supplied with the appliance.
• Always take care when moving the
appliance as it is heavy. Always use
safety gloves and enclosed footwear.
3

Electrical connection
WARNING! Risk of fire and
electric shock.
• The appliance must be earthed.
• Make sure that the parameters on the
rating plate are compatible with the
electrical ratings of the mains power
supply.
• Always use a correctly installed
shockproof socket.
• Do not use multi-plug adapters and
extension cables.
• Make sure not to cause damage to the
mains plug and to the mains cable.
Should the mains cable need to be
replaced, this must be carried out by
our Authorised Service Centre.
• Connect the mains plug to the mains
socket only at the end of the
installation. Make sure that there is
access to the mains plug after the
installation.
• Do not pull the mains cable to
disconnect the appliance. Always pull
the mains plug.
• This appliance complies with the E.E.C.
Directives.
• UK and Ireland only. This appliance is
fitted with a 13 A mains plug. If it is
necessary to change the mains plug
fuse, use only a 13 A ASTA (BS 1362)
fuse.
Water connection
• Do not cause damage to the water
hoses.
• Before connection to new pipes, pipes
not used for a long time, where repair
work has been carried out or new
devices fitted (water meters, etc.), let
the water flow until it is clean and clear.
• Ensure that there are no visible water
leaks during and after the first use of
the appliance.
• If the water inlet hose is damaged,
immediately close the water tap and
disconnect the mains plug from the
mains socket. Contact the Authorised
Service Centre to replace the water
inlet hose.
Use
• Do not sit or stand on the open door.
• Dishwasher detergents are dangerous.
Obey the safety instructions on the
detergent packaging.
• Do not drink and play with the water in
the appliance.
• Do not remove the dishes from the
appliance until the programme is
complete. Some detergent may remain
on the dishes.
• The appliance can release hot steam if
you open the door while a programme
operates.
• Do not put flammable products or items
that are wet with flammable products
in, near or on the appliance.
Service
• To repair the appliance contact an
Authorised Service Centre.
• Use original spare parts only.
Disposal
WARNING! Risk of injury or
suffocation.
• Disconnect the appliance from the
mains supply.
• Cut off the mains cable and discard it.
• Remove the door catch to prevent
children and pets to get closed in the
appliance.
4

PRODUCT DESCRIPTION
54
8
10 9
11 67
12
23
1
1Worktop
2Upper spray arm
3Lower spray arm
4Filters
5Rating plate
6Salt container
7Air vent
8Rinse aid dispenser
9Detergent dispenser
10 Cutlery basket
11 Lower basket
12 Upper basket
5

CONTROL PANEL
1 2 3
456
1On/off indicator
2Programme marker
3Indicators
4Delay button
5Start button
6Programme knob
Indicators
Indicator Description
Washing phase. It comes on when the washing phase operates.
Drying phase. It comes on when the drying phase operates.
End indicator.
Rinse aid indicator. It is always off while the programme operates.
Salt indicator. It is always off while the programme operates.
6

PROGRAMMES
Programme Degree of
soil
Type of load
Programme
phases
Consumption values
1)
Dura‐
tion
(min)
Energy
(kWh)
Water
(l)
2)
Normal soil
Crockery and
cutlery
• Pre-wash
• Wash 50 °C
• Rinses
• Dry
227 1.039 11
Heavy soil
Crockery, cut‐
lery, pots and
pans
• Pre-wash
• Wash 70 °C
• Rinses
• Dry
155 -
170
1.5 - 1.7 14 - 15
Normal soil
Crockery and
cutlery
• Pre-wash
• Wash 65 °C
• Rinses
• Dry
130 -
140
1.4 - 1.6 15 - 17
3)
Fresh soil
Crockery and
cutlery
• Wash 60 °C
or 65 °C
• Rinses
30 0.8 10
4)
All • Pre-wash 14 0.1 5
1) The pressure and the temperature of the water, the variations of the mains supply, the options and the quantity
of dishes can change the values.
2) With this programme you have the most efficient use of water and energy consumption for crockery and cutlery
with normal soil. (Also, it is a standard programme for test institutes).
3) With this programme you can wash a load with fresh soil. It gives good washing results in a short period of
time.
4) Use this programme to quickly rinse the dishes and to prevent the food remains from drying out on the dishes
and to reduce bad odour coming out from the appliance. Do not use detergent with this programme.
Information for test institutes
For all the necessary information for test
performance, send an email to:
Write down the product number (PNC)
that is on the rating plate.
SETTINGS
Programme selection mode and
user mode
When the appliance is in programme
selection mode it is possible to set a
programme and to enter the user mode.
Settings available in the user mode:
• The level of water softener according to
the water hardness.
• Activation or deactivation of AirDry.
7

As the appliance stores the saved
settings, there is no need to configure
it before every cycle.
How to set the programme
selection mode
The appliance is in programme selection
mode when the on/off indicator is on and
Départ indicator flashes.
After activation, the appliance is in
programme selection mode by default. If
not, set the programme selection mode
the following way:
Press and hold simultaneously Départ
and Départ Différé until the appliance is
in programme selection mode.
The water softener
The water softener removes minerals from
the water supply, which would have a
detrimental effect on the washing results
and on the appliance.
The higher the content of these minerals,
the harder your water is. Water hardness
is measured in equivalent scales.
The water softener should be adjusted
according to the hardness of the water in
your area. Your local water authority can
advise you on the hardness of the water in
your area. It is important to set the right
level of the water softener to assure good
washing results.
Water hardness
German de‐
grees (°dH)
French de‐
grees (°fH)
mmol/l Clarke de‐
grees
Water softener
level
47 - 50 84 - 90 8.4 - 9.0 58 - 63 10
43 - 46 76 - 83 7.6 - 8.3 53 - 57 9
37 - 42 65 - 75 6.5 - 7.5 46 - 52 8
29 - 36 51 - 64 5.1 - 6.4 36 - 45 7
23 - 28 40 - 50 4.0 - 5.0 28 - 35 6
19 - 22 33 - 39 3.3 - 3.9 23 - 27 5
1)
15 - 18 26 - 32 2.6 - 3.2 18 - 22 4
11 - 14 19 - 25 1.9 - 2.5 13 - 17 3
4 - 10 7 - 18 0.7 - 1.8 5 - 12 2
<4 <7 <0.7 < 5 1
2)
1) Factory setting.
2) Do not use salt at this level.
Whether you use a standard detergent
or multi-tabs (with or without salt), set
the proper water hardness level to keep
the salt refill indicator active.
Multi-tabs containing salt are
not effective enough to soften
hard water.
How to set the water softener
level
The appliance must be in programme
selection mode.
1. Make sure that the programme marker
on the knob is in on/off position.
8

2. To enter the user mode, press and
hold Départ Différé. At the same time
turn the knob counterclockwise until
the programme marker indicates the
first programme. Release the Départ
Différé when the indicators Départ
and on/off start flashing.
• The intermittent flashing of
shows the current setting, e.g. 5
flashes + pause + 5 flashes = level
5.
3. Press Départ Différé repeatedly to
change the setting. Each pressing of
Départ Différé increases the level
number. After reaching level 10, the
count starts again from level 1.
4. To confirm the setting, turn the
programme knob until the programme
marker is again in on/off position
AirDry
AirDry improves the drying results with
less energy consumption.
During the drying phase, the
door opens automatically and
remains ajar.
CAUTION! Do not try to close
the appliance door within 2
minutes after automatic
opening. This can cause
damage to the appliance.
AirDry is automatically activated with all
programmes excluding (if applicable).
CAUTION! If children have
access to the appliance, it is
advised to deactivate AirDry as
opening the door may pose a
danger.
How to deactivate AirDry
The appliance must be in programme
selection mode.
Make sure that the programme marker on
the knob is set to on/off position.
1. To enter the user mode, press and
hold Départ Différé. At the same time
turn the knob counterclockwise until
the programme marker indicates the
first programme. Release Départ
Différé when the indicators Départ
and on/off start flashing.
2. Turn the knob counterclockwise until
the programme marker indicates the
second programme.
• The indicator shows the current
setting: on = AirDry is activated.
3. Press Départ Différé to change the
setting.
• If the indicator is off = AirDry is
deactivated.
4. To confirm the setting, keep turning
the programme knob until the
programme marker is back in the
on/off position.
BEFORE FIRST USE
1. Make sure that the current level of
the water softener agrees with the
9

hardness of the water supply. If not,
adjust the level of the water
softener.
2. Fill the salt container.
3. Fill the rinse aid dispenser.
4. Open the water tap.
5. Start a programme to remove any
processing residuals that can still be
inside the appliance. Do not use
detergent and do not load the baskets.
After starting a programme, it may take up
to 5 minutes for the appliance to recharge
the resin in the water softener. It seems
that the appliance is not working. The
washing phase starts only after this
procedure is completed. The procedure is
repeated periodically.
The salt container
CAUTION! Use rough salt
designed for dishwashers only.
Fine salt increases the risk of
corrosion.
The salt is used to recharge the resin in
the water softener and to assure good
washing results in daily use.
How to fill the salt container
1. Turn the cap of the salt container
counterclockwise and remove it.
2. Put 1 litre of water in the salt container
(only for the first time).
3. Fill the salt container with 1 kg of salt
(until it is full).
4. Carefully shake the funnel by its
handle to get the last granules inside.
5. Remove the salt around the opening of
the salt container.
6. Turn the cap of the salt container
clockwise to close the salt container.
CAUTION! Water and salt can
come out of the salt container
when you fill it. After you fill the
salt container, immediately
start a programme to prevent
corrosion.
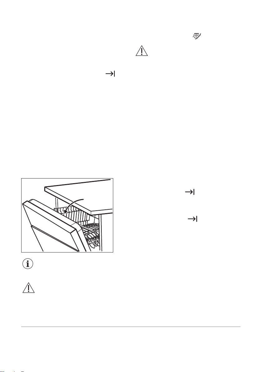
How to fill the rinse aid
dispenser
AB
D
C
M
A
X
1
2
3
4
+
-
AB
D
C
CAUTION! Only use rinse aid
specifically designed for
dishwashers.
10
Ce manuel convient aux modèles suivants
1
Table des matières
Langues :
Autres manuels ARTHUR MARTIN Lave-vaisselle

ARTHUR MARTIN
ARTHUR MARTIN ASL5368LA Manuel utilisateur

ARTHUR MARTIN
ARTHUR MARTIN ASL5341LA Manuel utilisateur

ARTHUR MARTIN
ARTHUR MARTIN ASF5512LOX Manuel utilisateur

ARTHUR MARTIN
ARTHUR MARTIN ASI5545LOX Manuel utilisateur

ARTHUR MARTIN
ARTHUR MARTIN ASL5346LA Manuel utilisateur

ARTHUR MARTIN
ARTHUR MARTIN ASA22100SX Manuel utilisateur

ARTHUR MARTIN
ARTHUR MARTIN ASF4513LOX Manuel utilisateur

ARTHUR MARTIN
ARTHUR MARTIN ASF8645ROX Manuel utilisateur

ARTHUR MARTIN
ARTHUR MARTIN ASF9500LOX Manuel utilisateur


















