AMP mambo Manuel utilisateur

This information is for guidance and applies to the standard 180 watt guitar combo.
Specification
•500 Watt rms continuous power rating, 250 Watt rms with the internal speaker, plus an
additional 250 watt rms when used with an external 8 Ohm loudspeaker, an r.m.s. limiter
prevents power amplifier overdrive while allowing loud transients to e faithfully reproduced.
•24 it digital rever , with depth and delay-time controls
•hand-made irch ply ca inet
•two guitar input jacks ,
•line level input (3.5mm stereo jack) for MP3 / CD etc.
•headphone output (3.5mm stereo jack)
•European (230 V) or US (115V) mains voltage (specify when ordering)
Size and weight (approx.)
•12" - 12.1 kg, 36 y 36 y 30 cm
•10" - 8.1 kg, 31 y 31 y 25 cm
•8" - 7.3 kg, 27 y 27 y 23 cm

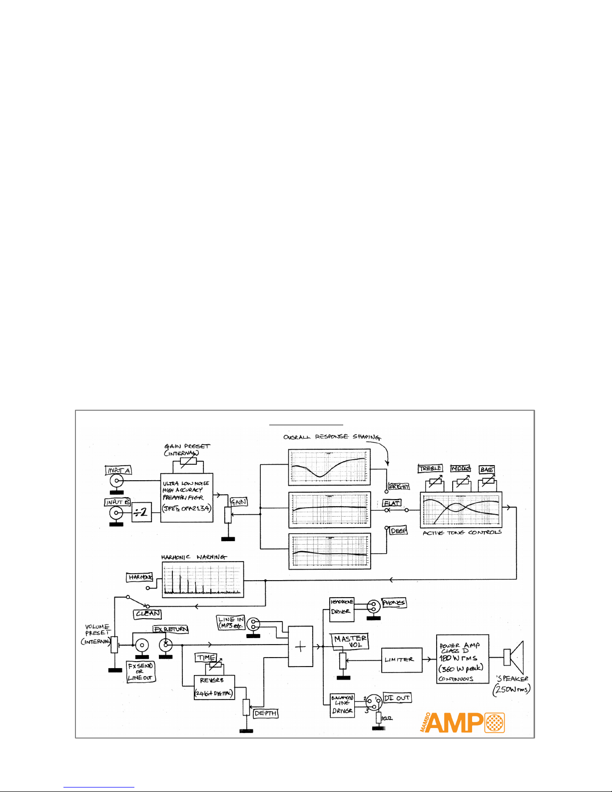
Inputs and controls
•two guitar input jacks, normal (A) and low gain (B)
use the normal input for most guitars, use the low gain input for very high output guitars
or other signal sources. Both inputs can e used at the same time, in which case they
automatically switch to normal gain. Useful if you use two guitars on stage, or for
teaching etc.
•gain
adjust to taste, at higher gains the harmonic setting will have more effect, in a similar
way to a valve preamp. As a starting point set to 12 O'clock. On the harmonic setting it is
possible to overdrive the preamp slightly with high gain settings when playing loud, This is deliberate, but if you
want a cleaner sound, turn the gain down, or use the clean setting.
•tre le
•middle
•ass
•power on LED
•headphone out ; stereo 3.5mm jack
when using headphones, turn the master volume down to zero to mute the loudspeaker
•line in ; stereo 3.5mm jack, for mp3 /cd etc
•right / normal / deep ; 3 way switch
the normal setting has a fairly flat frequency response
deep setting is similar to normal, ut has slightly more ass and less tre le
right has a deep mid-scoop and some tre le oost, similar to a Fender AB763

•clean / harmonic ; 2 way switch
the clean setting is pure and clean, very high headroom
the harmonic setting is similar to a valve preamp, turning the guitar up and playing
harder will produce more dynamic overtones. Use the gain control and guitar volume
to get the est of this to suit your taste. High gain settings will produce mild overdrive
on loud notes.
•master volume
the main volume control
•rever depth
set the amount of rever
•rever time
set the rever time, ( room size / dwell )
•effects send ; 1/4" mono jack
line level output, taken efore the rever and master volume
can also e used as a line out
•effects return ; 1/4" mono jack
line level input
•direct out ; 3 pin male XLR
alanced output, taken after the rever is added, and efore the master volume control
The output level here is affected y the gain control, ut not affected y master volume.
Block diagram

Using the Mambo Amp for the first time.
This guidance is for first time users, just to get started and note some important points.
•Plug in to the mains and switch on.
•After a few seconds the green light will come on.
•Set the gain control to 12 O clock.
•Set the bass, middle and treble controls to 12 O clock.
•Set the master volume to zero.
•Plug your guitar into input A
•Turn your guitar volume up full.
•Play loudly and turn up the master volume to the required maximum loudness.
•Adjust the tone controls and reverb etc. to your taste
•Use the guitar volume to control the overall loudness.
Some points worth noting;
On the harmonic setting it is possible to overdrive the preamp slightly with high gain settings when playing loud, This is
deliberate, but if you want a cleaner sound, turn the gain down, or use the clean setting.
Use the tone switch to select the best overall tone for your preference. The bright setting has a Fender style sound, the deep
setting is more like a Polytone.
The green light flashes for a few seconds after turning on the power. This is normal. The power amplifier is checking mains voltage
and loudspeaker impedance during this interval.
After turning on the power the volume turns up gradually, taking a few seconds to reach normal volume. This is the soft-start
feature and is correct operation. To protect ears and loudspeakers.
To use the headphone socket, turn the master volume control to zero. The loudspeaker is not automatically muted when you plug
the headphones in. This is to remove the common problem of loudspeaker mute-switch failure.
There are two guitar inputs, input A is normal, input B has a dB pad, i.e. half gain. Use input A with most guitars. Some active
guitars and pedals may benefit from using the low gain input B. If plugging in two guitars at the same time both sockets automatically
switch to normal. i.e. they are identical if used simultaneously.
Using the Mambo Amp with an extension speaker
The extension speaker socket is provided to allow the use of a separate speaker cabinet either on it s own, or at the same time
as the internal speaker. total speaker impedance must be 4 Ohms or greater,
The rocker switch near the extension speaker socket switches the internal speaker on / off. If you are not using an extension
speaker and the amp is silent, check the switch hasn t been switched off by mistake !
The power amplifier is rated for two 8 Ohm loads in parallel, e.g. 250 Watts rms, for the internal 8 Ohm speaker, plus an additional
250 Watts rms for an external 8 Ohm speaker. Be sure your external speaker is 8 Ohms or more, and can handle the power. You can
use a 4 Ohm external speaker cabinet ONLY if the internal speaker is switched off.

Electrical afety
Mambo amp electrical safety. Important please read carefuly.
This amplifier is designed and manufactured in accordance with European electrical safety requirements for domestic appliances for use
indoors in a dry environment. Specifically the Low Voltage Directive (LVD) 2006/95/EC
In order to continue the intended level of safety, observe sensible precautions and please note the following points;
•Use only with an earthed (3 pin) socket outlet. THI UNIT MU T BE EARTHED.
•Do not use outdoors or in wet or damp environment.
•Protect from moisture, excessive heat or physical damage.
•Switch off and unplug when not in use or when unattended.
•Select the correct operating voltage for your locality using the rotary switch near the power inlet on the rear panel.
•Always use the correct fuse.
There is a fuse fitted to the electrical inlet of the amplifier. Make sure the correct fuse is fitted. Never replace with a fuse with a higher
Amp rating.
Correct fuse ratings for the 180W rms mambo amp are;
for 230V a.c. operation use a 1 Amp time-delay (T) fuse
for 115V a.c. operation use a 2 Amp time-delay (T) fuse
Mains power cable colour coding
The cable supplied uses European colour coding;
blue = neutral
brown = live (aka hot or active)
green/yellow = earth. (aka ground)
The equivalent USA colour coding is Black = Live White = Neutral Green = Earth
Australian colour coding is usually the same as European.
Use an RCD whenever possible to reduce the risk of electrical shock from musical instruments.
Table des matières
Autres manuels AMP Amplificateur


























