
– 1 –
- SUPPLEMENT TO LEF INSTRUCTIONS -
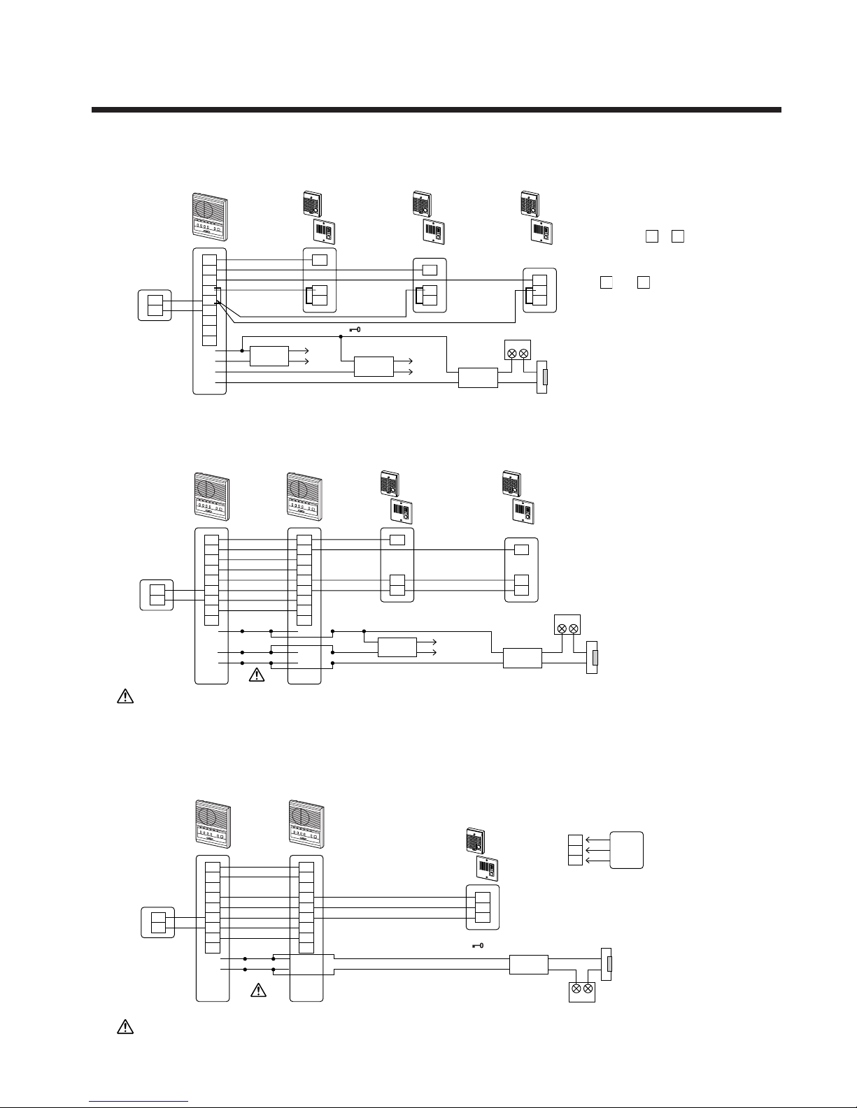
The LEF-3L is a compact, wall or desk mount master station able to selectively release a door or call up a camera.
Used with any LE-(except LEF-3,5 and 10) or LS-series (North America only) remote station, communication can be
established with each station by selecting the channel on the master station. While the channel is selected, pressing
the door release button (left of TALK button) will release only the associated door. When used for camera call-up, a relay
closure will be maintained as long as a station is selected. The system can have up to four stations, in any combination of
masters or door stations (e.g. 2 masters and 2 doors). Master-to-master communication is also a standard feature.
(If communication between masters is not required, multiple LEF-3L's can be used to talk to 3 door stations.)
PRECAUTIONS
WARNING
(Negligence could result in death or serious injury.)
1. Do not dismantle or alter the unit. Fire or electric shock could result.
2. Do not connect any non-specified power source to the +, - terminals, and do not install two power supplies in
parallel to a single input. Fire, damage to the unit, or system malfunction could result.
3. Keep the unit away from water or any other liquid. Fire or electric shock could result.
4. When existing chime wires are used, it is possible that they contain AC voltage. Electric shock or unit damage
could result. Ask a qualified technician.
5. Do not use DC power supply with a voltage other than specified. Fire or electric shock could result.
CAUTION
(Negligence could result in injury or damage to property.)
1. Before turning on the power, make sure wires are not crossed or shorted. Fire or electric shock could result.
2. When mounting the unit on wall, install the unit in a convenient location, but not where it could be jarred or
bumped. Injury could result.
3. For DC powered systems, use Aiphone power supply model specified with system. If non-specified product is
used, fire or malfunction could result.
4. Do not install or make any wire terminations while power supply is plugged in. It can cause electrical shock or
damage to the unit.
5. In case of electrical storms, unplug the unit from AC outlet. If not, fire or electric shock could result.
6. Do not install the unit in any of the following locations. Fire, electric shock, or unit trouble could result.
* Places under direct sunlight, or near heating equipment that varies in temperature.
* Places subject to dust, oil, chemicals, hydrogen sulfide (hot spring).
* Places subject to moisture and humidity extremes, such as bathroom, cellar, greenhouse, etc.
* Places where the temperature is quite low, such as inside a refrigerated area or in front of air-conditioner.
* Places subject to steam or smoke (near heating or cooking surfaces).
* Where noise generating devices such as dimmer switches, invertor electrical appliances, are closeby.
7. Do not install the unit in a location subject to constant vibration or impact. If dropped, injury or unit damage
could result.
GENERAL PRECAUTIONS
1. Keep the unit more than 1 m (3.3') away from Radio or TV set.
2. In areas where broadcasting station antennas are close by, the intercom system may be affected by radio
frequency interference.
3. The unit will be inoperative during a power outage.
4. This unit is for indoor use only. Do not use outdoors.
LEF-3L
3-Call Master Station with Selective Control Capability (Door Release or Camera Call-up)
Used with LE-D, LE-DA, LE-DL, LS-NVP/C Door Stations
P0015311A0109Y
General Prohibitions Prohibition on Subjecting the Unit to Water
Prohibition to Dismantle the Unit General Precautions
aiphonee.indd1 09.2.17,2:13:51PM