
44234 600 AND 4234 601 | KATHAROMETER POWER SUPPLY UNITS | IM/4234600 REV. E
1 Document symbols
Symbols that appear in this document are explained below:
WARNING – BODILY INJURY
This symbol in conjunction with the signal word
‘WARNING’ indicates a potential electrical hazard.
Failure to observe this safety information will result in
death or severe injury.
CAUTION – MINOR INJURIES
This symbol in conjunction with the signal word
‘CAUTION’ indicates a potentially dangerous
situation. Failure to observe this safety information
may result in minor or moderate injury. The symbol
may also be used for property damage warnings.
IMPORTANT (NOTE)
This symbol indicates operator tips, particularly
useful information or important information about
the product or its further uses. The signal word
‘IMPORTANT (NOTE)’ does not indicate a dangerous
or harmful situation.
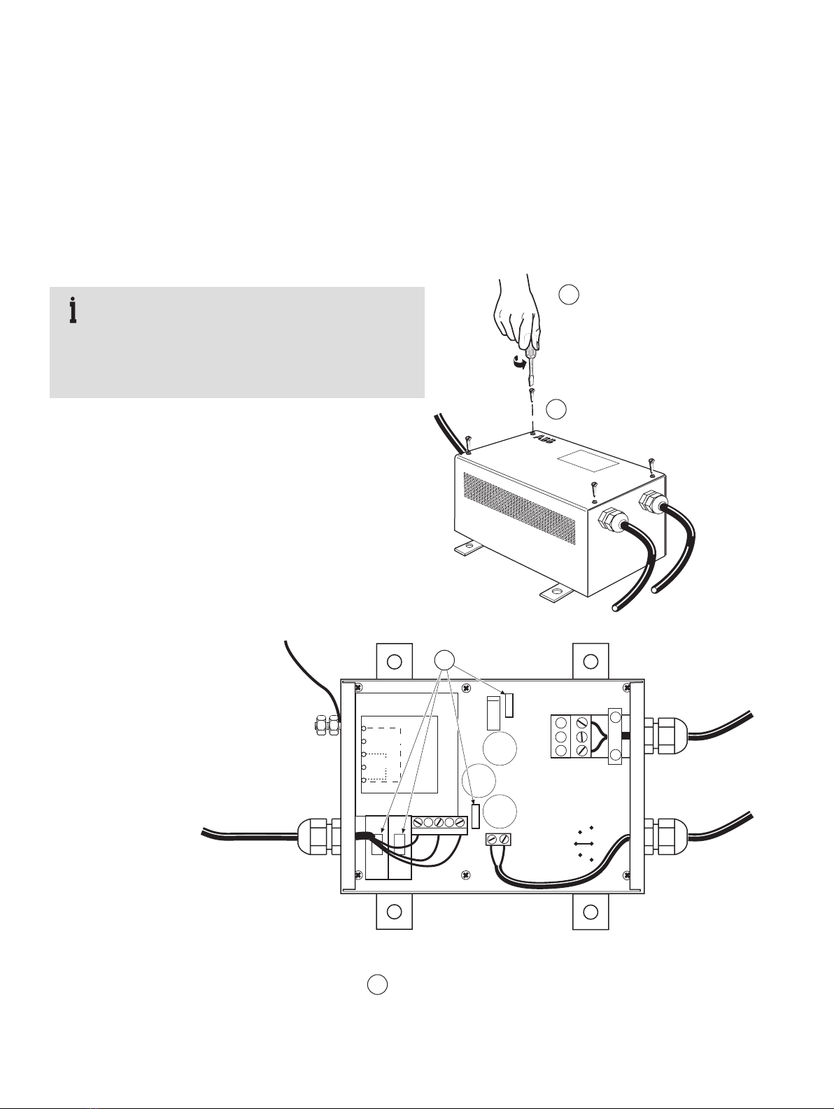
2 Description
The PSU is available in two separate versions defined in
Specification on page 5.
The unit is housed in a metal case fitted with mounting lugs.
Cable gland entries are provided at opposite ends of the case
for supply voltage input and output cables respectively.
A printed circuit board assembly (see Figure 1) contains the
circuit components. The supply voltage input is connected to
terminal block (TB1) located on the pcb, adjacent to the fuses
F2 and F3. The constant current output terminal block (TB2) is
located on the gland assembly at the opposite end of the
assembly. The auxiliary 10 V output terminal block (AUX 10V) is
located on the PCB near to TB1. The pcb is mounted on a steel
chassis and secured by six screws. The cover is perforated to
allow ventilation for cooling.
IMPORTANT (NOTE)
The PSU has NO serviceable parts.
Two identical fuses (L & N) are mounted within the unit on the
mains input. A third fuse is connected in the DC line circuit of
the transformer. A fourth fuse is connected in the auxiliary
10 V DC line. The L & N fuses are a high breaking capacity type
and must be replaced only with identical types. See
Specification on page 5 for rating.
TB1
T1
LNE
F2 F3
6
8
10
230 V
115 V TB2
F1
BA
CX
DE
M5 earth stud
Output
current
links
DC output to
katherometer
Cable gland for
10 V output to
katherometer
Cable gland for
AC mains input Mains input
terminal block
DC output
terminal block
Fuses
∅ 5 to 9 mm
cables
∅ 5 to 9 mm
cable F4
AUX 10V
+–
Red
Black
–
+
WARNING. HAZARDOUS VOLTAGES
There are no serviceable parts in
this unit.
If faulty, return to the manufacturer
or seek the services of a qualified
engineer.
Ensure the mains supply is
switched off and disconnected
before removing the cover.
Figure 1 Location of internal components